| CATEGORII DOCUMENTE |
| Demografie | Ecologie mediu | Geologie | Hidrologie | Meteorologie |
Roci colectoare, roci protectoare
1. Caracteristici generale ale rocilor de zacamant
Zacamintele de hidrocarburi reprezinta acumulari naturale de hidrocarburi eficient exploatabile. Din punct de vedere fizic ele sunt sisteme complexe alcatuite din rocile de zacamant si fluidele care le satureaza. Existenta acumularilor este conditionata de o anumita configuratie a stratelor, adica de existenta capcanelor [1, 2, 3, 4]. Rocile de zacamant cuprind roci colectoare si roci protectoare.
Rocile care inmagazineaza cantitati industriale de hidrocarburi se numesc roci colectoare, magazin sau rezervor. Ele trebuie sa aiba o porozitate cat mai mare care sa le asigure o buna capacitate de inmagazinare. La aceasta trebuie sa se adauge o extindere mare a zacamantului, pentru ca resursa geologica sa fie suficient de mare spre a justifica investitiile enorme pe care le presupune punerea in valoare a acumularii. Dupa o clasificare conventionala, orientativa, colectoarele cele mai bune sunt considerate cele cu porozitate mai mare de 15%, iar cele mai slabe cele cu porozitatea mai mica de 5%.
O a doua proprietate implicata este permeabilitatea, care trebuie sa fie suficient de mare ca sa permita obtinerea unor debite de extractie competitive.
Cele doua caracteristici ale rocilor colectoare trebuie sa coexiste.
Unele roci, cum sunt argilele, au o porozitate mare, dar au o permeabilitate pentru hidrocarburi nula sau nesemnificativa. Acestea nu pot fi roci colectoare.
Rocile protectoare delimiteaza zacamantul, partial sau total, in functie de tipul capcanei, si au rolul de a impiedica migrarea hidrocar-
burilor catre o alta capcana sau catre suprafata. Desi prezinta un interes limitat pentru ingineria de zacamant, rocile protectoare vor fi studiate impreuna cu cele colectoare, sub denumirea comuna de roci de zacamant. Diferentierile vor rezulta in mod explicit sau implicit, din context. De altfel, in sens restrans, zacamantul de hidrocarburi se limiteaza numai la spatiul ocupat de roca colectoare.
Petrolul (in acceptiunea lui generica de sistem natural de hidrocarburi - titei, gaze sau gaze cu condensat) este generat si acumulat in rocile sedimentare. Chiar daca sunt cunoscute acumulari, chiar zacaminte de petrol, in roci eruptive sau metamorfice, ele se afla in imediata apropiere a unor roci sedimentare unde petrolul a luat nastere si de unde a migrat.
Petrolul nu are legatura cu un orizont stratigrafic anume. Se gasesc zacaminte in toate orizonturile pe scara stratigrafica, de la cambrian la pliocen. Pe langa petrol, rocile colectoare contin apa libera, intr-o masura mai mare sau mai mica si care limiteaza volumul de acumulare a hidrocarburilor. Este necesar ca saturatia in petrol sa fie suficient de mare, mult peste valoarea de 50%.
2. Tipuri de roci de zacamant
Rocile colectoare sunt foarte diverse din punct de vedere mine-ralogic si petrografic. Sunt doua tipuri principale de roci colectoare: rocile detritice si rocile de precipitatie, cu precadere carbonatice.
Rocile detritice (nisipuri, gresii si, sporadic, microconglomerate, marne fisurate s.a.) formeaza cea mai mare parte a zacamintelor cunoscute, aproximativ 62% din numarul lor, si contin aproximativ 59% din resursele mondiale de hidrocarburi.
Rocile de precipitatie (calcare si dolomite fisurate si cavernoase si, foarte rar, brecii), sunt ceva mai putin abundente si, probabil, mai putin explorate. Ele formeaza aproximativ 32% din zacamintele cunoscute, dar contin aproximativ 40% din resurse. Este usor de observat ca zacamintele din rocile carbonatice sunt de dimensiuni mai mari decat zacamintele din rocile detritice, cel putin din punctul de vedere al resurselor continute. O contributie insemnata o au zacamintele gigant din Orientul Mijlociu si din Zona Marii Caspice.
Alte roci colectoare, evaporite, silexite, roci vulcanice si meta-morfice, sunt de importanta mica. Ele contin doar cca 1% din resursele de hidrocarburi, desi reprezinta aproximativ 6% din numarul lor total.
Cu toate ca nu constituie propriu-zis o roca colectoare, se pot cita aici si carbunii care contin, uneori, cantitati insemnate de gaze. In masura in care resursa de gaze acumulate este suficient de mare si exista posibilitati de valorificare, aceste gaze pot fi exploatate prin metode specifice [5].
Rocile protectoare, impermeabile pentru hidrocarburi (ceea ce nu insemneaza ca au o permeabilitate nula si pentru apa) sunt si ele foarte diverse. Cele mai frecvente roci protectoare sunt argilele, marnele, anumite roci carbonatice si evaporitele.
Rocile argiloase, marnele si sisturile
argiloase au un con inut mare
de minerale argiloase, formate din particule cu dimensiuni foarte mici (sub
), cu o asezare
foarte compacta, datorita formei plate si a plasticita ii lor. Ele reprezinta cvasitotalitatea rocilor
protectoare in seriile detritice. Calitatea de roci protectoare scade cu
cresterea conti-nutului in carbonati si nisip. Rocile
carbonatice pot fi roci protectoare daca sunt compacte, lipsite de fisuri
sau caverne, iar prezenta marnelor si argilelor este
semnificativa. Evaporitele, in special anhidritul, sunt roci
protectoare asociate cu zacamintele din rocile carbonatice. Pe
langa o compozitie mineralogica specifica, etansarea
presupune si o grosime suficienta a stratelor.
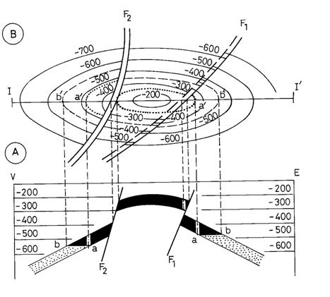
Stratigrafia, tectonica si dimensiunea zacamintelor de hidrocarburi sunt foarte diverse. In figura 1 este prezentata imagi-nea unui zacamant de titei de forma unei bolte, compartimentat de falii etanse care formeaza mai multe unitati hidrodinamice. Pe sectiunea verticala A este consemnat numai spatiul ocupat de roca colectoare. Ea este inconjurata, evident, de rocile protectoare. Rol protector joaca si apa din acvifer care delimiteaza zacamantul la partea inferioara.
Trebuie mentionat ca, desi nu apare pe figura, asa cum s-a aratat mai sus, hidrocarburile sunt totdeauna insotite de cateva zeci de procente de apa ireductibila, cu care coexista in zona de deasupra limitei apa-titei sau apa-gaze.

Fig. 1. Zacamant stratiform de bolta compartimentat de falii etanse:
A. Sectiune verticala I - I'. B. Proiectie in plan orizontal.
F2, F1 - falii; a-b - limita apa-titei.
Observatiile referitoare la rocile zacamintelor de hidrocarburi sunt valabile si pentru celelalte zacaminte de substante minerale utile fluide: ape minerale, ape geotermale, dioxid de carbon etc.
Intrebari si probleme
|
Politica de confidentialitate | Termeni si conditii de utilizare |
Vizualizari: 2957
Importanta: ![]()
Termeni si conditii de utilizare | Contact
© SCRIGROUP 2025 . All rights reserved