Scrigroup - Documente si articole

     

HomeDocumenteUploadResurseAlte limbi doc
AccessAdobe photoshopAlgoritmiAutocadBaze de dateC
C sharpCalculatoareCorel drawDot netExcelFox pro
FrontpageHardwareHtmlInternetJavaLinux
MatlabMs dosPascalPhpPower pointRetele calculatoare
SqlTutorialsWebdesignWindowsWordXml

Linux Firewalls Using iptables

calculatoare



+ Font mai mare | - Font mai mic



Linux Firewalls Using iptables

Introduction

Network security is a primary consideration in any decision to host a website as the threats are becoming more widespread and persistent every day. One means of providing additional protection is to invest in a firewall. Though prices are always falling, in some cases you may be able to create a comparable unit using the Linux iptables package on an existing server for little or no additional expenditure.




This chapter shows how to convert a Linux server into:

A firewall while simultaneously being your home website's mail, web and DNS server.

A router that will use NAT and port forwarding to both protect your home network and have another web server on your home network while sharing the public IP address of your firewall.

Creating an iptables firewall script requires many steps, but with the aid of the sample tutorials, you should be able to complete a configuration relatively quickly.

What Is iptables?

Originally, the most popular firewall/NAT package running on Linux was ipchains, but it had a number of shortcomings. To rectify this, the Netfilter organization decided to create a new product called iptables, giving it such improvements as:

Better integration with the Linux kernel with the capability of loading iptables-specific kernel modules designed for improved speed and reliability.

Stateful packet inspection. This means that the firewall keeps track of each connection passing through it and in certain cases will view the contents of data flows in an attempt to anticipate the next action of certain protocols. This is an important feature in the support of active FTP and DNS, as well as many other network services.

Filtering packets based on a MAC address and the values of the flags in the TCP header. This is helpful in preventing attacks using malformed packets and in restricting access from locally attached servers to other networks in spite of their IP addresses.

System logging that provides the option of adjusting the level of detail of the reporting.

Better network address translation.

Support for transparent integration with such Web proxy programs as Squid.

A rate limiting feature that helps iptables block some types of denial of service (DoS) attacks.

Considered a faster and more secure alternative to ipchains, iptables has become the default firewall package installed under RedHat and Fedora Linux.

Download And Install The Iptables Package

Before you begin, you need to make sure that the iptables software RPM is installed. (See Chapter 6, 'Installing Linux Software', if you need a refresher.) When searching for the RPMs, remember that the filename usually starts with the software package name by a version number, as in iptables-1.2.9-1.0.i386.rpm.

How To Start iptables

You can start, stop, and restart iptables after booting by using the commands:

[root@bigboy tmp]# service iptables start

[root@bigboy tmp]# service iptables stop

[root@bigboy tmp]# service iptables restart

To get iptables configured to start at boot, use the chkconfig command:.

[root@bigboy tmp]# chkconfig iptables on

Determining The Status of iptables

You can determine whether iptables is running or not via the service iptables status command. Fedora Core will give a simple status message. For example

[root@bigboy tmp]# service iptables status

Firewall is stopped.

[root@bigboy tmp]#

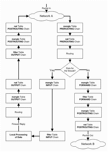
Packet Processing In iptables

All packets inspected by iptables pass through a sequence of built-in tables (queues) for processing. Each of these queues is dedicated to a particular type of packet activity and is controlled by an associated packet transformation/filtering chain.

There are three tables in total. The first is the mangle table which is responsible for the alteration of quality of service bits in the TCP header. This is hardly used in a home or SOHO environment.

The second table is the filter queue which is responsible for packet filtering. It has three built-in chains in which you can place your firewall policy rules. These are the:

Forward chain: Filters packets to servers protected by the firewall.

Input chain: Filters packets destined for the firewall.

Output chain: Filters packets originating from the firewall.

The third table is the nat queue which is responsible for network address translation. It has two built-in chains; these are:

Pre-routing chain: NATs packets when the destination address of the packet needs to be changed.

Post-routing chain: NATs packets when the source address of the packet needs to be changed

Table 14-1 Processing For Packets Routed By The Firewall

Queue Type

Queue Function

Packet Transformation Chain in Queue

Chain Function

Filter

Packet filtering

FORWARD

Filters packets to servers accessible by another NIC on the firewall.

INPUT

Filters packets destined to the firewall.

OUTPUT

Filters packets originating from the firewall

Nat

Network Address Translation

PREROUTING

Address translation occurs before routing. Facilitates the transformation of the destination IP address to be compatible with the firewall's routing table. Used with NAT of the destination IP address, also known as destination NAT or DNAT.

POSTROUTING

Address translation occurs after routing. This implies that there was no need to modify the destination IP address of the packet as in pre-routing. Used with NAT of the source IP address using either one-to-one or many-to-one NAT. This is known as source NAT, or SNAT.

OUTPUT

Network address translation for packets generated by the firewall. (Rarely used in SOHO environments)

Mangle

TCP header modification

PREROUTING

POSTROUTING

OUTPUT

INPUT

FORWARD

Modification of the TCP packet quality of service bits before routing occurs. (Rarely used in SOHO environments)


You need to specify the table and the chain for each firewall rule you create. There is an exception: Most rules are related to filtering, so iptables assumes that any chain that's defined without an associated table will be a part of the filter table. The filter table is therefore the default.

To help make this clearer, take a look at the way packets are handled by iptables. In Figure 14.1 a TCP packet from the Internet arrives at the firewall's interface on Network A to create a data connection.

The packet is first examined by your rules in the mangle table's PREROUTING chain, if any. It is then inspected by the rules in the nat table's PREROUTING chain to see whether the packet requires DNAT. It is then routed.

If the packet is destined for a protected network, then it is filtered by the rules in the FORWARD chain of the filter table and, if necessary, the packet undergoes SNAT in the POSTROUTING chain before arriving at Network B. When the destination server decides to reply, the packet undergoes the same sequence of steps. Both the FORWARD and POSTROUTING chains may be configured to implement quality of service (QoS) features in their mangle tables, but this is not usually done in SOHO environments.

If the packet is destined for the firewall itself, then it passes through the mangle table of the INPUT chain, if configured, before being filtered by the rules in the INPUT chain of the filter table before. If it successfully passes these tests then it is processed by the intended application on the firewall.

At some point, the firewall needs to reply. This reply is routed and inspected by the rules in the OUTPUT chain of the mangle table, if any. Next, the rules in the OUTPUT chain of the nat table determine whether DNAT is required and the rules in the OUTPUT chain of the filter table are then inspected to help restrict unauthorized packets. Finally, before the packet is sent back to the Internet, SNAT and QoS mangling is done by the POSTROUTING chain

Figure 14-1 Iptables Packet Flow Diagram

It is now time to discuss the ways in which you add rules to these chains.

Targets And Jumps

Each firewall rule inspects each IP packet and then tries to identify it as the target of some sort of operation. Once a target is identified, the packet needs to jump over to it for further processing. Table 14.2 lists the built-in targets that iptables uses.

Table 14-2 Descriptions Of The Most Commonly Used Targets

target

Desciption

Most Common Options

ACCEPT

iptables stops further processing.

The packet is handed over to the end application or the operating system for processing

N/A

DROP

iptables stops further processing.

The packet is blocked

N/A

LOG

The packet information is sent to the syslog daemon for logging

iptables continues processing with the next rule in the table

As you can't log and drop at the same time, it is common to have two similar rules in sequence. The first will log the packet, the second will drop it.

--log-prefix 'string'

Tells iptables to prefix all log messages with a user defined string. Frequently used to tell why the logged packet was dropped

REJECT

Works like the DROP target, but will also return an error message to the host sending the packet that the packet was blocked

--reject-with qualifier

The qualifier tells what type of reject message is returned. Qualifiers include:

icmp-port-unreachable (default)

icmp-net-unreachable

icmp-host-unreachable

icmp-proto-unreachable

icmp-net-prohibited

icmp-host-prohibited

tcp-reset

echo-reply

DNAT

Used to do destination network address translation. ie. rewriting the destination IP address of the packet

--to-destination ipaddress

Tells iptables what the destination IP address should be

SNAT

Used to do source network address translation rewriting the source IP address of the packet

The source IP address is user defined

--to-source <address>[-<address>][:<port>-<port>]

Specifies the source IP address and ports to be used by SNAT.

MASQUERADE

Used to do Source Network Address Translation.

By default the source IP address is the same as that used by the firewall's interface

[--to-ports <port>[-<port>]]

Specifies the range of source ports to which the original source port can be mapped.

Important Iptables Command Switch Operations

Each line of an iptables script not only has a jump, but they also have a number of command line options that are used to append rules to chains that match your defined packet characteristics, such the source IP address and TCP port. There are also options that can be used to just clear a chain so you can start all over again. Tables 14.2 through 14.6 list the most common options.

Table 14-2 General Iptables Match Criteria

iptables command Switch

Desciption

-t <-table->

If you don't specify a table, then the filter table is assumed. As discussed before, the possible built-in tables include: filter, nat, mangle

-j <target>

Jump to the specified target chain when the packet matches the current rule.

-A

Append rule to end of a chain

-F

Flush. Deletes all the rules in the selected table

-p <protocol-type>

Match protocol. Types include, icmp, tcp, udp, and all

-s <ip-address>

Match source IP address

-d <ip-address>

Match destination IP address

-i <interface-name>

Match 'input' interface on which the packet enters.

-o <interface-name>

Match 'output' interface on which the packet exits


In this command switches example

iptables -A INPUT -s 0/0 -i eth0 -d 192.168.1.1 -p TCP -j ACCEPT

iptables is being configured to allow the firewall to accept TCP packets coming in on interface eth0 from any IP address destined for the firewall's IP address of 192.168.1.1. The 0/0 representation of an IP address means any.

Table 14-4 Common TCP and UDP Match Criteria

Switch

Desciption

-p tcp --sport <port>

TCP source port. Can be a single value or a range in the format: start-port-number:end-port-number

-p tcp --dport <port>

TCP destination port. Can be a single value or a range in the format: starting-port:ending-port

-p tcp --syn

Used to identify a new TCP connection request. ! --syn means, not a new connection request

-p udp --sport <port>

UDP source port. Can be a single value or a range in the format: starting-port:ending-port

-p udp --dport <port>

UDP destination port. Can be a single value or a range in the format: starting-port:ending-port


In this example:

iptables -A FORWARD -s 0/0 -i eth0 -d 192.168.1.58 -o eth1 -p TCP

--sport 1024:65535 --dport 80 -j ACCEPT

iptables is being configured to allow the firewall to accept TCP packets for routing when they enter on interface eth0 from any IP address and are destined for an IP address of 192.168.1.58 that is reachable via interface eth1. The source port is in the range 1024 to 65535 and the destination port is port 80 (www/http).

Table 14-5 Common ICMP (Ping) Match Criteria

Matches used with ---icmp-type

Desciption

--icmp-type <type>

The most commonly used types are echo-reply and echo-request


In this example:

iptables -A OUTPUT -p icmp --icmp-type echo-request -j ACCEPT

iptables -A INPUT -p icmp --icmp-type echo-reply -j ACCEPT

iptables is being configured to allow the firewall to send ICMP echo-requests (pings) and in turn, accept the expected ICMP echo-replies.

Consider another example

iptables -A INPUT -p icmp --icmp-type echo-request

-m limit --limit 1/s -i eth0 -j ACCEPT

The limit feature in iptables specifies the maximum average number of matches to allow per second. You can specify time intervals in the format /second, /minute, /hour, or /day, or you can use abbreviations so that 3/second is the same as 3/s.

In this example, ICMP echo requests are restricted to no more than one per second. When tuned correctly, this feature allows you to filter unusually high volumes of traffic that characterize denial of service (DOS) attacks and Internet worms.

iptables -A INPUT -p tcp --syn -m limit --limit 5/s -i eth0 -j ACCEPT

You can expand on the limit feature of iptables to reduce your vulnerability to certain types of denial of service attack. Here a defense for SYN flood attacks was created by limiting the acceptance of TCP segments with the SYN bit set to no more than five per second.

Table 14-6 Common Extended Match Criteria

Switch

Desciption

-m multiport --sport <port, port>

A variety of TCP/UDP source ports separated by commas. Unlike when -m isn't used, they do not have to be within a range.

-m multiport --dport <port, port>

A variety of TCP/UDP destination ports separated by commas. Unlike when -m isn't used, they do not have to be within a range.

-m multiport --ports <port, port>

A variety of TCP/UDP ports separated by commas. Source and destination ports are assumed to be the same and they do not have to be within a range.

-m --state <state>

The most frequently tested states are:

ESTABLISHED: The packet is part of a connection that has seen packets in both directions

NEW: The packet is the start of a new connection

RELATED: The packet is starting a new secondary connection. This is a common feature of such protocols such as an FTP data transfer, or an ICMP error.

INVALID: The packet couldn't be identified. Could be due to insufficient system resources, or ICMP errors that don't match an existing data flow.

This is an expansion on the previous example:

iptables -A FORWARD -s 0/0 -i eth0 -d 192.168.1.58 -o eth1 -p TCP

--sport 1024:65535 -m multiport --dport 80,443 -j ACCEPT

iptables -A FORWARD -d 0/0 -o eth0 -s 192.168.1.58 -i eth1 -p TCP

-m state --state ESTABLISHED -j ACCEPT

Here iptables is being configured to allow the firewall to accept TCP packets to be routed when they enter on interface eth0 from any IP address destined for IP address of 192.168.1.58 that is reachable via interface eth1. The source port is in the range 1024 to 65535 and the destination ports are port 80 (www/http) and 443 (https). The return packets from 192.168.1.58 are allowed to be accepted too. Instead of stating the source and destination ports, you can simply allow packets related to established connections using the -m state and --state ESTABLISHED options.

Using User Defined Chains

As you may remember, you can configure iptables to have user-defined chains. This feature is frequently used to help streamline the processing of packets. For example, instead of using a single, built-in chain for all protocols, you can use the chain to determine the protocol type for the packet and then hand off the actual final processing to a user-defined, protocol-specific chain in the filter table. In other words, you can replace a long chain with a stubby main chain pointing to multiple stubby chains, thereby shortening the total length of all chains the packet has to pass through. For example

iptables -A INPUT -i eth0 -d 206.229.110.2 -j fast-input-queue

iptables -A OUTPUT -o eth0 -s 206.229.110.2 -j fast-output-queue

iptables -A fast-input-queue -p icmp -j icmp-queue-in

iptables -A fast-output-queue -p icmp -j icmp-queue-out

iptables -A icmp-queue-out -p icmp --icmp-type echo-request

-m state --state NEW -j ACCEPT

iptables -A icmp-queue-in -p icmp --icmp-type echo-reply -j ACCEPT

Here six queues help assist in improving processing speed. Table 14.7 summarizes the function of each.

Table 14.7 Custom Queues Example Listing

Chain

Desciption

INPUT

The regular built-in INPUT chain in iptables

OUTPUT

The regular built-in OUTPUT chain in iptables

fast-input-queue

Input chain dedicated to identifying specific protocols and shunting the packets to protocol specific chains.

fast-output-queue

Output chain dedicated to identifying specific protocols and shunting the packets to protocol specific chains.

icmp-queue-out

Output queue dedicated to ICMP

icmp-queue-in

Input queue dedicated to ICMP

Saving Your iptables Scripts

The service iptables save command permanently saves the iptables configuration in the /etc/sysconfig/iptables file. When the system reboots, the iptables-restore program reads the configuration and makes it the active configuration.

The format of the /etc/sysconfig/iptables file is slightly different from that of the scripts shown in this chapter. The initialization of built-in chains is automatic and the string 'iptables' is omitted from the rule statements.

Here is a sample /etc/sysconfig/iptables configuration that allows ICMP, IPSec (ESP and AH packets), already established connections, and inbound SSH.

[root@bigboy tmp]# cat /etc/sysconfig/iptables

# Generated by iptables-save v1.2.9 on Mon Nov 8 11:00:07 2004

*filter

:INPUT ACCEPT [0:0]

:FORWARD ACCEPT [0:0]

:OUTPUT ACCEPT [144:12748]

:RH-Firewall-1-INPUT - [0:0]

-A INPUT -j RH-Firewall-1-INPUT

-A FORWARD -j RH-Firewall-1-INPUT

-A RH-Firewall-1-INPUT -i lo -j ACCEPT

-A RH-Firewall-1-INPUT -p icmp -m icmp --icmp-type 255 -j ACCEPT

-A RH-Firewall-1-INPUT -p esp -j ACCEPT

-A RH-Firewall-1-INPUT -p ah -j ACCEPT

-A RH-Firewall-1-INPUT -m state --state RELATED,ESTABLISHED -j ACCEPT

-A RH-Firewall-1-INPUT -p tcp -m state --state NEW -m tcp --dport 22 -j ACCEPT

-A RH-Firewall-1-INPUT -j REJECT --reject-with icmp-host-prohibited

COMMIT

# Completed on Mon Nov 8 11:00:07 2004

[root@bigboy tmp]#

It is never a good idea to edit this script directly because it is always overwritten by the save command and it doesn't save any comments at all, which can also make it extremely difficult to follow. For these reasons, you're better off writing and applying a customized script and then using the service iptables save command to make the changes permanent.

Fedora's iptables Rule Generator

Fedora comes with a program called lokkit that you can use to generate a very rudimentary firewall rule set. It prompts for the level of security and then gives you the option of doing simple customizations. It is a good place for beginners to start on a test system so that they can see a general rule structure.

Like the service iptables save command, lokkit saves the firewall rules in a new /etc/sysconfig/iptables file for use on the next reboot.

Once you have become familiar with the iptables syntax, it's best to write scripts that you can comment and then save it to /etc/sysconfig/iptables. It makes them much more manageable and readable.

Recovering From A Lost Script

Sometimes the script you created to generate iptables rules may get corrupted or lost, or you might inherit a new system from an administer and cannot find the original script used to protect it. In these situations, you can use the iptables-save and iptables-restore commands to assist you with the continued management of the server.

Unlike the service iptables save command, which actually saves a permanent copy of the firewall's active configuration in the /etc/sysconfig/iptables file, iptables-save displays the active configuration to the screen in /etc/sysconfig/iptables format. If you redirect the iptables-save screen output to a file with the > symbol, then you can edit the output and reload the updated rules when they meet your new criteria with the iptables-restore command.

This example exports the iptables-save output to a text file named firewall-config.

[root@bigboy tmp]# iptables-save > firewall-config

[root@bigboy tmp]# cat firewall-config

# Generated by iptables-save v1.2.9 on Mon Nov 8 11:00:07 2004

*filter

:INPUT ACCEPT [0:0]

:FORWARD ACCEPT [0:0]

:OUTPUT ACCEPT [144:12748]

:RH-Firewall-1-INPUT - [0:0]

-A INPUT -j RH-Firewall-1-INPUT

-A FORWARD -j RH-Firewall-1-INPUT

-A RH-Firewall-1-INPUT -i lo -j ACCEPT

-A RH-Firewall-1-INPUT -p icmp -m icmp --icmp-type 255 -j ACCEPT

-A RH-Firewall-1-INPUT -p esp -j ACCEPT

-A RH-Firewall-1-INPUT -p ah -j ACCEPT

-A RH-Firewall-1-INPUT -m state --state RELATED,ESTABLISHED -j ACCEPT

-A RH-Firewall-1-INPUT -p tcp -m state --state NEW -m tcp --dport 22 -j ACCEPT

-A RH-Firewall-1-INPUT -j REJECT --reject-with icmp-host-prohibited

COMMIT

# Completed on Mon Nov 8 11:00:07 2004

[root@bigboy tmp]#

After editing the firewall-config file with the commands you need, you can reload it into the active firewall rule set with the iptables-restore command.

[root@bigboy tmp]# iptables-restore < firewall-config

Finally, you should permanently save the active configuration so that it will be loaded automatically when the system reboots:

[root@bigboy tmp]# service iptables save

If desired, you can eventually convert this firewall-config file into a regular iptables script so that it becomes more easily recognizable and manageable.

Loading Kernel Modules Needed By iptables

The iptables application requires you to load certain kernel modules to activate some of its functions. Whenever any type of NAT is required, the iptable_nat module needs to be loaded. The ip_conntrack_ftp module needs to be added for FTP support and should always be loaded with the ip_conntrack module which tracks TCP connection states. As most scripts probably will keep track of connection states, the ip_conntrack module will be needed in any case. The ip_nat_ftp module also needs to be loaded for FTP servers behind a NAT firewall.

Unfortunately, the /etc/sysconfig/iptables file doesn't support the loading of modules, so you'll have to add the statements to your /etc/rc.local file which is run at the end of every reboot.

The script samples in this chapter include these statements only as a reminder to place them in the /etc/rc.local file

# File: /etc/rc.local

# Module to track the state of connections

modprobe ip_conntrack

# Load the iptables active FTP module, requires ip_conntrack

modprobe ip_conntrack_ftp

# Load iptables NAT module when required

modprobe iptable_nat

# Module required for active an FTP server using NAT

modprobe ip_nat_ftp

Sample iptables Scripts

This section provides some sample scripts you can use to get iptables working for you. Pay special attention to the logging example at the end.

The basic initialization script snippet should also be included in all your scripts to ensure the correct initialization of your chains should you decide to restart your script after startup. This chapter also includes other snippets that will help you get basic functionality. It should be a good guide to get you started.

Note: Once you feel more confident, you can use Appendix II 'Codes, Scripts, and Configurations', to find detailed scripts. The appendix shows you how to allow your firewall to:

Be used as a Linux Web, mail and DNS server

Be the NAT router for your home network

Prevent various types of attacks using corrupted TCP, UDP and ICMP packets.

Provide outbound passive FTP access from the firewall

There are also simpler code snippets in the Appendix II 'Codes, Scripts, and Configurations', for Inbound and outbound FTP connections to and from your firewall

Basic Operating System Defense

You can do several things before employing your firewall script to improve the resilience of your firewall to attack. For example, the Linux operating system has a number of built-in protection mechanisms that you should activate by modifying the system kernel parameters in the /proc filesystem via the /etc/sysctl.conf file. Using of /etc/sysctl.conf to modify kernel parameters is explained in more detail in , Appendix I 'Miscellaneous Linux Topics'.

Here is a sample configuration:

# File: /etc/sysctl.conf

# Disable routing triangulation. Respond to queries out

# the same interface, not another. Helps to maintain state

# Also protects against IP spoofing

net/ipv4/conf/all/rp_filter = 1

# Enable logging of packets with malformed IP addresses

net/ipv4/conf/all/log_martians = 1

# Disable redirects

net/ipv4/conf/all/send_redirects = 0

# Disable source routed packets

net/ipv4/conf/all/accept_source_route = 0

# Disable acceptance of ICMP redirects

net/ipv4/conf/all/accept_redirects = 0

# Turn on protection from Denial of Service (DOS) attacks

net/ipv4/tcp_syncookies = 1

# Disable responding to ping broadcasts

net/ipv4/icmp_echo_ignore_broadcasts = 1

# Enable IP routing. Required if your firewall is protecting a

# network, NAT included

net/ipv4/ip_forward = 1

Advanced iptables Initialization

You may also want to add some more advanced initialization steps to your script, including checks for Internet traffic from RFC1918 private addresses. The sample script snippet below outlines how to do this. More complex initializations would include checks for attacks using invalid TCP flags and directed broadcasts which are beyond the scope of this book.

The script also uses multiple user-defined chains to make the script shorter and faster as the chains can be repeatedly accessed. This removes the need to repeat the same statements over and over again.

You can take even more precautions to further protect your network. The complete firewall script in Appendix II 'Codes, Scripts, and Configurations', outlines most of them.

# Define networks: NOTE!! You may want to put these 'EXTERNAL'

# definitions at the top of your script.

EXTERNAL_INT='eth0'  # External Internet interface

EXTERNAL_IP='97.158.253.25'  # Internet Interface IP address

# Initialize our user-defined chains

iptables -N valid-src

iptables -N valid-dst

# Verify valid source and destination addresses for all packets

iptables -A INPUT -i $EXTERNAL_INT -j valid-src

iptables -A FORWARD -i $EXTERNAL_INT -j valid-src

iptables -A OUTPUT -o $EXTERNAL_INT -j valid-dst

iptables -A FORWARD -o $EXTERNAL_INT -j valid-dst

# Source and Destination Address Sanity Checks

# Drop packets from networks covered in RFC 1918 (private nets)

# Drop packets from external interface IP

iptables -A valid-src -s $10.0.0.0/8 -j DROP

iptables -A valid-src -s $172.16.0.0/12 -j DROP

iptables -A valid-src -s $192.168.0.0/16 -j DROP

iptables -A valid-src -s $224.0.0.0/4 -j DROP

iptables -A valid-src -s $240.0.0.0/5 -j DROP

iptables -A valid-src -s $127.0.0.0/8 -j DROP

iptables -A valid-src -s 0.0.0.0/8 -j DROP

iptables -A valid-src -d 255.255.255.255 -j DROP

iptables -A valid-src -s 169.254.0.0/16 -j DROP

iptables -A valid-src -s $EXTERNAL_IP -j DROP

iptables -A valid-dst -d $224.0.0.0/4 -j DROP

Allowing DNS Access To Your Firewall

You'll almost certainly want your firewall to make DNS queries to the Internet. This is not because it is required for the basic functionality of the firewall, but because of Fedora Linux's yum RPM updater which will help to keep the server up to date with the latest security patches. The following statements will apply not only for firewalls acting as DNS clients but also for firewalls working in a caching or regular DNS server role.

# Allow outbound DNS queries from the FW and the replies too

# - Interface eth0 is the internet interface

# Zone transfers use TCP and not UDP. Most home networks

# / websites using a single DNS server won't require TCP statements

iptables -A OUTPUT -p udp -o eth0 --dport 53 --sport 1024:65535

-j ACCEPT

iptables -A INPUT -p udp -i eth0 --sport 53 --dport 1024:65535

-j ACCEPT

Allowing WWW And SSH Access To Your Firewall

This sample snippet is for a firewall that doubles as a web server that is managed remotely by its system administrator via secure shell (SSH) sessions. Inbound packets destined for ports 80 and 22 are allowed thereby making the first steps in establishing a connection. It isn't necessary to specify these ports for the return leg as outbound packets for all established connections are allowed. Connections initiated by persons logged into the Web server will be denied as outbound NEW connection packets aren't allowed.

# Allow previously established connections

# - Interface eth0 is the internet interface

iptables -A OUTPUT -o eth0 -m state --state ESTABLISHED,RELATED

-j ACCEPT

# Allow port 80 (www) and 22 (SSH) connections to the firewall

iptables -A INPUT -p tcp -i eth0 --dport 22 --sport 1024:65535

-m state --state NEW -j ACCEPT

iptables -A INPUT -p tcp -i eth0 --dport 80 --sport 1024:65535

-m state --state NEW -j ACCEPT

Allowing Your Firewall To Access The Internet

This iptables script enables a user on the firewall to use a Web browser to surf the Internet. HTTP traffic uses TCP port 80, and HTTPS uses port 443.

Note: HTTPS (secure HTTP) is used for credit card transactions frequently, as well as by RedHat Linux servers running up2date. FTP and HTTP are frequently used with yum.

# Allow port 80 (www) and 443 (https) connections from the firewall

iptables -A OUTPUT -j ACCEPT -m state

--state NEW,ESTABLISHED,RELATED -o eth0 -p tcp

-m multiport --dport 80,443 -m multiport --sport 1024:65535

# Allow previously established connections

# - Interface eth0 is the internet interface

iptables -A INPUT -j ACCEPT -m state --state ESTABLISHED,RELATED

-i eth0 -p tcp

If you want all TCP traffic originating from the firewall to be accepted, then remove the line:

-m multiport --dport 80,443 -m multiport --sport 1024:65535

Allow Your Home Network To Access The Firewall

In this example, eth1 is directly connected to a home network using IP addresses from the 192.168.1.0 network. All traffic between this network and the firewall is simplistically assumed to be trusted and allowed.

Further rules will be needed for the interface connected to the Internet to allow only specific ports, types of connections and possibly even remote servers to have access to your firewall and home network.

# Allow all bidirectional traffic from your firewall to the

# protected network

# - Interface eth1 is the private network interface

iptables -A INPUT -j ACCEPT -p all -s 192.168.1.0/24 -i eth1

iptables -A OUTPUT -j ACCEPT -p all -d 192.168.1.0/24 -o eth1

Masquerading (Many to One NAT)

As explained in Chapter 2, 'Introduction to Networking', masquerading is another name for what many call many to one NAT. In other words, traffic from all devices on one or more protected networks will appear as if it originated from a single IP address on the Internet side of the firewall.

Note: The masquerade IP address always defaults to the IP address of the firewall's main interface. The advantage of this is that you never have to specify the NAT IP address. This makes it much easier to configure iptables NAT with DHCP.

You can configure many to one NAT to an IP alias, using the POSTROUTING and not the MASQUERADE statement. An example of this can be seen in the static NAT section that follows.

Keep in mind that iptables requires the iptables_nat module to be loaded with the modprobe command for the masquerade feature to work. Masquerading also depends on the Linux operating system being configured to support routing between the internet and private network interfaces of the firewall. This is done by enabling IP forwarding or routing by giving the file /proc/sys/net/ipv4/ip_forward the value 1 as opposed to the default disabled value of 0.

Once masquerading has been achieved using the POSTROUTING chain of the nat table, you will have to configure iptables to allow packets to flow between the two interfaces. To do this, use the FORWARD chain of the filter table. More specifically, packets related to NEW and ESTABLISHED connections will be allowed outbound to the Internet, but only packets related to ESTABLISHED connections will be allowed inbound. This helps to protect the home network from anyone trying to initiate connections from the Internet:

# Load the NAT module

# Note: It is best to use the /etc/rc.local example in this

chapter. This value will not be retained in the

/etc/sysconfig/iptables file. Included only as a reminder.

modprobe iptable_nat

# Enable routing by modifying the ip_forward /proc filesystem file

# Note: It is best to use the /etc/sysctl.conf example in this

chapter. This value will not be retained in the

/etc/sysconfig/iptables file. Included only as a reminder.

echo 1 > /proc/sys/net/ipv4/ip_forward

# Allow masquerading

# - Interface eth0 is the internet interface

# - Interface eth1 is the private network interface

iptables -A POSTROUTING -t nat -o eth0 -s 192.168.1.0/24 -d 0/0

-j MASQUERADE

# Prior to masquerading, the packets are routed via the filter

# table's FORWARD chain.

# Allowed outbound: New, established and related connections

# Allowed inbound : Established and related connections

iptables -A FORWARD -t filter -o eth0 -m state

--state NEW,ESTABLISHED,RELATED -j ACCEPT

iptables -A FORWARD -t filter -i eth0 -m state

--state ESTABLISHED,RELATED -j ACCEPT

Note: If you configure your firewall to do masquerading, then if should be the used as the default gateway for all your servers on the network.

Port Forwarding Type NAT (DHCP DSL)

In many cases home users may get a single DHCP public IP address from their ISPs. If a Linux firewall is also your interface to the Internet and you want to host a Web site on one of the NAT protected home servers, then you will have to use port forwarding. Here the combination of the firewall's single IP address, the remote server's IP address, and the source/destination port of the traffic can be used to uniquely identify a traffic flow. All traffic that matches a particular combination of these factors may then be forwarded to a single server on the private network.

Port forwarding is handled by the PREROUTING chain of the nat table. As in masquerading, the iptables_nat module has to be loaded and routing has to be enabled for port forwarding to work. Routing too must be allowed in iptables with the FORWARD chain, this includes all NEW inbound connections from the Internet matching the port forwarding port plus all future packets related to the ESTABLISHED connection in both directions:

# Load the NAT module

# Note: It is best to use the /etc/rc.local example in this

chapter. This value will not be retained in the

/etc/sysconfig/iptables file. Included only as a reminder.

modprobe iptable_nat

# Get the IP address of the Internet interface eth0 (linux only)

# You'll have to use a different expression to get the IP address

# for other operating systems which have a different ifconfig output

# or enter the IP address manually in the PREROUTING statement

# This is best when your firewall gets its IP address using DHCP.

# The external IP address could just be hard coded ('typed in

# normally')

external_int='eth0'

external_ip='`ifconfig $external_int | grep 'inet addr' |

awk '' | sed -e 's/.*://'`'

# Enable routing by modifying the ip_forward /proc filesystem file

# Note: It is best to use the /etc/sysctl.conf example in this

chapter. This value will not be retained in the

/etc/sysconfig/iptables file. Included only as a reminder.

echo 1 > /proc/sys/net/ipv4/ip_forward

# Allow port forwarding for traffic destined to port 80 of the

# firewall's IP address to be forwarded to port 8080 on server

# - Interface eth0 is the internet interface

# - Interface eth1 is the private network interface

iptables -t nat -A PREROUTING -p tcp -i eth0 -d $external_ip

--dport 80 --sport 1024:65535 -j DNAT --to 192.168.1.200:8080

# After DNAT, the packets are routed via the filter table's

# FORWARD chain.

# Connections on port 80 to the target machine on the private

# network must be allowed.

iptables -A FORWARD -p tcp -i eth0 -o eth1 -d 192.168.1.200

--dport 8080 --sport 1024:65535 -m state --state NEW -j ACCEPT

iptables -A FORWARD -t filter -o eth0 -m state

--state NEW,ESTABLISHED,RELATED -j ACCEPT

iptables -A FORWARD -t filter -i eth0 -m state

--state ESTABLISHED,RELATED -j ACCEPT

Static NAT

In this example, all traffic to a particular public IP address, not just to a particular port, is translated to a single server on the protected subnet. Because the firewall has more than one IP address, I can't recommend MASQUERADE; it will force masquerading as the IP address of the primary interface and not as any of the alias IP addresses the firewall may have. Instead, use SNAT to specify the alias IP address to be used for connections initiated by all other servers in the protected network.

Note: Although the nat table NATs all traffic to the target servers (192.168.1.100 to 102), only connections on ports 80,443 and 22 are allowed through by the FORWARD chain. Also notice how you have to specify a separate -m multiport option whenever you need to match multiple non-sequential ports for both source and destination.

In this example the firewall:

Uses one to one NAT to make the server 192.168.1.100 on your home network appear on the Internet as IP addresses 97.158.253.26.

Creates a many to one NAT for the 192.168.1.0 home network in which all the servers appear on the Internet as IP address 97.158.253.29. This is different from masquerading

You will have to create alias IP addresses for each of these Internet IPs for one to one NAT to work.

# Load the NAT module

# Note: It is best to use the /etc/rc.local example in this

chapter. This value will not be retained in the

/etc/sysconfig/iptables file. Included only as a reminder.

modprobe iptable_nat

# Enable routing by modifying the ip_forward /proc filesystem file

# Note: It is best to use the /etc/sysctl.conf example in this

chapter. This value will not be retained in the

/etc/sysconfig/iptables file. Included only as a reminder.

echo 1 > /proc/sys/net/ipv4/ip_forward

# NAT ALL traffic:

# REMEMBER to create aliases for all the internet IP addresses below

# TO:  FROM: MAP TO SERVER:

Anywhere 192.168.1.100 (1:1 NAT - Inbound)

# Anywhere 192.168.1.100 97.158.253.26 (1:1 NAT - Outbound)

# Anywhere 192.168.1.0/24 97.158.253.29 (FW IP)

# SNAT is used to NAT all other outbound connections initiated

# from the protected network to appear to come from

# IP address 97.158.253.29

# POSTROUTING:

# NATs source IP addresses. Frequently used to NAT connections from

# your home network to the Internet

# PREROUTING:

# NATs destination IP addresses. Frequently used to NAT

# connections from the Internet to your home network

# - Interface eth0 is the internet interface

# - Interface eth1 is the private network interface

# PREROUTING statements for 1:1 NAT

# (Connections originating from the Internet)

iptables -t nat -A PREROUTING -d 97.158.253.26 -i eth0

-j DNAT --to-destination 192.168.1.100

# POSTROUTING statements for 1:1 NAT

# (Connections originating from the home network servers)

iptables -t nat -A POSTROUTING -s 192.168.1.100 -o eth0

-j SNAT --to-source 97.158.253.26

# POSTROUTING statements for Many:1 NAT

# (Connections originating from the entire home network)

iptables -t nat -A POSTROUTING -s 192.168.1.0/24

-j SNAT -o eth0 --to-source 97.158.253.29

# Allow forwarding to each of the servers configured for 1:1 NAT

# (For connections originating from the Internet. Notice how you

# use the real IP addresses here)

iptables -A FORWARD -p tcp -i eth0 -o eth1 -d 192.168.1.100

-m multiport --dport 80,443,22

-m state --state NEW -j ACCEPT

# Allow forwarding for all New and Established SNAT connections

# originating on the home network AND already established

# DNAT connections

iptables -A FORWARD -t filter -o eth0 -m state

--state NEW,ESTABLISHED,RELATED -j ACCEPT

# Allow forwarding for all 1:1 NAT connections originating on

# the Internet that have already passed through the NEW forwarding

# statements above

iptables -A FORWARD -t filter -i eth0 -m state

--state ESTABLISHED,RELATED -j ACCEPT

Troubleshooting iptables

A number of tools are at your disposal for troubleshooting iptables firewall scripts. One of the best methods is to log all dropped packets to the /var/log/messages file.

Checking The Firewall Logs

You track packets passing through the iptables list of rules using the LOG target. You should be aware that the LOG target:

Logs all traffic that matches the iptables rule in which it is located.

Automatically writes an entry to the /var/log/messages file and then executes the next rule.

If you want to log only unwanted traffic, therefore, you have to add a matching rule with a DROP target immediately after the LOG rule. If you don't, you'll find yourself logging both desired and unwanted traffic with no way of discerning between the two, because by default iptables doesn't state why the packet was logged in its log message.

This example logs a summary of failed packets to the file /var/log/messages. You can use the contents of this file to determine which TCP/UDP ports you need to open to provide access to specific traffic that is currently stopped.

# Log and drop all other packets to file /var/log/messages

# Without this we could be crawling around in the dark

iptables -A OUTPUT -j LOG

iptables -A INPUT -j LOG

iptables -A FORWARD -j LOG

iptables -A OUTPUT -j DROP

iptables -A INPUT -j DROP

iptables -A FORWARD -j DROP

Here are some examples of the output of this file:

Firewall denies replies to DNS queries (UDP port 53) destined to server 192.168.1.102 on the home network.

Feb 23 20:33:50 bigboy kernel: IN=wlan0 OUT= MAC=00:06:25:09:69:80:00:a0:c5:e1:3e:88:08:00 SRC=192.42.93.30 DST=192.168.1.102 LEN=220 TOS=0x00 PREC=0x00 TTL=54 ID=30485 PROTO=UDP SPT=53 DPT=32820 LEN=200

Firewall denies Windows NetBIOS traffic (UDP port 138)

Feb 23 20:43:08 bigboy kernel: IN=wlan0 OUT= MAC=ff:ff:ff:ff:ff:ff:00:06:25:09:6a:b5:08:00 SRC=192.168.1.100 DST=192.168.1.255 LEN=241 TOS=0x00 PREC=0x00 TTL=64 ID=0 DF PROTO=UDP SPT=138 DPT=138 LEN=221

Firewall denies Network Time Protocol (NTP UDP port 123)

Feb 23 20:58:48 bigboy kernel: IN= OUT=wlan0 SRC=192.168.1.102 DST=207.200.81.113 LEN=76 TOS=0x10 PREC=0x00 TTL=64 ID=0 DF PROTO=UDP SPT=123 DPT=123 LEN=56

The traffic in all these examples isn't destined for the firewall; Therefore, you should check your INPUT, OUTPUT, FORWARD, and NAT related statements. If the firewall's IP address is involved, then you should focus on the INPUT and OUTPUT statements

If nothing shows up in the logs, then follow the steps in Chapter 4, 'Simple Network Troubleshooting', to determine whether the data is reaching your firewall at all and, if it is not, the location on your network that could be causing the problem.

As a general rule, you won't be able to access the public NAT IP addresses from servers on your home network. Basic NAT testing requires you to ask a friend to try to connect to your home network from the Internet.

You can then use the logging output in /var/log/messages to make sure that the translations are occurring correctly and iptables isn't dropping the packets after translation occurs.

iptables Won't Start

The iptables startup script expects to find the /etc/sysconfig/iptables before it starts. If none exists, then symptoms include the firewall status always being stopped and the /etc/init.d/iptables script running without the typical [OK] or [FAILED] messages.

If you have just installed iptables and have never applied a policy, then you will face this problem. Unfortunately, running the service iptables save command before restarting won't help either. You have to create this file.

[root@bigboy tmp]# service iptables start

[root@bigboy tmp]#

[root@bigboy tmp]# touch /etc/sysconfig/iptables

[root@bigboy tmp]# chmod 600 /etc/sysconfig/iptables

[root@bigboy tmp]# service iptables start

Applying iptables firewall rules: [ OK ]

[root@bigboy tmp]#

Conclusion

A firewall is a critical part of any establishment that connects to an unprotected network such as the Internet, but a firewall is never sufficient. Web site security involves not just protection from corrupted packets or maliciously overwhelming volumes of traffic, but also involves daily data backups to help recovery from device failures, regular application patching, enforced password policies, restricted and monitored physical access to your servers, reliable power and cooling, secured cabling, redundant hardware, and, probably most importantly, well trained and motivated employees. Security should be viewed as anything that contributes to the desired risk-free functioning of your site, and it is well worth the money to invest in and learn from a book that specializes in the topic.



Politica de confidentialitate | Termeni si conditii de utilizare



DISTRIBUIE DOCUMENTUL

Comentarii


Vizualizari: 2516
Importanta: rank

Comenteaza documentul:

Te rugam sa te autentifici sau sa iti faci cont pentru a putea comenta

Creaza cont nou

Termeni si conditii de utilizare | Contact
© SCRIGROUP 2025 . All rights reserved