| CATEGORII DOCUMENTE |
| Alimentatie nutritie | Asistenta sociala | Cosmetica frumusete | Logopedie | Retete culinare | Sport |
1. MATERIA PRIMA PENTRU
INDUSTRIA VINICOLA - STRUGURII
Disciplina care se ocupa cu studiul strugurilor poarta numele de Uvologie (uva = strugure si logos = vorbire). Acest termen a fost introdus in stiinta viti-vinicola de oenologul rus Prostoserdov.
In cadrul Uvologiei se studiaza: partile componente ale strugurilor, raporturile cantitative si numerice dintre ele, compozitia chimica a elementelor care formeaza strugurii, fazele procesului de crestere si maturare ale strugurilor si precizarea momentelor cand in struguri, principalii parametri de calitate ating nivelul necesar obtinerii unor produse finite, in conformitate cu legislatia in vigoare.
STRUCTURA STRUGURILOR (alcatuirea fizico-mecanica)
Este data de raporturile cantitative si numerice dintre diferitele parti componente ale acestora. Cunoasterea alcatuirii fizico-mecanice a strugurilor ofera oenologului informatii privind: proportia diferitelor parti uvologice, in functie de soi, grad de maturare, conditii naturale, stare fitosanitara s.a.; elementele care stau la baza calcularii indicilor tehnologici specifici diferitelor soiuri, a randamentelor in must, a stabilirii capacitatilor de fermentare sau fermentare-maturare etc.
1.1.1. Ciorchinii indeplinesc rolul de schelet al strugurilor si asigura legatura intre coarda butucului - prin intermediul lastarului - si boabe.
Sub raport morfologic, ciorchinele este alcatuit din peduncul, axul principal (care se gaseste in continuarea pedunculului), ramificatii de ordinul I, II, III si pedicele, pe care sunt prinse boabele. Proportiile de ciorchini la maturitatea tehnologica a strugurilor se situeaza intre 3 si 5,5 % (Gheorghita, M. - 1972).
1.1.2. Boaba reprezinta fructul propriu-zis al vitei de vie, din punct de vedere botanic ea fiind o baca. La un strugure, marimea, numarul, forma, modul de asezare, desimea si culoarea boabelor difera in functie de soi, podgorie, conditiile naturale, agrotehnica aplicata, gradul de maturare s.a.
Boabele de struguri se compun din trei mari parti (unele cu subdiviziuni) si anume: pielita, miez sau pulpa si seminte. Proportiile acestora variaza in limite foarte largi, in functie de soi, conditiile ecologice si agrotehnica viticola aplicata. Astfel, valorile procentuale se prezinta astfel: pielite 8-20%; miez 75-85%; seminte 2-5%.
1.1.2.1. Pielita sau epicarpul se compune din epiderma si hipoderma. La suprafata epidermei se afla un strat protector numit cuticula. In cuticula sunt infipte inclinat formatiuni columnare, care la randul lor constituie pruina (strat ceros).
Cuticula este despartita de partea superioara a epidermei de protoplaste. Ea protejeaza bobul de leziuni mecanice si de o transpiratie excesiva, asigurand insa un schimb limitat de gaze prin niste orificii asemanatoare stomatelor frunzelor (Strassburger, E. - 1978; Leyhe, A. - 1987).
Grosimea cuticulei variaza in functie de soi si de conditiile naturale, aceasta situandu-se intre 1,5 si 4,0 μm.
Prin tehnici speciale de laborator Considine J.A. si Knox R.B. (1979) au identificat trei straturi ale cuticulei: unul exterior si altul interior fluorescente, care inchid alt strat mai putin fluorescent. Cel exterior corespunde stratului primar, alcatuit din ceara cuticulara, iar cel interior este foarte subtire si asezat strans pe peretele epidermei.
Epiderma este constituita dintr-un strat de celule cu peretii externi ingrosati. Celulele epidermei prezinta in medie urmatoarele dimensiuni: 7-10 μm grosime si 9-12 μm lungime. In perioada de dezvoltare a boabelor, aceste celule cunosc o crestere tangentiala, adica paralela cu suprafata, ajungand la unele soiuri de struguri pana la 30 μm (Blanke, M. - 1990).
Hipoderma are in componenta ei 9-11 straturi de celule situate sub epiderma. In timpul coacerii grosimea celulelor hipodermei ramane aproape constanta (8-11 μm), iar printr-o crestere tangentiala lungimea lor ajunge pana la 33-45 μm (Engel, M. - 1990).
1.1.2.2. Miezul este alcatuit din mezocarp si endocarp. Mezocarpul detine 75-78 % din greutatea bobului. Celulele acestuia au peretii subtiri si ele cresc, in timpul maturarii, atat tangential cat si radial, la unele soiuri ajungand pana la 180-200 μm grosime si 140-180 μm lungime.
Mezocarpul este format din 11-16 straturi de celule pline aproape in totalitate cu suc vacuolar, din care rezulta mustul. In timpul coacerii numarul celulelor mezocarpului scade continuu printr-un proces de contopire sau prin strivire, in care caz se formeaza spatii intercelulare (Iona, R. Si col. - 1983).
Peretii celulari sunt reprezentati din straturi elastice care invelesc protoplastele, in conditii fiziologice normale fiind foarte permeabili. In cursul diviziunii celulare se formeaza mai intai un perete primordial, la care ulterior se adauga pe ambele parti cate un perete primar. In constitutia peretilor celulari intra, in special, unele polizaharide si glicoproteine foarte diferite din punct de vedere structural. Lamela mijlocie este formata, in proportie covarsitoare din homogalacturonane (peste 90 %) si ramnoza (in proportii mult mai mici). Peretii primari, la randul lor, sunt alcatuiti in principal din heterogalacturonane (Neukom si col. - 1980).
Celuloza (polimer glucidic) reprezinta si ea o componenta importanta a peretilor celulari, iar glicoproteinele au in alcatuire, mai cu seama, extensinul, care la randul lui, contine in catena principala un polipeptid bogat in hidroxiprolin.
Endocarpul se gaseste in vecinatatea semintelor si este format din celule mai mici, dense si alungite, mai sarace in constituentii care definesc nivelul calitatii mustului.
1.1.2.3. Semintele la soiurile pentru vin reprezinta 2,5 - 6 % din greutatea boabelor. Numarul si marimea lor depind de soi si conditiile naturale in care se afla plantatia viticola.
Pe baza proportiilor si a raporturilor dintre diferitele parti ale strugurelui si ale bobului de strugure se stabilesc, prin calcul, urmatorii indici tehnologici: indicele de structura, indicele bobului, indicele de compozitie al bobului, indicele de randament.
COMPOZITIA CHIMICA A PARTILOR DIN CARE SE COMPUN STRUGURII
Compozitia chimica a strugurilor determina in masura hotaratoare calitatea vinurilor. De aceea cunoasterea constituentilor din partile care alcatuiesc strugurii se impune cu necesitate.
1.2.1. Ciorchinii. La maturitatea strugurilor compozitia ciorchinilor difera de cea a frunzelor, atat ca natura a constituentilor chimici, cat si sub raportul proportiilor lor.
Zahrurile sunt foarte slab reprezentate, acizii se afla in cea mai mare masura salificati (motiv pentru care pH-ul are valori superioare lui 4), taninurile, substantele flobafenice amare, constituentii azotati si minerali prezinta insa proportii importante.
1.2.2.Pielita bobului, in ansamblul ei, prezinta o compozitie deosebit de complexa. Unii dintre constituentii pielitei au o importanta esentiala in definirea mai ales a tipurilor si categoriilor de vinuri obtinute prin macerare sau macerare-fermentare.
Pruina - stratul ceros de pe suprafata cuticulei - confera boabelor strugurilor un aspect atragator, semnificand - in acelasi timp - si un criteriu de calitate al fructului vitei de vie.
Cercetari relativ recente au permis clasificarea cerii boabelor (pruina) in: ceara tare sau ceara reala si ceara moale sau ulei (Wrding, G., Wller, R. - 1989). In timpul maturarii strugurilor proportia este in favoarea cerii moi - alcatuita din alcooli saturati (cu catene lungi), esteri, aldehide, acizi grasi si parafine. Ceara tare este alcatuita - in principal - din acizi oleanolici, care reprezinta 50-70 % din greutatea cerii. Mai inainte Radler F. (1978) a gasit in compozitia cerii acizi grasi nesaturati si steroli.
Cuticula este mai putin cunoscuta sub raportul compozitiei chimice. Exista unele cercetari care au stabilit ca stratul interior este foarte bogat in pro-cutin iar cel central in cutin polimerizat (Considine, J.A., Knox, R.B. - citati de Hamatschek J. - 1991). Se mentioneaza ca grosimea cuticulei se situeaza intre 2,6 si 5,6 μm.
Exocarpul, constituit din epiderma si hipoderma, incorporeaza apa - in proportii cuprinse intre 50 si 80 % si mai multe grupe de constituenti organici si anorganici, care impreuna formeaza substanta uscata in procente situate intre 20 si 50. Principalele grupe de substante existente in aceasta parte a bobului sunt: glucidele, substantele azotoase, acizii organici, polifenolii, substantele aromate, substantele minerale s.a.
In epiderma si hipoderma cele mai importante grupe de substante sunt polifenolii si constituentii aromati.
Polifenolii cuprind substantele colorante sau pigmentii si taninurile. Substantele colorante sunt reprezentate de pigmentii clorofilieni (cand boabele se gasesc in faza de crestere erbacee) si de cei flavonici (galbeni) si antocianici (rosii) in faza de maturare a strugurilor.
Pigmentii se afla localizati in organoplastele din primele 3-4 straturi de celule ale hipodermei. Ei se biosintetizeaza pe parcursul fazelor de parga si maturare, concomitent cu taninurile - ambele grupe facand parte din marea clasa a polifenolilor.
Pigmentii din strugurii ajunsi la maturitate apartin an proportii hotaratoare la doua clase de compusi fenolici: flavonele si antocianii. Acestor doua grupe li se mai alatura, in masura nesemnificativa carotenoidele si clorofilele.
Flavonele sunt compusi fenolici colorati in galben sau galben-brun, aflandu-se in struguri mai cu seama ca heterozide. Intr-o proportie neinsemnata se intalnesc si ca formatiuni libere. In aceasta categorie de compusi fenolici cei mai importanti reprezentanti sunt: kaempferolul, quercetina si miricetina. De la quercetina impreuna cu ramnoza deriva quercetrina, constituent considerat a fi cel care confera, in masura esentiala, nuanta galbuie a vinurilor obtinute din struguri albi (Riesling italian, Feteasca alba s.a.).
Antocianii sunt pigmentii rosii din pielita strugurilor (in putine cazuri si din miezul acestora), sub forma de heterozide colorate in rosu (la valori scazute ale ph-ului) sau albastru (la valori ridicate ale pH-ului).
Antocianii poseda in comun un schelet de tip fenil-2-benzopirilium, in structura caruia intra un nucleu cromanic si un nucleu benzenic.
Taninurile din pielita strugurilor fac parte din clasa celor nehidrolizabile si au in comun un schelet de tip 2-fenil-dihidro-benzopiran (numit si flavan) in structura caruia figureaza un nucleu cromanic (benzopiranul) si un nucleu benzenic situat lateral in pozitia 2 a nucleului cromanic.
In pielite taninurile ocupa proportii cuprinse, in general, intre 28 si 35 % din intregul continut al boabelor de struguri (Muntean Camelia - 1997). Ele sunt polimeri ai unor constituenti fenolici cu greutate moleculara situata intre 500 si 3000.
In prezent taninurile din struguri sunt cunoscute sub numele de proantocianidine, constituite in doua grupe importante: procianidoli si prodelfinidoli. Procianidolii sunt polimeri ai catechinei si epicatechinei, iar prodelfinidolii sunt constituiti din galocatechina si epigalocatechina (Moutounet, N.; Rigaud, J.; Souquet, J.M.; Cheynier, V. - 1996).
Recent in struguri s-au identificat alti compusi fenolici numiti resveratroli (3, 5, 4 - trihidroxistilbene), biosintetizati de vita de vie pentru a se apara de actiunea distrugatoare produsa de Botrytis cinereae (Rifler, J.P. - 1995).
Substantele aromate sau odorante sunt localizate cu prioritate, in straturile profunde ale pielitei. Ele confera vinurilor insusiri de fructuozitate, prospetime, tipicitate si expresivitate, criterii insemnate in definirea caracterului natural si a nivelului lor de calitate.
Aromele din pielita boabelor de struguri, numite si uleiuri eterice, reprezinta un complex de substante si combinatii chimice, multe dintre ele fiind inca putin cunoscute.
Cercetarile efectuate de Schreier, F., Drawert, F., Junker, A. (citati de Cordonnier si Bayonove - 1974) au identificat in complexul aromatic din struguri urmatoarele grupe de constituenti: 81 hidrocarburi, 31 alcooli, 40 esteri, 48 acizi grasi liberi, 28 aldehide si acetali, 18 cetone s.a. Proportiile in care se gasesc acesti numerosi constituenti in struguri, precum si maniera de combinare a lor confera aroma specifica a fiecarui soi de vita de vie.
In strugurii soiurilor de tip Muscat (Muscat Ottonel, Tamaioasa romaneasca s.a.), aromele au un caracter cu totul deosebit, impresionant de placute, ele fiind constituite, in principal din derivati terpenici (Terrier, A., Boidron, N.J. - 1973). Principalul constituent terpenic din strugurii soiurilor aromate este cel cunoscut sub numele de linalol. Alaturi de acesta, in proportii mai scazute se afla compusii: nerol, geraniol, citronelol, α-terpineol, farnesol, limonen si myrcen s.a.
Potentialul aromatic al strugurilor sortogrupului muscat este reprezentat, in principal, de o rezerva de compusi terpenici liberi, activi din punct de vedere olfactiv, dar si de un grup de precursori nevolatili, constituit tot din terpenoli polihidroxilati si terpenilglucozide (Cordonnier, R. Si col. - 1986).
Substantele pectice sunt prezente in pielita atat in perioada de crestere erbacee (protopectina), cat si maturarea boabelor (pectina solubila). Ca proportii substantele pectice se situeaza intre 0,10 si 0,15 %.
1.2.3. Miezul este constituit din 11-20 straturi de celule pline aproape in totalitate cu suc vacuolar. Acest suc vacuolar contine in proportii insemnate zaharuri, acizi organici, substante minerale, substante azotoase, vitamine, enzime s.a.
Zaharurile sunt reprezentate in special de hexoze (glucoza si fructoza). In proportii destul de mici se mai gasesc pentozele si zaharoza.
Considerate impreuna, zaharurile sunt neuniform repartizate, atat in boabele unui strugure cat si in cadrul unui bob. In cadrul unui strugure sunt mai bogate in zaharuri boabele dinspre peduncul, iar intr-un bob este mai bogata jumatatea dinspre varf .
La maturitatea deplina a strugurilor, in sectiune transversala printr-un bob, zaharurile prezinta - la fel - o repartizare neuniforma. Sub acest raport se disting trei zone: zona periferica (II) cu un continut mediu in zaharuri; zona mijlocie (I) care este cea mai bogata in glucide si zona din centrul bobului (III) cea mai saraca in glucide.
Acizii organici (tartric, malic, citric s.a.) se gasesc mai mult sub forma libera. O mica parte se gasesc insa si sub forma semilegata sau salificata.
In stadiul de crestere erbacee a strugurilor, in miezul bobului proportia de acizi organici cunoaste valori inverse: sunt mai boagate straturile superficiale, adica acolo unde procesul de transformare a zaharurilor in acizi, prin respiratie, este intens.
Ca si zaharurile, la maturitatea deplina a strugurilor, acizii prezinta in miezul bobului o repartizare heterogena. In general sunt mai bogate in acesti constituenti straturile mai adanci ale mezocarpului si mai sarace cele periferice, unde acizii se combustioneaza mai repede pe cale respiratorie. Datorita faptului ca acidul malic este mai putin rezistent la combustia respiratorie, acesta se afla in proportii mai mari in cele mai profunde straturi ale bobului, in comparatie cu localizarea acidului tartric.
In mezocarp se mai gasesc si alti acizi (citric, gluconic s.a), care vor fi prezentati la compozitia mustului.
1.2.4. Semintele prezinta continuturi importante in uleiuri si substante polifenolice (tanante). Strivirea semintelor la prelucrarea strugurilor determina imbogatirea mustului si vinului in acesti constituenti, care peste anumite limite influenteaza negativ insusirile gustative ale produselor.
Taninurile din seminte se deosebesc de cele existente in pielite. Cele din seminte sunt formate din (+) catechina, (-) epicatechina si epicatechina - 3 - 0 galat, care sunt procianidoli. In pielite, taninurile prezinta in componenta lor si unitati de epigalocatechina, aceste facand parte din grupa prodelfinidolilor (Glories, Y. - citat de Badea, P. - 1998). Ele asigura protectia substantelor colorante la vinurile rosii si roze.
Alaturi de uleiuri si constituentii fenolici in seminte se mai afla: substante minerale, celuloza, unii hormoni, acid abscisic s.a.
FOLOSIREA DIOXIDULUI DE SULF
IN INDUSTRIA VINIVOLA
Insusirile dezinfectante ale gazului degajat prin combustionarea sulfului (SO2) erau cunoscute din timpuri stravechi. In practica vinificatiei, gazul rezultat prin arderea sulfului a fost folosit mai intai la tratarea butoaielor de lemn, imediat dupa ″inventarea″ acestora la inceputul erei noastre si la intretinerea galeriilor in care se pastrau vinurile.
Treptat, dar cu certitudine, SO2 a fost implicat in toate etapele de elaborare, pastrare si conditionare a vinurilor, indeplinind un rol esential la realizarea unor produse de inalta calitate, cu o compozitie chimica normala si insusiri organoleptice agreate chiar si de catre consumatori cu gusturi bine conturate in materie.
2.1. STARILE SI MODIFICARILE SO2 IN VINURI
Aditionat in must sau vin SO2, dupa 2-4 zile, se regaseste sub mai multe stari. O proportie foarte mica se afla dizolvata sub forma de molecule de SO2 (solvit fizic). Cea mai mare parte insa, reactioneaza cu apa din produs formand acidul sulfuros, conform reactiei:
SO2 + H2O ↔ H2SO3
In must si vin acidul sulfuros poate exista ca atare (nedisociat, H2SO3 molecular) sau sub forma disociata (anion bisulfit HSO3- si anion sulfit SO32-). In conditii speciale pot sa apara si ioni pirosulfit (S2O52-).
Se mentioneaza ca la pH-ul vinului (cuprins, in general, intre 2,8 si 3,5) cea mai mare parte a acidului sulfuros se gaseste sub forma de anion bisulfit.
Odata cu cresterea valorii pH, sporesc si proportiile de anioni bisulfit si anion sulfit si scad continuturile in acid sulfuros in stare moleculara (nedisociat).
Dioxidul de sulf solvit fizic (SO2), acidul sulfuros molecular (H2SO4) si anionii: bisulfit (HSO3-), sulfit (SO32-) si pirosulfit (S2O52-) constituie SO2 liber. Anionul bisulfit reactionand cu diferiti componenti ai vinului formeaza SO2 combinat sau legat. Acidul sulfuros liber impreuna cu cel combinat formeaza ceea ce numim SO2 total.
Acidul sulfuros liber reprezinta proportii cuprinse intre 15 si 30 % din cel total. Este fractiunea care se titreaza direct cu o solutie de iod de o anumita normalitate.
In cadrul SO2 liber, cel solvit fizic (0,5 - 1,5 %) si H2SO3 molecular, nedisociat (0,5 - 9,5 %) constituie fractiunea cunoscuta sub numele de acid sulfuros activ, reprezentand 2-10 %. Acidul sulfuros activ este cel care imprima vinului mirosul inecacios, sulfuros, fiind singura fractiune care exercita actiune asupra miroorganismelor.
Acidul sulfuros disociat ionic (HSO3-, SO32-, S2O52-), care reprezinta 90 - 98 % din cel liber, nu are actiune antiseptica si nu prezinta miros specific sulfuros. O oarecare actiune antioxidanta exercita forma sulfit (SO32-), avand capacitatea de a lega oxigenul in prezenta metalelor cu valenta variabila (fier si cupru).
Acidul sulfuros combinat reprezinta 70 - 85 % din cel total. Combinarea anhidridei sulfuroase are la baza proprietatea ionilor bisulfit (-HSO3) de a forma compusi de aditie cu constituentii organici polari, sau usor polarizabili din vinuri (Schopfer, F.J., Aerny, J. - 1985). Se considera insa ca forma combinata a anhidridei sulfuroase apare in vinuri si ca urmare a reactiilor care au loc intre acidul sulfuros (H2SO3) cu diferite substante din vinuri (Antonelli Andrea, Arfelli, G. - 1993). Principalii constituenti in masura sa combine proportii importante de ioni bisulfit sau acid sulfuros sunt cei care contin functii carbonilice (aldehidica - CHO si cetonica C = O).
Combinatia acidului sulfuros cu aldehida acetica este cea mai importanta, ea reprezentand 50-80 % din acidul sulfuros combinat. Aldehida acetica este primul constituent al vinului care se combina cu SO2 si numai dupa aceea au loc combinarile celorlalti constituenti.
Reactia de combinare dintre etanal si SO2 se prezinta astfel:
![]()
H OH
CH3 - C + SO2 + H2O ↔ CH3 - C ─ H
O SO3H
44 64 18 126
Aldehida acetica Acid aldehidosulfuros
Acidul aldehidosulfuros se constituie in fractiunea stabila a
SO2 (ea fiind o
combinatie foarte puternica), fara nici o actiune
dintre cele atribuite anhidridei sulfuroase active.
O pondere mai insemnata (10-12 %) o prezinta combinatiile cu acizii cetonici (piruvic si cetoglutaric) si cele cu glucidele.
Combinatia cu acidul piruvic nu prezinta nici un fel de eficacitate, pe cand cea cu acidul α-cetoglutaric manifesta un oarecare grad de disociere, motiv pentru care se considera a fi un fel de ″rezerva″ sau ″depozit″ de SO2 pe care il elibereaza cand fractiunea libera dispare din produs (Usseglio-Tomasset, L. - 1985).
Combinatiile cu glucidele. Monoglucidele cu lant deschis (in structura carora se afla functie aldehidica si cetonica) se combina cu SO2 in proportii ceva mai mici (2-6 %), intrucat ele constituie forme de tranzitie, in echilibru cu formele ciclice (furanozele si piranozele). Acest aspect explica si constanta mai ridicata de reversibilitate a combinatiilor SO2 cu glucidele.
Dioxidul de sulf se combina si cu unii constituenti ai vinului in compunerea carora nu se afla functii carbonil. Astfel, SO2 se poate fixa pe gruparile tiol ale proteinelor, iar ionul bisulfit (SO3H-) se aditioneaza pe carbonul antocianilor din pozitiile 2 sau 4 determinand o anumita decolorare a vinului rosu. Aceasta decolorare este reversibila, antocianii revenind la starea initiala dupa descompunerea combinatiei.
Combinatiile SO2 in vinurile provenite din struguri afectati de putregaiul cenusiu. Se cunostea de mai multa vreme, ca musturile si vinurile provenite din struguri avariati de microorganisme antreneaza in aceste combinatii cantitati mai mari de SO2 si ca atare continuturile in SO2 total sunt mai mari decat in produsele obtinute din recolte in buna stare fitosanitara (Sapis, J.C. - 1971).
Principalii compusi responsabili pentru combinarea SO2 (5-oxofructoza, γ-gluconolactona, σ -gluconolactona), la care se mai pot adauga dihidroxiacetona si gliceroaldehida, sunt produsi ai metabolismului bacteriilor acetice din genul Gluconobacter, care actioneaza asupra hexozelor din strugurii atacati de Botrytis cinerea.
2.2. ACTIUNILE SO2 IN MUST, MUSTUIALA SI VIN
Actiunea antiseptica. Se apreciaza ca activitatea fiziologica a anhidridei sulfuroase asupra microorganismelor specifice vinificatiei variaza de la cel mai inalt grad de toxicitate la totala inocuitate. La unele bacterii anaerobe procesul de crestere poate fi chiar stimulat de prezenta SO2 (Schopfer, F.J., Aerny, J. - 1985).
Actiunea antiseptica este exercitata mai cu seama de acidul sulfuros molecular, adica in stare nedisociata (H2SO3). Proportiile acestei fractiuni active depind in mod esential de continuturile in anhidrida sulfuroasa libera si pH.
Asupra diferitelor categorii de microorganisme, acidul sulfuros molecular (H2SO3) isi exercita in mod selectiv influenta: la 0,1 mg/l inhiba activitatea bacteriilor si mucegaiurilor; la 0,5 mg/l inhiba activitatea levurilor oxidative (Candida); la 0,8 mg/l inhiba activitatea levurilor de fermentatie alcoolica (Orsi Laura - 1998).
Anhidrida sulfuroasa libera actioneaza cu eficacitate sporita asupra bacteriilor lactice precum si impotriva bacteriilor acetice (apartinand genurilor Acetobacter si Gluconobacter), microorganisme aerobe deosebit de periculoase pentru calitatea vinului.
Rezistenta mai mare a levurilor de fermentatie la SO2 se datoreaza faptului ca celulele acestora sunt mai mari decat cele ale bacteriilor fiind ″dotate″ si cu echipamente enzimatice ″mai bine pregatite pentru viata″ (Teodorescu, St. - 1976).
Actiunea selectiva a SO2 se manifesta chiar si in cadrul grupului levurilor. La acelasi grad de sulfitare in must si vin sunt mai sensibile levurile salbatice apartinand genurilor Kloekera si Torulopsis (si ele cu celule mici si echipamente enzimatice slabe), decat cele folosite pe scara larga in vinificatie, apartinand speciilor Saccharomyces ellipsoideus si Saccharomyces oviformis (bayanus).
Actiunea antioxidanta a anhidridei sulfuroase se datoreaza proprietatilor sale reducatoare. Administrat in must si vin SO2 impiedica degradarea, prin oxidare, a unor constituenti de baza ai vinului (alcoolul etilic, antocianii, aromele s.a.). Aceste fenomene de oxidare au consecinte negative mai cu seama de ordin organoleptic, stiindu-se ca atat substantele colorante, cat si aromele specifice de soi (care confera prospetime si expresivitate vinurilor) sunt foarte labile la actiunea oxigenului.
In produsele vinicole diferitii constituenti oxidabili pot fi afectati de o oxidare chimica pura sau de o oxidare catalizata de enzime (din categoria oxidazelor).
Se mentioneaza ca intr-o solutie apoasa pura, oxidarea chimica a alcoolului etilic in aldehida acetica de catre oxigen este nesemnificativa. In vin insa procesul are loc (mai mult sau mai putin intens), fiind cuplat cu alte reactii de oxidare, cu eliberarea anumitor peroxizi de hidrogen si radicali liberi, conform urmatoarelor mecanisme chimice:
O2 + H+ + 2e- → HO2
O2 + 2H+ + 2e- → H2O2
2HO2 → H2O2 + O2
H2O2 + H+ + e- → H2O + HO
Acesti peroxizi sau radicali oxideaza rapid SO2 liber, impiedicand, in acest mod, oxidarea altor constituenti din must si vin printre care si alcoolul etilic (Schopfer, F.J., Aerny, J. - 1985). Dar si constituentii fenolici joaca un rol important in formarea radicalilor liberi:
Actiunea antienzimatica (antioxidazica)a SO2 se manifesta mai cu seama asupra unor enzime din clasa polifenoloxidaze, dintre care tirozinaza si lacaza (identificate de Dubernet, M. - 1974) sunt cele responsabile de brunificarea musturilor si vinurilor, transformare cunoscuta sub numele de casarea oxidazica sau casarea bruna.
In prezenta oxigenului, polifenoloxidazele mentionate oxideaza ortodifenolii rezultand chinone de culoare galben-bruna sau bruna (la vinurile albe) si caramizie (la vinurile rosii), conform urmatorului mecanism general:
Polifenoloxidaza
Ortodifenol + 1/2O2 Chinona
+ H2O
Actiunea acidifianta a SO2 este indirecta, opunandu-se degradarii acizilor organici (tartric, malic, citric) de catre bacterii si datorita transformarii unei parti din H2SO3, prin oxidare, in H2SO4. Mai poate fi luata in considerare si actiunea de desalificare a unei parti din bitartratul de potasiu de catre H2SO3.
2COOH - CHOH - CHOH - COOK + H2SO3 → 2COOH - CHOH - CHOH - COOH+ K2SO3
Actiunea clarifianta a SO2 se refera, de fapt, la posibilitatea de a realiza limpezirea si deburbarea mustului la vinificarea in alb. Aditionat in must, SO2 intarzie activitatea levurilor pe o perioada de 10-15 ore, cunoscuta in practica vinicola sub numele de ″liniste biologica″. In acest timp, lipsind CO2 (ce rezulta prin fermentatie), in masa mustului nefiind nici un fel de miscare, particulele cu densitate mai mare decat cea a mustului se deplaseaza pe verticala in sens descendent (conform Legii lui Stockes), adunandu-se intr-un depozit numit burba.
Actiunea dizolvanta se manifesta mai cu seama la obtinerea vinurilor de maceratie. La vinificarea in rosu, roze si aromat SO2 produce modificari ale permeabilitatii membranelor celulelor pielitelor boabelor, care, in aceste conditii, cedeaza mai usor constituentii polifenolici (antociani si taninuri), aromele (constituentii terpenici) si sarurile minerale.
Inconvenientele folosirii dioxidului de sulf in industria vinicola se datoresc fie dozelor mai mici sau mai mari fata de cele necesare, fie administrarii in momente nepotrivite de-a lungul procesului de preparare a vinurilor. Riscurile sau inconvenientele se refera la: repartitia neuniforma in masa mustuielii, mustului si vinului; decolorarea momentana a musturilor si vinurilor cu continuturi in antociani; corodarea suprafetelor metalice; afectarea starii de sanatate a consumatorilor; inhibarea fermentatiei malolactice (FML); formarea de mirosuri sulfhidrice respingatoare; inrautatirea insusirilor organoleptice ale vinurilor (Hernandel Ruiz Manuel - 1985; Bidan, P., Collon, Y. - 1985; Pomohaci, N. si col. - 2000).
Formarea de mirosuri sulfhidrice reprezinta unul dintre cele mai mari riscuri ale folosirii nerationale a SO2 in industria vinicola. Mirosurile sulfhidrice dezagreabile sunt imprimate de hidrogenul sulfurat (H2S), mercaptani si disulfurile alchilice. Ele apar cand s-au aplicat doze exagerate de SO2 in fazele prefermentative, cand sulfitarea a intervenit in timpul fermentatiei (in special a fazei tumultoase), cand s-a intarziat tragerea vinului de pe drojdie (mai cu seama cand s-au aplicat si doze sporite de SO2).
2.3. FORMELE SUB CARE SE FOLOSESTE DIOXIDUL DE SULF IN INDUSTRIA VINICOLA
Sub forma gazoasa. Se obtine prin arderea sulfului (pucioasei). Reactia se prezinta astfel:
S + O2 = SO2
32 g + (16 x 2) g = 64 g
Sub forma de anhidrida sulfuroasa lichefiata. SO2 lichefiaza relativ usor in comparatie cu alte gaze. Lichefierea are loc la temperatura obisnuita (18 - 200C) si presiune de 3 atmosfere sau la presiune normala si -150C. Este forma cea mai pura a anhidridei sulfuroase, fiind preferata in practica sulfitarii produselor vinicole. Se livreaza in butelii de otel rezistente la presiuni de minimum 12 atmosfere.
In vederea folosirii anhidrida sulfuroasa lichefiata se transfera din butelie intr-un aparat numit sulfitometru, prevazut cu tuburi de sticla gradat. Printr-o tehnica speciala SO2 lichefiat trece din butelie in sulfitometru, in aceeasi stare, ea putand fi masurata cu exactitate in raport cu doza considerata si cantitatea de must sau vin ce trebuie sulfitate.
Sub forma de solutie apoasa. Aceasta se prepara prin dizolvarea anhidridei sulfuroase lichefiate in apa, fara nici un fel de impuritati fizice si cu proportii cat mai mici de saruri. La temperatura obisnuita se poate ajunge la concentratii de pana la 8 % (adica 8 g SO2 in 100 ml solutie). Solutiile apoase de peste 7 % sunt insa instabile, pierzand cu usurinta o parte din SO2. De aceea, cele mai potrivite concentratii sunt de 5 - 6 %.
Sub forma de saruri ale acidului pirosulfuros. In trecut s-a folosit pe scara larga metabisulfitul de potasiu sau pirosulfitul de potasiu (S2O5K2) cristalizat.
In contact cu acizii tari ai mustului si vinului metabisulfitul de potasiu se descompune eliberand anhidrida sulfuroasa. Teoretic, SO2 eliberat reprezinta 57,6 % din greutatea metabisulfitului intrat in reactie. Datorita impuritatilor incorporate in produs, in mod practic se conteaza pe 50 % anhidrida sulfuroasa. Asadar, din 10 g metabisulfit rezulta, efectiv, 5 g SO2.
Sub forma de comprimate efervescente. In ultimii 4-5 ani a aparut o noua posibilitate de administrare a anhidridei sulfuroase in industria vinicola si anume, sub forma de comprimate efervescente (Valade, P.S., Bras, Le.G. - 1998). Comprimatele sunt constituite din metabisulfit de potasiu (K2S2O5) si bicarbonat de potasiu (KHCO3).
Dupa cum s-a prezentat mai sus, metabisulfitul de potasiu (sare alba cristalizata foarte solubila) contine 57,63 % SO2. Incorporeaza insa si 35,17 % potasiu.
Bicarbonatul de potasiu din combinatie reprezinta agentul de efervescenta, dat fiind faptul ca, in mediul acid al mustului si vinului, determina eliberarea anhidridei sulfuroase. Efervescenta se produce printr-o reactie acido-bazica intre bicarbonatul de potasiu si acizii organici din must sau vin.
Mecanismul efervescentei este ilustrat de urmatoarele reactii:
k1
KHCO3 + H+ ↔ K+ + H2CO3
k1 = 1,58 x 10-4
pk1 = 3,8
k2
K+ + H2CO3 ↔ K+ + H2O + CO2
k2 = 5 x 10-3
pk2 = 2,3
2.4. MOMENTELE APLICARII ANHIDRIDEI SULFUROASE
IN INDUSTRIA VINICOLA
Sulfitarea la prelucrarea strugurilor vizeaza protectia antioxidanta a substantelor odorante si colorante, constituenti usor degradabili sub actiunea aerului. In acelasi timp se urmareste inhibarea sau chiar eliminarea bacteriilor si levurilor din microflora spontana care prin numarul lor considerabil pe struguri si viteza mare de inmultire pot constitui un real pericol.
Sulfitarea dupa terminarea fermentatiei alcoolice se practica la 10-15 zile dupa terminarea fermentatiei tumultoase, cand se considera ca a fost atins pragul de absorbtie al aldehidei acetice, adica atunci cand continutul de acetaldehida nu mai scade prin reducerea ei in alcool etilic, iar proportiile mici de CO2 nu mai asigura protectia antioxidanta.
Se mentioneaza ca la acest moment sulfitarea atrage rezultate pozitive, sub raport antiseptic si antioxidant, cand SO2 se aplica intr-o singura doza de 60-70 mg/l, care sa poata asigura, in prima faza, 35-40 mg/l SO2 liber (Pomohaci, N. si col. - 2000).
Sulfitarea pentru corectia continuturilor de SO2 pe parcursul fazelor de formare si maturare ale vinului se aplica, ori de cate ori, fractiunea libera tinde sa coboare sub nivelurile considerate ca apte sa asigure protectia antioxidanta si antiseptica.
Sulfitarile pe parcursul pastrarii vinurilor intervin cand la cele seci SO2 liber scade sub 20 mg/l, la cele cu zahar rezidual sub 45 mg/l, iar la cele rosii seci sub 10 mg/l. De fiecare data proportiile de SO2 liber trebuie aduse la 30 mg/l pentru vinurile albe seci si 50 mg/l la vinurile albe demiseci, demidulci si dulci si aromate, tinandu-se seama ca SO2 total stabilit pentru diferitele categorii de vinuri sa nu fie depasit.
Dozele pentru corectarea continuturilor de SO2 liber se vor stabili pe baza determinarii capacitatii de combinare a anhidridei sulfuroase. Analizele trebuie efectuate, de fiecare data, la 200C, stiindu-se ca proportiile de SO2 liber variaza semnificativ in functie de temperatura.
Sulfitare la imbuteliere se realizeaza prin injectarea direct in sticla a unei solutii concentrate de SO2, corect cuantificata. Solutia se poate pregati cu apa distilata sau cu vinul care urmeaza a fi imbuteliat, cu conditia ca pH-ul sa fie adus pana la 2, cu acid citric, in situatia folosirii metabisulfitului de potasiu ca sursa de anhidrida sulfuroasa. Este mai avantajos insa, folosirea unei solutii preparate din SO2 lichefiat si vinul ce urmeaza a fi imbuteliat (Delfini, C., Conterno, L. - 2000).
2.5. ASPECTE PRIVIND TOXICITATEA SI TOXICOLOGIA SO2
Studiile pe tema folosirii SO2 in vinificatie si practica indelungata in domeniu au stabilit ca anhidrida sulfuroasa este un toxic cu un grad ridicat de periculozitate in aer. Astfel: limita minima de perceptie olfactiva este de 0,8 mg/m3; concentratia maxima admisa in crama si pivnita este de 2,66 mg/m3; concentratia periculoasa prin expunere (60 minute) este de 270 mg/m3; concentratia periculoasa pentru sanatatea omului este cuprinsa intre 1000 si 1300 mg/m3 (in aceste cazuri fiind pericol de moarte). Conversia: 1 mg/m3 = 0,376 ml/m3.
Se mentioneaza ca in concentratii sporite SO2 produce numeroase afectiuni asupra organismului uman: ataca pielea, ochii si caile respiratorii; poate produce alergii, dureri de cap, conjunctivite dureroase, bronhopneumonii, edeme pulmonare; in cazuri speciale (concentratii excesive) poate provoca chiar stop cardiac.
3. COMPOZITIA CHIMICA SI BIOLOGICA
A MUSTULUI DE STRUGURI
In urma prelucrarii strugurilor in care sunt implicate operatiunile de zdrobire, desciorchinare si presare rezulta mustul de struguri. Acesta are o compozitie complexa sub raport chimic, biochimic si biologic.
Sub raport cantitativ, cel mai important constituent este apa, care ocupa proportii cuprinse intre 70 si 85 %. In ea fiind dizolvati alte multe categorii de constituenti. Urmeaza in ordine: glucidele, acizii, substantele azotate, compusii polifenolici, substantele minerale, substantele odorante, vitaminele, enzimele s.a.
3.1. GLUCIDELE sunt incadrate in oze si ozide. Ozele se impart in hexoze si pentoze. Dintre hexoze se mentioneaza: glucoza, fructoza si galactoza. Pentozele sunt reprezentate de xiloza, arabinoza, ramnoza si riboza.
Ozidele sunt reprezentate de: zaharoza, maltoza, xilani, arabani, glucani.
Poliozidele sunt reprezentate: xilani, arabani si glucani.
Dintre ozidele cu molecula mare in must se gasesc: substante pectice, gume, mucilagii. Heterozidele se gasesc sub forma de substante tanante si substante colorante.
Cele mai importante glucide sunt glucoza si fructoza, ele reprezentand peste 95 % din totalul acestor constituenti.
Glucoza. Este o aldohexoza numita si dextroza, intrucat, in solutie apoasa, determina o rotatie polarimetrica spre dreapta cu +52,50.
Datorita functiei aldehidice de la C1, glucoza se inscrie printre constituentii mustului si vinului in masura sa lege anumite proportii de aldehida sulfuroasa, rezultand acid glucozo-sulfuros.
Glucoza prezinta o putere indulcitoare mai mica decat cea a zaharozei. In acest sens s-a stabilit ca gradul de dulceata al glucozei reprezinta 0,74, fata de 1 cat se considera a fi cel al zahrozei.
Glucoza din must (numita si zahar din struguri9 are un grad ridicat de fermentescibilitate, ea fiind mai usor metabolizata decat fructoza. Din glucoza, prin fermentatie, rezulta alcool etilic si CO2 (ca produsi principali), cu eliberarea unei parti din energia acumulata prin fotosinteza si glicerol, aldehide, acizi ficsi si volatili, acetoina s.a. (ca produsi secundari).
Fructoza. Este o cetohexoza numita si levuloza, dat fiind faptul ca roteste planul luminii polarizate catre stanga cu -92,40.
Puterea indulcitoare a fructozei este evident mai ridicata in comparatie cu cea a zaharozei si glucozei. Considerand gradul de dulceata al zaharozei 1 si cel al glucozei 0,74, la fructoza acesta are valoarea 1,73, reiesind ca aceasta din urma este cu mult mai dulce, pentru aceeasi unitate de masura, decat glucoza, cu care formeaza, in masura hotaratoare 'zestrea' glucidica a mustului de struguri.
Fructoza este mai greu combustionata pe cale respiratorie si mai putin fermentescibila decat glucoza. De aceea ea prezinta proportii superioare fata de glucoza, atat in strugurii supramaturati, cat si in vinurile demidulci si dulci naturale (cum sunt cele de Cotnari si Sauternes), carora le imprima o dulceata cu nuante de miere de albine.
Pentozele. Sunt dupa cum arata denumirea oze cu 5 carboni, reducatoare, dar nefermentescibile. Prezinta in must continuturi modeste, in comparatie cu hexozele. Se mentioneaza ca in vinurile albe continuturile de pentoze se situeaza intre 0,3 si 0,5 g/l, iar la cele rosii pot ajunge - in functie de tehnica presarii - pana la 2 g/l (Cotea, D.V. - 1985).
Pentozele din struguri si must se gasesc, in principal, sub forma combinata. In urma unor procese de hidroliza pentozele sunt insa eliberate, astfel ca in vinuri sunt prezente ca atare (arabinoza, xiloza, riboza si ramnoza).
Ozidele. Sunt constituenti ai mustului rezultati in urma unor reactii de eterificare. Daca la reactiile de eterificare participa numai molecule de oze se formeaza holozide. Cand procesul de eterificare se petrece intre moleculele de oze si alte substante rezulta heterozide.
Zaharoza, apartinatoare grupului de oligozide nereducatoare, este constituita dintr-o molecula de α D (+) glucopiranoza si una de β D (-) fructo-furanoza.
In musturile provenite din soiuri nobile (apartinand speciei Vitis vinifera) continuturile de zaharoza nu depasesc 3 g/l. La musturile de hibrizi producatori direct proportiile de zaharoza sunt mai mari, atingand valori de pana la 6 - 8 g/l.
Zaharoza nu este direct fermentescibila. Cand este adaugata in must, sub actiunea invertazei si a acizilor este scindata in glucoza si fructoza, monoglucide fermentescibile.
Poliozidele sunt substante complexe, constituite dintr-un numar considerabil de monoglucide. In mustul de struguri se gasesc poliozide omogene (formate din oze de acelasi tip) si poliozide neomogene (cand ozele componente sunt diferite).
In struguri, poliozidele omogene sunt reprezentate de: xilani si arabani (polimeri ai pentozelor) si glucani si fructani (polimeri ai hexozelor), iar poliozidele neomogene (numite si poliuronide) de substantele pective, gumele si mucilagiile.
Substantele pectice sunt prezente in must sub forma de acid pectic, pectina si protopectina.
Gumele vegetale - sunt poliuronide in componenta carora intra substantele asemanatoare pectinelor, acid glucuronic, pentoze (arabinoza si ramnoza) si hexoze (galactoza si manoza). Ele au o structura ramificata si foarte complexa (Usseglio-Tomasset, L. - citat de Cotea D.V. - 1985).
Substantele mucilaginoase sunt poliuronide, structural asemanatoare cu pectinele si gumele vegetale. Nu se gasesc in musturile provenite din struguri sanatosi. Se afla insa in proportii semnificative in musturile obtinute din struguri atacati de putregaiul cenusiu.
3.2. ACIZII
Sunt substante cu gust acru, a caror denumire provine de la cuvantul latinesc acidus.
In mustul de struguri exista un numar important de acizi impartiti in doua categorii: acizi minerali si acizi organici.
Acizii minerali (in continuturi globale de cele mai multe ori sub 1 g/l) sunt in general substante tari, cu constanta de disocire ridicata, motiv pentru care acestia se gasesc in totalitate neutralizati (sub forma de saruri neutre ionizate). Aceste saruri pot fi: sulfati, cloruri, fosfati de potesiu, calciu, magneziu.
Acizii organici sunt combinatiile in care se afla grupa functionala carboxil (-COOH). Cunostintele privind acizii organici au inregistrat un progres considerabil catre sfarsitul secolului al XVIII-lea datorita studiilor efectuate de Scheele, care a reusit sa izoleze acidul malic, din mere; acidul oxalic, din macris; acidul citric, din lamai; acidul lactic, din lapte acru s.a. (Nenitescu, C. - 1966).
In mustul de struguri acizii organici se impart in: monobazici (monocarboxilici) si polibazici (policarboxilici). Dintre acizii monocarboxilici se metioneaza acizii: galacturonic, glucuronic, glicolic, gluconic, shikimic, chinic, ceto-2-gluconic, diceto-2,5-gluconic. Unii dintre ei sunt inexistenti, altii putand prezenta continuturi intre urme si 1000 mg.
Acizii polibazici sau policarboxilici sunt reprezentanti in mustul de struguri de acizii: tartric, malic, citric, oxalic, fumaric, mucic.
Acizii monobazici pot exista in stare libera, cand grupa functionala carboxil se afla ca atare (-COOH) sau total 'legati', cand in grupa functionala carboxil H este inlocuit cu un alt element (ex. - COOK).
3.3. SUBSTANTELE AZOTATE DIN MUST
Acest grup de substante inglobeaza toti constituentii care contin in molecula elemetul azot.
Proportiile de substante azotate din must se situeaza intre 0,2 si 1,4 g/l ca azot total. In vin aceste continuturi sunt mai mici, ele osciland intre 0,08 si 0,4 g/l la vinurile albe si intre 0,15 si 0,7 g/l la vinurile rosii.
Substantele azotate din must se gasesc sub doua forme: minerala si organica. Azotul mineral exista mai ales sub forma de saruri de amoniu: ClNH4, SO4(NH4)2, PO4(NH4)3 si in proportie extrem de mica sau deloc sub forma de azotati.
Sarurile de amoniu constituie sursa principala de hrana azotata pentru levuri intrucat cationul NH4+ este direct asimilat de catre levuri, constituind de fapt, hrana preferata pentru aceste microorganisme.
Azotul organic se prezinta sub mai multe forme: in continuturi foarte mici, sub forma de heterozide (amigdalina si glucozamina) si in continuturi mai mari, sub forma de protide (aminoacizi, amide, polipeptide si protide).
3.4. COMPUSII FENOLICI AI MUSTULUI
In aceasta categorie de substante se inscriu: acizii fenolici, substantele tanante, substantele colorante (pigmentii).
Acizii fenolici sunt combinatii organice care contin in molecula functii carboxil (-COOH) si oxidril (-OH) legate pe nucleu aromatic. Din aceste categorii fac parte acizii hidroxibenzoici si hidroxicinamici.
Taninurile sunt considerate a fi compusi cu functii fenolice a caror masa moleculara se situeaza intre 500 si 3000. La masa moleculara de peste 3000 taninurile nu mai precipita.
In functie de comportarea la agentii hidrolizanti, taninurile din mustul de struguri se impart in: hidrolizabile si nehidrolizabile.
Taninurile hidrolizabile sunt cele care sub actiunea acizilor tari si a enzimelor hidrolizante se descompun intr-o monoglucida (de obicei glucoza) si acizii fenolici cum sunt: acidul galic, acidul digalic, acidul elagic. In cea mai mare masura aceste taninuri provin din lemnul butoaielor sau budanelor.
Taninurile nehidrolizabile (catehinice sau condensate) nu se scindeaza nici sub actiunea acizilor si nici a enzimelor hidrolizante. Sunt derivati hidroxilati ai flavanului, motiv pentru care se cunosc si sub numele de flavanoli. Dintre flavanoli, in mustul de struguri se gasesc doua grupe importante: catechinele si leucoantocianidinele.
Catechinele sunt hidroxiderivati ai 3-flavanului. Cei mai importanti reprezentanti sunt: catechina si galocatechina.
Leucoantocianidinele sunt hidroxiderivati ai 3, 4, flavanului. Din acest grup cei mai importanti constituenti sunt: leucocianidina si leucodelfinidina. Acesti constituenti sunt incolori. Prin incalzire in mediul acid o parte se transforma in antocianidine de culoare rosie.
Substantele colorante (pigmentii)
In strugurii verzi, in faza de crestere erbacee, se gasec clorofilele A si D. Acestea dispar in timpul maturarii strugurilor, astfel ca in must si apoi in vin se gasesc flavonele sau pigmentii galbeni si antocianii sau pigmentii rosii. Acesti pigmenti se biosintetizeaza in struguri pe parcursul maturarii sau coacerii.
Flavonele sunt substante colorate in galben sau galben-brun. Acesti constituenti deriva de la flavona. Derivatii hidroxilati ai flavonei se numesc flavonoli. Dintre flavonoli mai importanti sunt constituentii numiti: Kaemferol, Quercetina, Miricetina.
Antocianii sunt heterozide colorate in rosu sau albastru, in functie de pH-ul mediului. Ei se compun dintr-un constituent fenolic care este colorantul propriu-zis numit antocianidina si din 1 sau 2 molecule de glucide (in special glucoza). Antocianidinele au in comun un schelet de tip fenil-2-benzopirilium in componenta caruia se afla un nucleu cromanic si un nucleu benzenic.
In raport cu numarul functiilor - OH grefate pe nucleul benzenic antocianidinele din strugurii negri ajunse in must apartin la doua tipuri: cianidina si delfinidina. Antocianii din must deriva de la tipul delfinidina sau delfinidol.
Substantele odorante numite inca si uleiuri eterice se gasesc in must in numar ce depasesc 250-300. Se mentioneaza ca toate soiurile prezinta o aroma specifica. Cele mai intense arome se inregistreaza in musturile de hibrizi producatori direct si in cele provenite din strugurii sortogrupului Muscat. Nuantele sunt insa diferite. In timp ce la musturile de hibrizi au un caracter foxat respingator imprimate de antranilatul de metil, la cele de tip muscat aromele evidentiaza nuante foarte placute, fiind conferite de compusii terpenici liberi sau ca precursori de arome. Printre cei mai importanti compusi terpenici se inscriu cei care se numesc: geraniol, α-terpineol, linalol, nerol, limonen. In soiurile din sortogrupul muscat proportiile de terpene se situeaza intre 0,3 si 3,5 mg/l.
Biocatalizatorii mustului de struguri, sunt factori activi provenind din struguri sau prin secretia microorganismelor specifice vinificatiei. Indiferent de origine, biocatalizatorii se impart in doua importante grupe: vitamine si enzime.
Vitaminele se gasesc in mustul de struguri in proportii insemnate. Ele confera produsului o valoare igieno-alimentara ridicata si se constituie in factori importanti de stimulare a activitatii tuturor categoriilor de microorganisme, fie folositoare, fie daunatoare.
Dintre vitaminele existente in must mai importante sunt: A, B, C, H, PP, acizii folici, colina si mezoinozitolul.
In genral vitaminele se impart in liposolubile si hidrosolubile. Dintre cele liposolubile se mentioneaza vitaminele A sau retinolii care provin din carotenii stocati in pielita boabelor de struguri. Din categoria vitaminelor hidrosolubile cele mai importante sunt: vitamina B1 (tiamina sau aneurina), Vitamina B2 (riboflavina), Vitamina B6 (piridoxina), vitamina B12 (cobalamina).
Dintre vitaminele cu rol deosebit pentru activitatea microorganismelor se inscriu si acidul pantotenic (Bios II A), mezoinozitolul (Bios I), vitamina H (Biotina sau Bios II B) si vitamina C (acidul ascorbic).
Enzimele sunt factori activi care biocatalizeaza toate procesele biochimice ale transformarii mustului in vin si pe cele care au loc pe parcursul pastrarii vinurilor in relatie cu microorganismele.
Enzimele au structura proteidica. Aceasta structura este fie holoproteidica, fie heteroproteidica. In cazul enzimelor cu structura holoproteidica rolul de coenzima este indeplinit de unele functii libere cum sunt: NH2, COOH, OH, SH. Pentru enzimele cu structura heteroproteidica coenzimele sunt substante cu structura variabila, cele mai importante fiind unele vitamine (B1, B2 s.a).
Marele numar de enzime din must se grupeaza in 6 clase, si anume: Oxidoreductaze (Tirozinaza, Laccaza, Peroxidaza, Oxigenaza); Transferaze (Glucokinaza, Fructokinaza, Piruvatkinaza); Hidrolaze (enzime pectolitice, Tanaza, Proteazele); Liaze (Piruvatdecarboxilaza, Malatdecarboxilaza); Izomeraze (Glucozofosfatizomeraza, Triozofosfatizomeraza); Ligaze (Sulfurilaza).
MICROFLORA SPECIFICA INDUSTRIEI VINICOLE
Compozitia biologica a mustului
Microflora specifica vinificatiei este foarte bogata. Din punct de vedere sistematic microorganismele specifice vinificatiei apartin la doua mari increngaturi: Bacteriophyta si Mycophyta.
4.1. INCRENGATURA BACTERIOPHYTA cuprinde bacteriile sau microbii. Acestea sunt microorganisme primitive unicelulare, microscopice care traiesc izolat sau in colonii.
Increngatura Bacteriophyta incadreaza doua ordine:
Ordinul Pseudomonadales cu familia Pseudomonadaceae care la randul ei cuprinde doua genuri: Acetobacter si Pseudomonas (bacterii acetice).
Ordinul Eubacteriales cu familia Lactobacillaceae care cuprinde genurile: Streptococcus, Pediococcus, Leuconostoc, Lactobacillus. Acestea formeaza grupul bacteriilor lactice. Dupa forma bacteriile lactice pot fi: coci si bacili. Atat cocii cat si bacilii pot fi: Homofermentativi si Heterofermentativi.
Bacilii homofermentativi produc prin degradarea hexozelor doua molecule de acid lactic. Bacteriile heterofermentative produc prin degradarea hexozelor diferiti constituenti ca: acidul lactic, acidul acetic, etanol, CO2 s.a.
Bacteriofagii sunt cele mai simple virusuri care paraziteaza bacteriile. In timp ce bacteriile poseda atat ADN cat si ARN, bacteriofagii contin un singur tip de acid nucleic, care poate fi ori ADN ori ARN.
4.2. INCRENGATURA MYCOPHYTA cuprinde fungii sau ciupercile. Din aceasta increngatura asupra strugurilor, mustului si vinului au incidenta aproximativ 22 de genuri care sunt incadrate in: mucegaiuri (ciuperci filamentoase), levuri (ciuperci monocelulare).
Principalele mucegaiuri cu implicatii directe sau indirecte in industria vinicola apartin claselor: Phycomicetae, Eumycetae si Grupul fungi imperfecti.
Din clasa Phycomicetae prezinta interes doua genuri si anume: Mucor si Rhizopus.
Dintre mucegaiurile din genul Mucor cel mai raspandit pe struguri este Mucor Ralemosus. Se dezvolta pe strugurii cazuti la pamant sau situati la partea inferioara a butucilor pe care se aseaza particule de pamant in timpul ploilor, fiind si mai putin aerisiti. Ajuns in must provoaca o slaba fermentatie alcoolica, sub actiunea asa-ziselor oidii sau drojdii mucor.
Rhizopus nigricans se dezvolta pe strugurii intrati in putrefactie. Prezinta spongi de culoare neagra, de unde i se trage numele. In must desfasoara o fermentatie slaba de pana la 1-2 vol. %.
Din clasa Eumycetae prezinta importanta doua genuri: Aspergillus si Penicillium.
Genul Aspergillus
Aspergillus glaucus se instaleaza in pivnite pe stelaje, dopuri. Miceliul cand este tanar are culoarea galben deschis. Cand este batran culoarea devine bruna-roscata-murdara.
Aspergillus niger are conidiofori de culoare brun-inchisa. Se instaleaza pe dopurile sticlelor din pivnite si hrube.
Genul Penicillium:
Penicillium glaucum se instaleaza in pivnitele neaerisite, imprimand mirosul greu de mucegai.
Penicillium luteum. Miceliul tanar are culoarea galben-pai, mai tarziu culoarea devine verde-masliniu.
Penicillium purpurigenum se instaleaza in special pe dopurile sticlelor. Contine un colorant solubil ce poate patrunde in vin imprimandu-i o coloratie rosietica.
Din clasa Fungi imperfecti pac parte: Dematium pullulans, Cladosporium cellare, Botrytis cinerea, Mucegaiuri din genul Merulius.
4.3. LEVURILE
Sunt microorganisme unicelulare apartinand marelui grup al fungilor sau ciupercilor (Increngatura Mycophita) capabile sa provoace transformari profunde in musturi si vinuri.
Importanta levurilor este enorma dat fiind faptul ca intre ele se gasesc atat agentii veritabili ai fermentatiei alcoolice, cit si agentii unor transformari nedorite sau boli grave. Levurile detin un puternic echipament enzimatic, conferindu-le - printre altele - o remarcabila capacitate fiziologo-biochimica de a metaboliza hexozele, in anaerobioza pentru a obtine energia de care au nevoie in procesele lor vitale. In urma acestui proces complicat rezulta alcool si CO2, precum si alti produsi de catabolism, ceea ce inseamna, de fapt, transformarea mustului in vin.
Clasificarea levurilor
Levurile fac parte din: ramura Thalophyta (adica organisme vii, cu aparat vegetativ nediferentiat). Clasa (subclasa) Ascomycetae; ordinul Endomycetales. Acest ordin prezinta mai multe familii, dintre care cea mai importanta sub raport oenologic este Familia Endomycetaceae. La randul ei aceasta familie se subdivide in mai multe subfamilii. Pentru oenologie prezinta interes numai subfamilia Saccharomycetoideae. In aceasta subfamilie se incadreaza mai multe genuri cu importanta pentru industria vinicola.
In functe de capacitatea lor de a forma sau nu spori, levurile se impart in doua mari categorii: sporogene si asporogene.
Din categoria celor sporogene fac parte urmatoarele genuri:
Genul Saccharomyces. Levurile din acest gen au forme diferite: rotunda, alungita sau filiforma. Prezinta 1-4 spori in asca, ei putand fi rotunzi sau ovali. Principalele specii din acest gen sunt: Saccharomyces acidifaciens, Saccharomyces chevalieri, Saccharomyces heterogenicus, Saccharomyces oviformis, Saccharomyces ellipsoideus.
Genul Zygosaccharomyces. Levurile din acest gen sunt deosebit de rezistente la concentratii foarte ridicate de zaharuri, fiind capabile sa initieze fermentatii chiar la proportii de 500-600 g/l glucide.Datorita acestui fapt ele poarta numele de levuri osmofile, mai ales formele haploide.
Genul Torulaspora prezinta importanta prin aceea ca in timpul fermentatiei produce cantitati mici de acizi volatili. Formeaza pelicula la suprafata vinurilor dar de alta natura decat cea produsa de floarea vinului-Micoderma.
Genul Saccharomycodes cu speciile: Saccharomycodes Ludwigii, Saccharomycodes Bisporum, Saccharomycodes Mestris. Aceste levuri au putere alcooligena mica in schimb sunt foarte rezistente la anhidrida sulfuroasa.
Genul Schizosaccharomyces. Celulele speciilor din acest gen se inmultesc prin sciziune. Astazi se stie ca aceste levuri pot metaboliza acidul malic pe cale nelactica producand alcool etilic.Doua specii sunt mai importante: Schizosaccharomyces pombe si Schizosaccharomyces acidodevoratus.
Genul Torulopsis cu doua specii mai importante: Torulopsis bacillaris si Torulopsis stellata. Celulele acestei specii au forma rotunda, sunt mici, asemanatoare bacteriilor. Au putere alcooligena scazuta, producand alcool pana la 6-7 vol %.
Genul Bretanomyces contamineaza vinurile, provocand boli grave. Urmare activitatii lor, in produs apar proportii mari de acid acetic si alte substante urat mirositoare.
Genul Kloeckera. Pe struguri se gaseste in cea mai mare proportie fata de toate celelalte genuri si specii. Celulele au forma apiculata, sunt considerate levuri salbatice intrucat produc continuturi scazute in alcool (4-5 vol %).
Genul Candida (Mycoderma) produce floarea vinului (boala aeroba). La suprafata vinului infectat produce o pelicula alba-cenusie formata din pseudomicelii. Sub pelicula alcoolul este transformat in aerobioza in CO2 si apa.
Genul Kluyveromices. Levurile din acest gen au capacitatea sa metabolizeze cantitati considerabile de acid L (+) lactic. Acestui gen ii apartin unele rase capabile sa ucida alte specii de levuri. De aceea se numesc suse sau rase killer.
5. PRINCIPALELE PROCESE CARE DETERMINA TRANSFORMAREA MUSTULUI IN VIN
Respiratia si fermentatia ca fenomene ale catabolismului.
In respiratie se elibereaza, dintr-o data, o mare cantitate de energie:
C6H12O6 + 6O2 → 6CO2 + 6 H2O + 673 cal
In acest caz acceptorul de hidrogen este oxigenul. Drept urmare, unul din produsii finali este apa si celalalt este CO2.
In fermentatie (fenomen ce are loc in anaerobioza) acceptorul de hidrogen nu mai este oxigenul ci alte substante (ex. aldehida acetica). Ecuatia globala:
C6H12O6 → 2CH3 - CH2OH + 2CO2 + 33 cal
Se formeaza alcoolul care detine inmagazinata o mare cantitate de energie, de aceea se elibereaza numai 33 calorii. Aceeasi specie sau acelasi gen de levuri efectueaza fie respiratia, fie fermentatia in functie de prezenta sau absenta oxigenului. In prezenta oxigenului se desfasoara respiratia, iar in absenta lui fermentatia alcoolica. Cele doua procese sunt desfasurate de microorganisme pentru a-si procura energia de care au nevoie, prin intermediul produsilor macroergici (ADP si ATP).
La transformarea mustului in vin, levurile desfasoara respiratia in faza initiala cand pentru a se inmulti au nevoie de o mare cantitate de energie. Cand aerul a fost consumat energia este procurata pe calea fermentatiei alcoolice insa in cantitati mult mai mici, dar suficiente pentru vietuirea microorganismelor. Pentru precizarea comportarii levurilor la diferite grade de aerare Pasteur a executat o explicatie care a devenit clasica.
V1: aerare abundenta
V2: aerare potrivita
V3: lipsa aerului
Constatari: La V1 s-a format cea mai mare cantitate de biomasa si o mica proportie de alcool. La V3 s-a format o mica proportie de biomasa si mari cantitati de alcool. Reiese deci, ca respiratia este o cale risipitoare de procurare a energiei de catre levuri.
Energia necesara levurilor
In general microorganismele nu pot folosi decat doua feluri de energie: luminoasa (radianta) - cele fototrofe si energia chimica (de oxidare). Levurile folosesc pe aceasta din urma, adica energia de oxidare.
Energia chimica nu este accesibila decat daca este eliberata in interiorul celulei. Este deci, strict necesar ca substantele purtatoare de energie sa patrunda mai intai in interiorul celulei levurilor. Prin membrana dubla a celulei nu patrund decat substante cu molecula mica. Principala sursa energetica din mustul de struguri o constituie zaharurile fermentescibile. Dupa o regula stabilita de biochimistul Emil Fischer zaharurile fermentescibile sunt numai cele care contin 3 carboni sau multiplu de 3 carboni. Asadar, pot fermenta triozele si hexozele. Dintre trioze se mentioneaza aldehida glicerica si dioxiacetona. Dintre cele 9 hexoze cu functie aldehidica sunt fermentescibile numai 3: d-glucoza; d-manoza; d-galactoza. Dintre cetohexoze fermenteaza numai fructoza sau levuloza. Dizaharidele si trizaharidele fermenteaza numai dupa hidroliza adica dupa scindare in zaharuri simple.
Fermentatia ca proces de oxido-reducere
Fermentatia alcoolica este un caz particular al respiratiei celulare si are la baza mecanisme de oxido-reducere biologica. Acest mecanism de oxido-reducere se realizeaza prin pierderea atomilor de hidrogen (electroni) de pe o substanta care reprezinta substratul sau donatorul de hidrogen si transferul pe alte substante care reprezinta acceptorul de hidrogen. In acest caz substratul se oxideaza, iar acceptorul se reduce. Schematic acest fenomen se prezinta: SH2 + A → S + AH2.
In respiratie sau aerobioza acceptorul de hidrogen fiind oxigenul fenomenul se prezinta astfel: SH2 + O2 → S + H2O
In fermentatie (anaerobioza) acceptorii sunt unii produsi de metabolism. In acest caz reactia este: SH2 + X → S + XH2
Este bine precizat in prezent ca intr-o oxido-reducere biologica se realizeaza o mare cantitate de energie. Dar pentru ca aceasta energie sa poata fi folosita de catre levuri se impun doua necesitati de ordin vital: necesitatea eliberarii energiei in mod permanent si in cantitati corespunzatoare desfasurarii proceselor metabolice si necesitatea folosirii energiei in anumite momente determinate de procesele vitale. Aceste doua necesitati se indeplinesc prin doua mecanisme energetice: printr-o serie de reactii intermediare, biocatalizate de enzime specifice si care constituie asa-zisa catena respiratorie celulara; prin legarea energiei in constituentii chimici complecsi ADP si ATP, numiti compusi macroergici. Acesti compusi se descompun usor eliberand energia atunci cand celulele au nevoie de ea.
Principalele enzime participante la fermentatie.
Principalele enzime ale fermentatiei sunt: hexochinaza, fosfohexochinaza, zimohexaza, izomeraza, fosfataza, carboxilaza Neuberg, codehidraza Von Euler. Ultimele doua indeplinesc roluri esentiale: carboxilaza produce decarboxilarea acidului piruvic, adevarata placa turnanta a metabolismului; codehidraza confera fermentatiei alcoolice caracterul de oxido-reducere biologica.
6. TEHNOLOGIILE DE BAZA PRIVIND OBTINEREA
VINURILOR STRICTO-SENSU SAU PROPRIU-ZISE
In functie de metodele, procedeele si operatiunile prin care strugurii sunt transformati in must, iar acesta in vin, precum si de succesiunea desfasurarii lor se disting doua tehnologii generale de vinificare si anume: tehnologia de obtinere a vinurilor albe, cunoscuta si sub numele de vinificarea in alb si tehnologia de preparare a vinurilor rosii, denumita si tehnologia de vinificare in rosu.
Din cele doua tehnologii generale de vinificare - in alb si rosu - deriva si altele, care prin anumite particularitati permit realizarea si a altor tipuri si categorii de produse, precizate de legislatia viti-vinicola in vigoare.
6.1 TEHNOLOGIA GENERALA DE PRODUCERE A VINURILOR ALBE SECI
La vinurile albe, pe langa nivelul principalilor constituenti chimici definiti pentru fiecare categorie si tip, insusirile de fructuozitate, aroma si expresivitate, tipice soiurilor si arealelor de provenienta, se constituie in criterii fundamentale de calitate. In plus, aceste produse trebuie sa fie oferite consumatorilor in perfecta stare de limpiditate si cu o stabilitate durabila in timp. Succesiunea operatiunilor tehnologice si principalele mijloace de realizare a lor la vinificarea in alb sunt prezentate in schema 6.1.
6.1.1. Desciorchinarea si zdrobirea strugurilor. Sunt operatiuni tehnologice cu implicatii considerabile privind pastrarea caracterelor de fructuozitate si expresivitate ce se cer imperios vinurilor albe.
6.1.2 Sulfitarea mustuielii se efectueaza cu SO2 lichefiat, urmarindu-se ca in mustuiala sa fie incorporate 50-60 mg/l SO2 - cand strugurii au fost sanatosi - si 80-120 mg/l - in situatia unor recolte afectate de putregaiul cenusiu, oidium si molii.
6.1.3 Separarea mustului ravac se executa, in general, cat mai repede, folosindu-se scurgatoare compresoare, camere scurgatoare si recipiente metalice rotative.
Supravegherea si conducerea fermentatiei alcoolice constau in: observarea cu multa atentie a procesului, determinarea principalilor parametri de natura microbiologica si fizico-chimica, ce caracterizeaza fermentatia si incorporarea periodica de oxigen prin remontarea mustului-vin. Obligativitatea acestor masuri decurge din faptul ca, la vinificarea in alb, apar cu o mare frecventa, asa-zisele dificultati de fermentatie (Lafon-Lafourcade, S., Ribereau-Gayon, P. - 1979).
Schema 6.1
Succesiunea operatiilor tehnologice si posibilitatile de realizare a lor in procesul elaborarii vinurilor albe
ia
Cu regularitate se determina (de doua ori pe zi) cativa parametri fizico-chimici, care prin valorile lor pot reflecta mersul fermentatiei. Acesti indici sunt: densitatea mustului-vin, proportia de zaharuri si temperatura. Pe baza valorilor obtinute se intocmeste graficul de fermentatie, atasat la fiecare recipient.
Pentru a pastra un echilibru intre avantajele si dezavantajele determinate de temperatura de fermentare se recomanda ca nivelul acesteia sa nu depaseasca 200 C la obtinerea vinurilor albe superioare si 250 C la realizarea celor de consum curent, dar sa nu coboare (in ambele situatii) sub 150 C.
6.2 TEHNOLOGIA GENERALA DE PRODUCERE A VINURILOR ROSII
In conditiile folosirii unei materii prime corespunzatoare si aplicand cu atentie toate celelalte verigi ale tehnologiei de elaborare, calitatea vinurilor rosii depinde, esential, de modul cum se desfas oara macerarea si de momentul separarii fazelor mustuielii.
Vinurile rosii se obtin prin fermentare-macerare, maceratie carbonica si maceratie la cald (termovinificare).
Secventele tehnologiei de obtinere a vinurilor rosii prin fermentare-macerare sunt prezentate in schema 6.2.
6.2.1 Verigile specifice tehnologiei de obtinere a vinurilor rosii
Desciorchinarea
Desciorchinarea se impune cu necesitate, in situatia unor struguri ai caror ciorchini sunt 'incarcati' cu pesticide, provenite de la tratamentele vitei de vie. In cazul vinificarii strugurilor negri, bine copti, intr-o perfecta stare fitosanitara si lipsiti de substante poluante, prezenta ciorchinilor la un loc cu celelalte parti solide, in timpul fermentarii-macerarii, se soldeaza cu importante avantaje de ordin igieno-alimentar.
Fermentarea-macerarea
Fermentarea-macerarea este un proces complex de natura biochimica si biofizica si in acelasi timp o operatiune cu adanci implicatii oenologice, prin care cele doua faze ale mustuielii se mentin la un loc, o anumita perioada de timp, in vederea extragerii din pielite si din celelalte parti solide, in primul rand a polifenolilor (pigmentii antocianici si taninurile), constituentii care exprima, in masura esentiala, caracterul si tinuta generala a vinurilor rosii.
Fermentatia fazei lichide impreuna cu partile solide ale strugurilor comporta o simultaneitate a numeroaselor fenomene: de transformare biochimica a zaharurilor, pe de o parte si de macerare a pielitelor, pulpei si semintelor, pe de alta parte; cele doua mari procese influentandu-se reciproc. Astfel, prin fermentatie rezulta alcool etilic si o cantitate importanta de caldura, factori care determina, in mod hotarator, macerarea partilor solide, iar prin macerare, mustul-vin se imbogates te in constituenti necesari nutritiei plastice si minerale a levurilor, stimuland, la randul ei, fermentatia alcoolica.
Procesul de macerare implica fenomene de osmoza, dializa si difuziune. Prin osmoza si dializa are loc trecerea constituentilor solubili din partile solide in faza lichida, iar prin difuziune se explica tendinta de egalare a concentratiei substantelor extrase in tot volumul mustului-vin.
Indiferent de podgorie si soi, temperaturile de fermentare pe bostina sub 250 C nu permit ca sa se obtina vinuri rosii cu maximum de calitate, corespunzator unui anumit potential natural. Vinurile obtinute la temperaturi de sub 250 C sunt slab colorate si fara 'corp', de aceea, se considera ca temperaturile de fermentare-macerare, la vinificatia in rosu, cuprinse intre 26-300 C sunt cele mai corespunzatoare. La aceste temperaturi are loc o extragere normala a pigmentilor si a altor polifenoli, precum si a substantelor extractive.
De fapt, temperaturile mai ridicate la vinificarea in rosu nu sunt dictate de necesitatea desfasurarii fermentatiei, ci pentru favorizarea macerarii, fara de care nu este posibila realizarea unui vin rosu cu caracteristicile si insusirile cerute de consumatorii interni si externi avizati.
Folosirea enzimelor pectolitice prezinta un interes deosebit in tehnologiile moderne de vinificare in rosu. Enzimele pectolitice exogene aditionate in doze riguros stabilite si in anumite momente ale vinificatiei primare in rosu realizeaza degradarea substantelor pectice din lamela mijlocie si peretele primar al celulelor boabelor de struguri, avand drept consecinta sporirea evidenta a randamentului in must si imbogatirea acestora in antociani, taninuri, substante minerale si arome.
Succesiunea operatiilor tehnologice de obtinere a vinurilor rosii prin fermentare - macerare

Controlul si conducerea fermentarii-macerarii consta in masurarea de 2 ori pe zi (dimineata si seara) a temperaturii si a densitatii mustului, observarea si determinarea intensitatii colorante (vizual si analitic), precizarea gradului de astringenta s.a. Datele privind temperatura si densitatea se transpun pe un grafic, atasat la recipient, iar celelalte se consemneaza in registrul de observatii, fiind corelate si interpretate in permanenta.
Temperatura intr-un recipient de fermentare-macerare este mult mai neuniforma in comparatie cu situatia inregistrata la fermentatia musturilor albe. Astfel, in 'caciula' temperatura poate fi cu 10-15oC mai ridicata decat valoarea celei din faza lichida).
Separarea fazelor si mentinerea lor un timp in aceasta stare atrag pe langa o compozitie nesatisfacatoare si unele alterari si defecte, cu consecinte negative asupra calitatii produselor.
Pentru ca procesele de fermentatie si maceratie sa se desfasoare normal si sa se influenteze pozitiv, este strict necesara o cat mai buna omogenizare a celor doua faze si o data cu aceasta uniformizarea fenomenelor biochimice si biologice. In acest sens, aglomerarea de parti solide ce formeaza 'caciula', in spatiul gol al recipientului, se incorporeaza periodic in faza lichida.
Orientativ, la vinificarea in rosu prin metoda clasica duratele de macerare-fermentare sunt cuprinse intre 4 - 7 zile (la densitatea fazei lichide 1005-1010), iar la implicarea procedeelor de tip industrial intre 30 si 72 ore (la densitatea fazei lichide 1020-1040).
Fermentarea-macerarea in cisterne metalice rotative cunoaste in prezent cea mai larga raspandire in industria vinicola din Romania.
In tara noastra, procedeul a fost realizat si experimentat pentru prima data la SDE a Universitatii din Craiova, fiind rapid adoptat de catre toate unitatile producatoare de vinuri rosii.

Recipientele, in capacitate de 20
tone, construite din tabla de otel inoxidabil sunt suspendate si
actionate de un motor electric, prin intermediul unui reductor de
viteza, care le asigura 5-6 rotatii pe minut, in jurul axei
longitudinale (fig. 6.1).
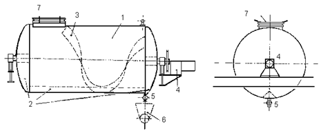
Fig. 6.1. Instalatia de macerare-fermentare cu cisterne metalice rotative:
1 - spatiul pentru mustuiala; 2 - spatiul pentru must; 3 - sicana in spirala pentru golire si amestecarea fazelor mustuielii; 4 - motor cu reducator de viteza; 5 - stut de evacuare a mustului-vin; 6 - colectare must-vin; 7 - gura de incarcare-descarcare cu capac.
Fermentarea si macerarea avand loc in spatiul inchis, la o usoara suprapresiune de gaz inert (CO2) si posibilitatile de realizare a omogenizarii celor doua faze, conduc la obtinerea unor vinuri rosii de calitate superioara sau, dupa felul materiei prime, de consum curent (Gheorghita, M. si col. - 1978,1983).
In toamnele cu temperaturi normale, regimul de rotire 2 x 5 min/h conduce la obtinerea unor produse bine colorate si cu continuturi potrivite in polifenoli totali si taninici, facand posibila intreruperea macerarii chiar dupa 30-40 ore. Cand timpul este racoros (si nu se foloseste termostatarea), regimul de rotire de 15 min/3 ore sau 20 min/4 ore este de preferat, intrucat in cisterna se pastreaza mai bine temperatura, factorul de baza care favorizeaza reciprocitatea dintre fermentatie si maceratie.
Maceratia carbonica
Principiul maceratiei carbonice consta in deversarea strugurilor negri, perfect sanatosi si intregi, intr-un recipient (cada, cisterna) incarcat in prealabil cu CO2, dupa care se inchide (fig. 6.2).
In astfel de
conditii, in recipient au loc simultan fenomene: de fermentatie
intracelulara (in boabele intregi), de fermentatie propriu-zisa,
sub actiunea levurilor (in mustul adunat la partea inferioara a
recipientului, provenit prin spargerea boabelor), precum si de macerare
(atat la strugurii zdrobiti, cat si la cei intregi).
Importanta majora prezinta fenomenele care au loc in boabele
intregi, scaldate in CO2.
Procesele de fermentatie intracelulara duc la formarea de alcool in interiorul bobului. Continutul de alcool format in boabe este mic (1-2 vol %), dar raportul zahar-alcool este comparabil cu cel de la fermentatia produsa de levuri (Flanzy, M., Andre, P. - 1973).
Maceratia la cald (termovinificarea)
Metoda consta in incalzirea strugurilor intregi sau a mustuielii, in recipiente din material anticorosiv sau instalatii moderne, la anumite nivele de temperatura si pe durate diferite de timp. Prin incalzirea strugurilor negri sau a mustuielii, fermentatia si maceratia devin doua operatiuni distincte. Maceratia are loc in conditii de temperatura ridicata, iar fermentatia, dupa separarea mustului de partile solide (in faza lichida) se desfasoara la temperaturi asemanatoare vinificatiei in alb.
Tratamentul termic se considera a fi o tehnica avantajoasa pentru obtinerea unor vinuri acceptabile din struguri negri afectati de putregaiul cenusiu, cu continuturi mai mici in antociani si cu o maturare insuficient realizata. Procedeul este implicat mai mult pentru obtinerea vinurilor rosii de consum curent mai bogate in culoare.
6.3 TEHNOLOGII SI PROCEDEE DE OBTINERE A VINURILOR ROZE
'Vinul roze este un tip intermediar intre vinul alb si cel rosu, intre vinul obtinut fara macerare pe pielitele strugurilor si vinul fermentat pe bostina. El poate avea la origine aceleasi soiuri ca si vinurile rosii. Este insa caracterizat prin prezenta unei cantitati mici de antociani si printr-un continut de tanin (mai cu seama de leucoantociani) superior celui din vinurile albe'. (Ribereau-Gayon, J., Peynaud, E., Sudraud, P., citat de Muntean Camelia -1997).
6.3.1.Procedee tehnologice moderne de producere a vinurilor roze
Metoda prin scurgerea unei parti din mustul ravac alb Mustuiala de struguri negri este condusa in cazi sau cisterne metalice (statice sau rotative). Concomitent se efectueaza sulfitarea (50-100 mg SO2/l) si insamantarea cu levuri apartinand speciei Saccharomyces oviformis. La recipient se lasa deschis stutul de scurgere, inca de la inceputul operatiunii, datorita carui fapt 20-25% din mustul ravac se scurge. Aceasta portiune fermenteaza, dupa procedeul in alb, iar mustuiala partial scursa parcurge etapa de fermentare-macerare, timp de 24-36 ore, dupa care se preseaza. Vinul rosu obtinut se asambleaza cu cel alb provenit prin scurgerea ravacului, rezultand un vin roze cu caracteristicile mentionate in definitie.
Obtinerea vinurilor roze prin modificarea raportului intre fazele mustuielii Recolta de struguri negri se separa in doua parti inegale. O portiune de 75% se vinifica in alb, iar cea care reprezinta 25% se transforma in mustuiala.
Obtinerea vinurilor roze printr-o macerare de scurta durata Metoda consta in practicarea unui contact al mustului cu partile solide ale strugurilor pe durate cuprinse intre 3 si 24 ore (in functie de bogatia strugurilor in antociani). Dupa zdrobirea si desciorchinarea strugurilor, mustuiala se sulfiteaza moderat (60-80 mg/l), se insamanteaza cu levuri selectionate (4-5 milioane cel/ml must) dupa care cele doua faze se mentin la un loc pe perioade de timp cuprinse intre limitele mentionate. Cele realizate printr-o macerare de 24 ore poarta si numele vinuri 'de o zi' sau 'de o noapte'.
In perioada de contact a celor doua faze ale mustuielii are loc o usoara fermentare precum si fenomene slabe de macerare, datorita carora o mica proportie din pigmentii antocianici difuzeaza in must.
6.4. TEHNOLOGIA DE PRODUCERE A VINURILOR ALBE DEMISECI, DEMIDULCI SI DULCI DOCC
Vinurile demiseci, demidulci si dulci naturale sunt produse de inalta clasa, apreciate in mod deosebit, chiar si de consumatorii cu cele mai rafinate gusturi si pretentii. Ele se realizeaza in putine podgorii si din soiuri cu insusiri de calitate superioara. Printre cele mai reputate podgorii se mentioneaza: Sauternes Franta (cu soiurile Sauvignon, Semillion, Muscadelle), Johanisberg Germania (cu soiul Riesling de Rhin), Tokay-Ungaria (cu soiul Furmint), Cotnari (cu soiurile Grasa, Feteasca alba, Francusa), Murfatlar (cu soiurile Chardonnay si Pinot gris).
Succesiunea operatiunilor tehnologice in procesul de obtinere a vinurilor cu zahar rezidual se prezinta in schema 6.3.
Recoltarea se efectueaza cand in struguri continuturile relative in zaharuri sunt de aproximativ 220 g/l pentru tipul demisec, cuprinse intre 230 255 g/l pentru tipul demidulce si peste 260 g/l pentru tipul dulce. Pentru realizarea ultimelor doua tipuri, o mare parte din boabe trebuie sa se afle in stadiul de stafidire.
Limpezirea mustului este sumara si se realizeaza printr-o sulfitare moderata (50-60 mg SO2 pe l) asociata cu folosirea bentonitei (1-1,5 g/l).
Golul de fermentare va fi mai mare pentru a stimula activitatea levurilor, evident stanjenite de presiunea osmotica exercitata de continuturile ridicate in glucide.
Aditionarea de levuri selectionate este strict obligatorie folosindu-se rase apartinand speciei Saccharomyces ellipsoideus. Numarul initial de celule trebuie sa fie cuprins intre 7-10 mil/ml must.
Sistarea fermentatiei este trasatura particulara si cea mai importanta in aceasta tehnologie. Prin ea se asigura mentinerea in produse a proportiilor de zaharuri nefermentate, mentionate pentru fiecare tip.
Pentru sistarea fermentatiei se recurge la unul din urmatoarele procedee: aplicarea unei sulfitari (50-60 mg/l), insotita de bentonizare (1 g/l); aplicarea unui soc termic (cu cel putin 10-150 C sub nivelul existent in momentul interventiei), urmata de centrifugare si filtrare prin placi K6-K8 sau membrane (implicand fie fluxul perpendicular, fie fluxul tangential); sulfitarea (20-30 mg/l) urmata de aplicarea unei filtrari aluvionare (cu diatomita) si de o filtrare stransa prin placi sterilizante.
Imediat dupa sistarea fermentatiei alcoolice se iau masuri energice de asigurare, in primul rand a stabilitatii biologice.
Maturarea la vase de lemn poate fi prelungita la 8-12 luni pentru VDO si 12-18 luni pentru VDOC.
Invechirea la sticle cuprinde o perioada de pana la 18 luni.
Pentru imbunatatirea calitatii renumitelor vinuri demiseci si demidulci de Cotnari, macerarea in cisterne rotative metalice, pe durata de 24 ore, s-a dovedit deosebit de oportuna (Cotea, D.V. si col. - 1983).
|
Politica de confidentialitate | Termeni si conditii de utilizare |
Vizualizari: 4605
Importanta: ![]()
Termeni si conditii de utilizare | Contact
© SCRIGROUP 2025 . All rights reserved