| CATEGORII DOCUMENTE |
| Comunicare | Marketing | Protectia muncii | Resurse umane |
Cunoasterea si manuirea stingatoarelor
Stingatoarele sunt dispozitive de stingere actionate manual care contine o substanta ce poate fi refulata si dirijata asupra unui focar de ardere sub efectul presiunii create in interiorul lor. Se utilizeaza pentru limitarea si stingerea inceputurilor de incendiu.
Stingatoarele se clasifica si au simbolurile, in functie de natura substantei de stingere pe care o contin astfel:
cu apa pulverizata (A.P.)
cu spuma chimica (S.C.)
cu pulbere (P)
cu dioxid de carbon (G)
De asemenea stingatoarele se pot clasifica si dupa modul de transport, astfel:
stingatoare portative pana la 10 kg greutate
stingatoare transportabile, pe roti, peste 10 kg
Stingatorul cu apa pulverizata
Este destinat primei interventii la incendiile de materialele celulozice, mase plastice, uleiuri, unsori, grasimi, vopsele, motorina grea, dezvoltate cu precadere in spatiile cu risc de incendiu redus (locuinte, birouri, magazine, scoli).
Este alcatuit din urmatoarele subansamble:
recipientul stingatorului;
butelia cu CO2;
capacul cu dispozitivul de percutare;
sistemul de refulare.
Pentru punerea in functiune a stingatorului se procedeaza astfel:
se aseaza pe sol in aproprierea locului de interventie si se scoate agrafa de siguranta care blocheaza cuiul percutor;
cu mana stanga se prinde furtunul de refulare iar cu dreapta se loveste energic butonul pecutorului;
se apuca stingatorul de maner cu mana dreapta si se indreapta jetul pulverizat la baza focarului.
2. Stingatorul cu spuma chimica
Sunt destinate pentru stingerea incendiilor din clasa A si B cu precadere in spatiile cu risc de incendiu redus (locuinte, birouri, scoli, magazine cu specific industrial, ateliere unde se lucreaza cu cantitati mici de materiale combustibile).
Se compune din:
recipientul stingatorului destinat pastrarii solutiei bazice;
capacul cu garnitura de cauciuc;
supapa de siguranta tip membrana;
ajutajul de refulare;
2 manere pentru manuirea stingatorului;
un cerc metalic pentru protejarea fundului stingatorului;
3 bare de ghidare a buteliei din sticla sudate pe fundul interior al stingatorului;
butelia de sticla destinata pastrarii solutiei acide prevazuta la partea superioara cu un suport din material plastic care serveste la fixarea in corpul stingatorului.
Functionarea se bazeaza pe principiul reactiei dintre cele doua componente (acid si baza) care vin in contact prin agitarea stingatorului.
Pentru punerea in functiune se procedeaza astfel:
se desfunda ajutajul de refulare cu osarma sau un cui;
se ridica stingatorul si se agita prin rasturnare de 4 - 5 ori pentru ca cele 2 solutii sa se amestece si sa formeze spuma chimica;
se indreapta ajutajul de refulare spre baza focarului;
Daca pe timpul functionarii se infunda ajutajul de refulare desfundarea se realizeaza cu ajutorul unei sarme sau al cuiului.
Stingatorul cu pulberi
Sunt destinate primei interventii in cazurile inceputurilor de incendiu la materialele din clasele B(lichide combustibile, unsori, grasimi), sau C( gaze combustibile sub presiune), limitat, cu eficienta redusa la cele din clasa A( materiale celulozice, carbonoase uscate) si ineficient la cele din clasa D(metale combustibile).
Este alcatuit din urmatoarele subansamble:
recipientul (corpul) stingatorului;
capacul cu dispozitivul de percutare;
butelia cu dioxid de carbon( CO2) sau azot;
sistemul(furtunul) de refulare .
Ultimile tipuri de stingatoare cu pulberi nu mai dispun de butelii cu gaz inert,recurgandu-se la presurizarea recipientului de regula cu azot, model care trebuie sa fie prevazut cu manometru pentru masurarea presiunii.
Pentru punerea in functiune se procedeaza astfel:
se asaza stingatorul pe sol in apropierea focarului si se scoate agrafa de siguranta care blocheaza cuiul percutor;
cu mana stanga se scoate furtunul de refulare din suport, iar cu mana dreapta se apasa parghia sistemului de percutare( la tipurile cu butelie incorporata cu mana dreapta se loveste energic butonul percutorului);
se indreapta jetul de pulbere la baza focarului pana la stingerea acestuia.
Stingatoare cu dioxid de carbon
Stingatoarele portative cu dioxid de carbon sunt destinate primei interventii la incendiile dezvoltate, in general, in spatii inchise de dimensiuni reduse, indiferent de natura materialelor combustibile, exceptand cele din clasa D cu care CO2 venind in contact ar putea genera reactii periculoase.
Utilizarea CO2 are avantajul ca nu lasa urme, nu impurifica si nu prezinta pericol de electrocutare in cazul intereventiei la echipamente electrice sub tensiune. Din acest motiv, acest tip de stingatoare se recomanda a fi folosite pentru biblioteci, muzee, magazine sau depozite de blanuri sau materiale de valoare, alimentatie publica si echipamente electronice sau electrice sub tensiune etc.
Stingatoarele de CO2 se compun din urmatoarele parti:
butelia pentru dioxid de carbon, de forma cilindrica, confectionata din otel, prevazuta la exterior cu un maner pentru manevrare, iar in interior cu o teava sifon prinsa pe robinetul de inchidere a buteliei. Robinetul este prevazut cu o siguranta si un cep gaurit pentru iesirea dioxidului de carbon;
difuzoare, de forme diferite, confectionate din tabla de fier sau masa plastica, prevazute la partea superioara cu un maner pentru manevrare, iar la partea anterioara cu o gaura pentru iesirea zapezii carbonice, puse in legatura cu robinetul buteliei, fie prin intermediul unui furtun de cauciuc armat cu sarma, fie prin intermediul unei tevi scurte din otel si a unei articulatii care sa permita rotirea.
Pentu punerea in functiune a stingatorului se indreapta difuzorul spre locul incendiului si se deschide robinetul buteliei. Prin deschiderea robinetului, dioxidul de carbon lichid aflat in butelie iese din teava sifon (datorita presiunii la care se afla) si, prin furtunul de cauciuc sau teava de otel, patrunde in difuzor. Aici, datorita fenomenului de detenta ce are loc (trecerea de la un volum mic si presiune mare la volum mare si presiune mica), temperatura dioxidului de carbon scade sub temperatura de solidificare (de 78,580C) si trece in stare solida, sub forma de fulgi de zapada carbonica. Zapada este evacuata din difuzor spre focarul incendiului. Fulgii de zapada carbonica pot produce rani dureroase atunci cand vin in contact cu partile descoperite ale corpului omenesc.
Cantitatea de dioxid de carbon din butelie se verifica prin cantarire. Cand butelia a pierdut circa 20-25% din greutate, se face verificarea si inlocuirea (incarcarea) ei. Stingatorul se curata si se verifica periodic, urmarindu-se functionarea robinetului si etanseitatea buteliei prin scufundarea ei in apa.

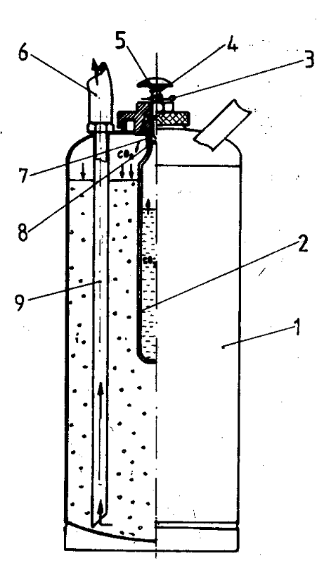
Fig. nr. 1. Stingator portativ cu apa pulverizata - principiul de functionare.
1.recipient stingator; 2. butelie cu gaz sub presiune (CO2, aer sau azot);
3. siguranta; 4. arc; 5. cui percutor; 6. furtun de refulare; 7. piulita butelie;
8. membrana siguranta; 9. tub sifon

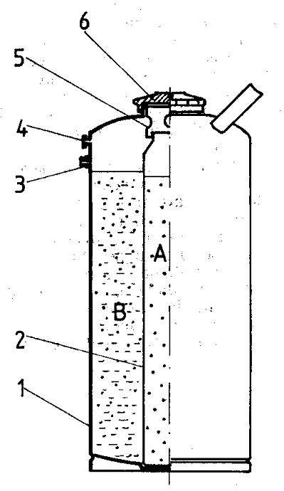
Fig. nr. 2. Stingator portativ cu spuma chimica - principiul de functionare.
1. recipient stingator; 2. tub cu solutie acida;
3. ajutaj de refulare; 4. supapa de siguranta (membrana);
5. suport fixare tub; 6. capac

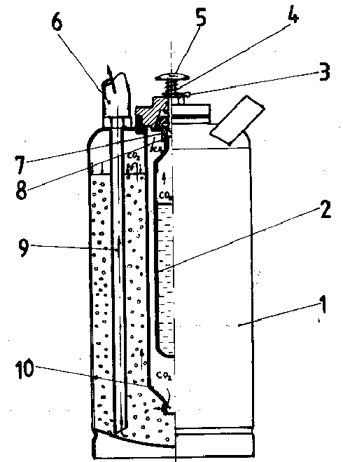
3. siguranta; 4. arc; 5. cui percutor; 6. furtun refulare; 7. piulita butelie;
8. membrana siguranta; 9. tub sifon; 10. aparatoare butelie

Fig. nr. 1. Stingator portativ cu apa pulverizata - principiul de functionare.
1.recipient stingator; 2. butelie cu gaz sub presiune (CO2, aer sau azot);
3. siguranta; 4. arc; 5. cui percutor; 6. furtun de refulare; 7. piulita butelie;
8. membrana siguranta; 9. tub sifon

Fig. nr. 2. Stingator portativ cu spuma chimica - principiul de functionare.
1. recipient stingator; 2. tub cu solutie acida;
3. ajutaj de refulare; 4. supapa de siguranta (membrana);
5. suport fixare tub; 6. capac

3. siguranta; 4. arc; 5. cui percutor; 6. furtun refulare; 7. piulita butelie;
8. membrana siguranta; 9. tub sifon; 10. aparatoare butelie
|
Politica de confidentialitate | Termeni si conditii de utilizare |
Vizualizari: 4757
Importanta: ![]()
Termeni si conditii de utilizare | Contact
© SCRIGROUP 2025 . All rights reserved