Scrigroup - Documente si articole

     

HomeDocumenteUploadResurseAlte limbi doc
ComunicareMarketingProtectia munciiResurse umane

MANAGEMENT DE

management



+ Font mai mare | - Font mai mic



Consideratii generale - natura si scopul managementului de proiect

Managementul de proiect a aparut ca un instrument de planificare, coordonare si control al activitatilor complexe din proiectele industriale si comerciale moderne.



Proiectele umane nu sunt un lucru nou insa proiectele moderne, cu toata complexitatea lor tehnologica, presiunile economice, concurenta, respectul pentru valoarea, bunastarea si costul fortei de munca au dus la dezvoltarea de noi tehnici in managementul proiectelor.

Toate proiectele au in comun aceeasi caracteristica: proiectarea ideilor si a activitatilor, prin luarea in calcul a factorilor de risc/incertitudine, finalizate prin transformarea lor in realizari.

Bunul mers al realizarii proiectului nu se poate prevedea cu o acuratete absoluta iar scopul managementului de proiect este acela de a preveni sau prezice cat mai multe dintre problemele care ar putea aparea. Managementul de proiect planifica, organizeaza si controleaza activitatile astfel incat proiectul sa poata fi finalizat cat mai bine posibil, in pofida tuturor riscurilor. Acest proces incepe inainte de alocarea resurselor si se continua pana cand intreaga activitate ia sfarsit. Scopul este ca rezultatul final sa se incadreze in termenul promis si sa nu necesite costuri mai mari decat cele prevazute in buget.

Managementul de proiect este cu atat mai eficient cu cat reuseste sa utilizeze mai intensiv tehnica si tehnologia informatiei prin aplicatii specifice pe computere. Din acest punct de vedere, managementul de proiect a devenit o ramura foarte specializata a managementului.

Managerul de proiect trebuie sa fie capabil sa inteleaga modul de participare a diversilor participanti la lucrari, cat de priceput este fiecare, metodele lor specifice de lucru, problemele si punctele slabe. Aceste competente cer un grad mare de experienta generala si din acest motiv managementul de proiect este inrudit cu managementul general.

Trebuie sa se inteleaga ca practica managementului eficient de proiect inseamna mult mai mult decat utilizarea computerelor (hardware) si a programelor (software). Managementul de proiect inseamna planificare manageriala, decizii, receptivitate, folosirea masiva a bunului simt, organizare, management comercial si financiar, atentie meticuloasa in ceea ce priveste documentatia si intelegerea clara a principiilor de management si conducere.

PROIECTELE

Caracteristica definitorie a unui proiect este noutatea sa, este un pas in necunoscut pandit de riscuri si incertitudine. Nu exista proiecte perfect identice, chiar daca ele se repeta - de fiecare data vor fi aspecte diferite. Proiectele se clasifica in patru mari categorii:

1.Proiecte de constructii, petrochimice, miniere, extractive: implica riscuri si probleme speciale de organizare si comunicare. Necesita investitii masive de capital si un management riguros. De regula ele se constituie prin participarea mai multor contractori.

2.Proiecte industriale: au ca scop constituirea de unitati destinate activitatilor productive. Pot sa se desfasoare intr-o singura firma dar si intr-un consortiu de companii care depasesc granitele nationale, caz in care apar dificultati suplimentare de coordonare si control.

3.Proiecte de management: iau nastere cand firmele isi muta sediile, isi dezvolta un nou sistem informational, se pregatesc pentru targuri si expozitii, produc studii de fezabilitate, se restructureaza sau, in general, intreprind orice operatie care implica activitati pentru realizarea unui produs finit care difera de produsele realizate anterior. Datorita complexitatii, aceste proiecte sunt cateodata tot atat de importante ca si proiectele de constructii industriale.

4.Proiecte de cercetare: au cel mai mare grad de risc, pot consuma sume mari de bani, pot dura mai multi ani si rezultatele pot fi spectaculoase sau o pierdere completa a resurselor. Obiectivele proiectelor de cercetare sunt dificil si cateodata imposibil de definit, motiv pentru care metodele de management sunt diferite ca in cazul proiectelor expuse mai sus. Totusi, bugetele trebuie corelate cu fondurile disponibile, cheltuielile trebuie controlate prin veri-ficari periodice si finantarea se face prin transe eliberate periodic.

OBIECTIVELE PROIECTELOR sunt clasificate in trei categorii:

Performanta si calitate - produsul finit trebuie sa fie adecvat scopului vizat.

Nota: Aproape tot materialul acestui curs se refera la atingerea obiectivelor in timp si cost la parametrii de calitate impusi prin standarde.

Buget - proiectul trebuie sa se realizeze fara a depasi nivelul autorizat de cheltuieli.

Timp de finalizare - finalizarea proiectului trebuie sa se realizeze la timp sau sa aiba o evolutie mai rapida decat cea planificata.

Relatia timp/cost: daca se depaseste calendarul planificat este aproape sigur ca si bugetele estimate initial vor fi depasite deoarece un proiect costa bani in fiecare zi, lucratoare sau nu, din prima zi pana la efectuarea ultimei plati. Costurile apar din mai multe motive.

Costurile directe: sunt pentru materiale si pentru orele de munca ale angajatilor.

Costurile indirecte (de regie): sunt pentru management, administratie, spatiu, facilitati legate de timp, servicii etc. si se acumuleaza zilnic indiferent de munca realizata, pana la incheierea proiectului.

Costurile de finantare: intervin cand se fac imprumuturi de la banci, caz in care trebuie platita dobanda la imprumut (cunoscuta si sub denumirea de cost al capitalului). In cazul finantarii din fondurile contractorului apare un cost de finantare virtual echivalent cu dobanda sau dividendele pe care le-ar fi putut aduce fondurile respective daca ar fi fost folosite in alta parte, de exemplu intr-un depozit bancar.

Penalizari: finalizarea intarziata a unui proiect aduce cu sine penalizari care de regula sunt stipulate in contract si provoaca numeroase litigii.

Triunghiul performanta/cost/timp

Diagrama ilustreaza cele trei obiective principale si interde-pendente ale unui proiect: performanta, costul si timpul. Obiectivul performanta este de importanta capitala. In unele cazuri, anumite prioritati divergente pot determina modifi-carea ponderii fiecaruia dintre cele trei obiective.

I. ORGANIZAREA MANAGEMENTULUI DE PROIECT

Pentru atingerea obiectivelor proiectului este evident ca trebuie bine organizate persoanele, comunicatiile, activitatile si resursele insa nu la fel de evidenta este forma pe care trebuie sa o ia aceasta organizare. Deoarece fiecare firma are propriile idei privind modul de organizare si tinand cont ca exista o multitudine de solutii optime, acest capital va stabili doar trasaturile esentiale ale unei organizari eficiente. Se vor descrie mai multe optiuni de organizare posibile, cu avantajele si dezavantajele lor.

Organizarea si comunicatiile eficiente

Organizarea eficienta a unui proiect inseamna existenta unor linii de comanda clare si ca fiecare participant stie ce are de facut pentru a asigura succesul lucrarii. Toate acestea fac parte din cadrul de comunicare manageriala si sunt esentiale pentru motivarea angajatilor. Este o placere sa lucrezi cu un grup bine informat, cu raspunderi clare, rapid in obtinerea rezultatelor si fara dispute de statut si autoritate. La nivel managerial trebuie asigurate cai adecvate de feedback in intreaga firma si dincolo de ea, ceea ce va permite monitorizarea evolutiei proiectului, raportarea dificultatilor catre conducerea executiva si accesul participantilor la consultanta expertilor de specialitate.

Pentru a arata cum a aparut managementul de proiect se considera o firma aflata in dezvoltare la care evolutia in timp incepe cu productia obisnuita, trece printr-o etapa intermediara in care evolueaza de la productia de tip volum mare / cost mic la volum mic / cost mare si ajunge in prezent sa treaca de la functia de producator la cea de contractor. Firma livreaza acum echipamente complexe si programe software specializate, asigura consultanta pentru clienti si subcontracteaza sisteme care corespund cerintelor extrem de specializate, uneori unicat. Evolutia arata ca managementul obisnuit este depasit si este nevoie sa se adopte un sistem nou - cel al managementului de proiect.

Managementul muncii in firmele obisnuite

Modul de organizare a unei firme aflate la inceputurile sale se aseamana cu cel ilustrat in fig.I.1. care, pentru mai multa claritate este sub o forma simplificata.

Firmele de acest tip au o organizare conceputa in asa fel incat activitatea lor este controlata pe componente, in fiecare departament in parte. Managerii se ocupa numai de subordonatii directi fara preocupari in afara departamentelor proprii. Intre manageri exista o oarecare cooperare si interactiune insa acestea sunt considerate secundare fata de structura principala. Disfunctionalitatile sunt vatamatoare si devin foarte serioase cand firma incepe sa se ocupe de proiecte multidisciplinare. Exista putine sanse de reusita daca managerii generali s-ar implica in coordonarea tuturor functiunilor proiectului - functia conducerii generale trebuie sa fie limitata la luarea deciziilor de nivel superior cu privire la derularea afacerilor.

Comunicatiile si nevoia de a avea un manager de proiect

Toate proiectele sunt de natura ciclica. Proiectele sunt concepute dupa contactul cu clientii si capata existenta reala dupa semnarea contractelor si lansarea in executie. Se parcurg mai multe etape pentru ca in final, rezultatul proiectelor sa ajunga din nou la clienti sub forma unui pachet de lucrari complexe.

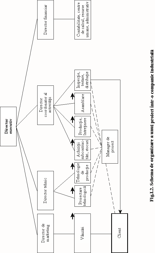
Majoritatea informatiilor legate de proiect circula de-a lungul liniilor ierarhice dar si intre acestea, formand o retea complexa. Cineva trebuie sa raspunda de gestionarea proiectului in ansamblu, fara a risipi raspunderea intre mai multi manageri. Este deci nevoie de o persoana care sa planifice si sa coordoneze cu grija toate activitatile proiectului cu scopul clar de atingere a obiectivelor acestuia. Persoana este managerul de proiect. Fig.I.2 arata modul de implicare a managerului de proiect la realizarea unui proiect special si fig.I.3 arata o situatie mai complexa in care firma deruleaza mai multe proiecte complexe in paralel, cu mai multi manageri de proiect. Pozitia ierarhica a managerului/managerilor de proiect rezulta chiar din fig.I.2 si I.3.


Managerul de proiect este cel mai adesea 'ascuns' in spatele unui alt rol in firma. Tendinta actuala este ca managerul de proiect sa ocupe o pozitie distincta iar profesia merita un statut si o remunerare adecvata. Ca responsabilitate, managerul de proiect poate sa fie de la un simplu planificator si coordonator pana la responsabil cu realizarea integrala a proiectului.

Organizarea in echipe de proiect sau grupe functionale

Fig.I.4 si fig.I.5 arata sugestiv doua moduri de organizare. Aceste sunt:

Organizarea in echipe: managerul de proiect comanda nemijlocit, avand autoritate deplina in a coordona participantii in vederea atingerii obiectivelor proiectului. Pe masura finalizarii diferitelor aspecte ale proiectului echipa se micsoreaza treptat iar la termninarea proiectului se desfiinteaza complet.

Organizarea functionala sau de tip matrice: sunt organizate grupuri de participanti pe profesii si pe domenii de activitate. Fiecare proiect isi are propriul manager de proiect, toti folosind in comun forta de munca si celelalte resurse. Influenta fiecarui manager de proiect este functionala, oamenii din grupurile specializate raman subordonati din punct de vedere administrativ managerilor lor departamentali.

Tabelul I.1 reda sintetic datele pro si contra celor doua tipuri de organizare.

Tabelul I.1. - Avantajele organizarii in echipa respectiv tip matrice

Caracteristici

Tip de organizare

Echipa

Matrice

Autoritate maxima pentru managerul de proiect

Libertate fata de liniile de comanda dublate sau ambigue

Motivatie maxima pentru personal in realizarea obiectivelor dificile

Securitate maxima in cazurile in care schimbul de informatii

este limitat la cei din proiect

- prin desfasurarea muncii intr-un spatiu inchis

- prin restrangerea numarului de persoane cu acces la informatiile legate de munca

O distributie mai flexibila a resurselor generale ale firmei

O disponibilitate mai mare in intreaga companie a expertilor cu specializari rare

Proiecte mari care mobilizeaza un numar mare de persoane pe perioade lungi

Mai multe proiecte, fiecare cu un numar mic de persoane si durate scurte

Motivatia in privinta carierei individuale - promovari, crearea de noi posturi

Motivatia in privinta carierei individuale - continuitate pe termen lung a structurii de management care sa dea managerilor suficient timp pentru aprecierea performantelor fiecarui individ si sa acorde recompense justificate

Indrumare si service pentru personalul de la locul de desfasurare a proiectului, consultanta si service dupa vanzare pentru clienti

Crearea unor baze de date care sa permita utilizarea experientei acumulate in proiecte ulterioare

O a treia solutie de organizare este optiunea mixta - fig.I.6. Varianta optiunii mixte se intalneste la firmele care functioneaza in regim matricial, dar infiinteaza grupe de proiect separate si autonome ori de cate ori marimea si domeniul proiectului o justifica.

Personalitatea managerului de proiect este aceea care manifesta competenta, ia decizii clare, da instructiuni precise si realizabile, delega bine sarcinile, asculta si da sfaturi bune, manifesta entuziasm si incredere si isi castiga respectul subalternilor prin forta exemplului si etalarea calitatilor de conducator.



Politica de confidentialitate | Termeni si conditii de utilizare



DISTRIBUIE DOCUMENTUL

Comentarii


Vizualizari: 1812
Importanta: rank

Comenteaza documentul:

Te rugam sa te autentifici sau sa iti faci cont pentru a putea comenta

Creaza cont nou

Termeni si conditii de utilizare | Contact
© SCRIGROUP 2025 . All rights reserved