| CATEGORII DOCUMENTE |
| Demografie | Ecologie mediu | Geologie | Hidrologie | Meteorologie |
Profil: Resurse naturale si protectia mediului
Tehnician in industria alimentara
CUPRINS
|
I. |
ARGUMENT |
|
|
|
|
|
|
|
|
|
|
II |
CONTINUTUL PROIECTULUI |
|
|
|
|
|
II.1. |
MATERII PRIME FOLOSITE LA FABRICAREA BERII |
|
|
|
|
II.2. |
|
|
|
|
|
|
II.2.1CONDITIONAREA ORZULUI |
|
|
|
|
|
II.2.2. INMUIEREA ORZULUI |
|
|
|
|
|
II.2.3. GERMINAREA ORZULUI |
|
|
|
|
II.3. |
USCAREA MALTULUI |
|
|
|
|
|
II.3.1. USCAREA MALTULUI DE CULOARE DESCHISA (BLOND) |
|
|
|
|
II.4. |
OBTINEREA MUSTULUI DE BERE |
|
|
|
|
|
II.4.1. Macinarea maltului |
|
|
|
|
|
II.4.2. Plamadirea si zaharificarea plamezii (brasajul) |
|
|
|
|
|
II.4.3. Filtrarea plamezii |
|
|
|
|
|
II.4.4. Fierberea mustului de bere |
|
|
|
|
|
II.4.5. Separarea borhotului de hamei |
|
|
|
|
|
II.4.6. Racirea si limpezirea mustului |
|
|
|
|
II.5. |
TEHNOLOGIA FERMENTARII MUSTULUI DE BERE |
|
|
|
|
|
II.5.1. Fermentatia primara |
|
|
|
|
|
II.5.2. Fermentatia secundara |
|
|
|
|
|
II.5.3. Fermentatia in tancuri cilindro-conice |
|
|
|
|
II.6. |
FILTRAREA BERII |
|
|
|
|
II.7. |
IMBUTELIEREA BERII |
|
|
|
IV. |
BIBLIOGRAFIE |
|
|
|
|
|
ANEXE |
|
|
|
I. ARGUMENT
Industria fermentativa ocupa un loc important in cadrul industriei alimentare. Ea se bazeaza in principal pe activitatea fermentativa a drojdiilor, care transforma glucidele fermentescibile din materii prime de origine vegetala si chiar animala in alte substante care constituie produsele finite
Berea este o bautura aparte, chiar speciala. Berea este o bautura alcoolica nedistilata, obisnuita prin fermentarea cu drojdie a unui must realizat din malt, apa si fiert cu hamei.
Berea contine componentele nutritive ale maltului si, in plus produsi noi rezultati din fermentatia alcoolica adica acizi organici: acetic, malic, lactic; aldehide; alcool superior; vitamine hidrosolubile provenite din drojdie: B1, B2, B6, B12, PP, H; factori de crestere: biotina, inozitol, acid pentotenic.
Ansamblul componentilor si in special dioxidul de carbon, confera un efect racoritor si de stimulare a digestiei. Prin evaporarea unei cantitati de dioxid de carbon antrenate prin bulele ce se degaja in cavitatea bucala si traiectul intestinal se mareste efectul racoritor caracteristic bauturilor carbogazoase si se stimuleaza secretia de suc gastric.
S-a constatat ca, glucidele continute in bere intarzie absorbtia alcoolului, astfel ca alcoolul din bere se absoarbe mai lent decat o simpla solutie alcoolica. Pe de alta parte, absorbtia este intarziata si din cauza volumului mare de lichid si a concentratiei alcoolice mici ceea ce face ca alcoolul sa ajunga mai greu pe suprafata de absorbtie. Astfel, prin consumarea rapida a 1,5 litri bere nu determina dupa o ora o concentratie in sange mai mare de 0,60 alcool la litru de sange, dupa care urmeaza o panta rapida descendenta, datorita atat metabolizarii, dar si actiunii diuretice, incat dupa aproximativ 4 ore si jumatate, valorile alcoolemiei revin aproape de zero. Trebuie insa mentionata variabilitatea mare in functie de sex - femeile realizeaza o absorbtie mai rapida -, rasa- rasa galbena tolereaza foarte slab alcoolul - si in functie de particularitatile biochimice individuale.
Referitor la calitatile nutritive ale berii, se poate afirma ca datorita compozitiei sale chimice, se constituie ca un supliment pretios in alimentatia umana. Astfel un litru de bere ofera 27% din dieta necesara zilnica de aminoacizi, ca metionina si lizina, 29% din aminoacidul valina si 46% din fenilalanina, acestia facand parte din cei 20 aminoacizi denumiti "esentiali", deoarece constituie materia prima pentru "caramizile vietii", proteinele. Se adauga substantele minerale si in special fosfatii, alaturi de componenti ai complexului de vitamine B, care laolalta maresc capacitatea de suportare de catre organism a alcoolului inglobat.
Berea este si o bautura igienica. Datorita pH - ului scazut, continutului in alcool si substantelor amare din hamei, in bere nu se pot dezvolta si prin ea nu se pot transmite microbi patogeni.
Consumatorul obisnuit cu berea nu are constiinta clara a efectului nutritiv benefic al unui consum moderat de bere, el o consuma in special pentru efectul racoritor si euforizant al acesteia, nu este interesat de compozitia chimica a berii, pentru el fiind valabil proverbul latin "De gustibus non est disputandum" sau si mai simplu "este bun ceea ce imi place". Berea este folosita si pentru a prepara diverse alimente. Exista colectii de retete in care se utilizeaza berea ca principal ingredient.
Fabricarea berii din aceste materii prime are loc in trei etape mari si anume:
o Fabricarea maltului din orz (maltificarea);
o Obtinerea maltului de bere (fierberea);
o Fermentarea mustului de bere cu ajutorul drojdiei, inclusiv conditionarea berii rezultate.
Obtinerea berii din materiile prime prezentate mai sus, in cele doua etape principale - obtinerea mustului de bere si fermentarea acestuia.
Dupa cantarire maltul si cerealele nemaltificate sunt macinate in mori speciale pentru a da posibilitatea enzimelor sa actioneze in timpul operatiei de plamadire si zaharificare. Cu ajutorul apei si sub actiunea enzimelor din malt se realizeaza la plamadire si zaharificare transformarea substantelor macromoleculare insolubile din malt in produse solubile cum asa moleculara mica si medie care vor alcatui extractul mustului de bere.
Dupa zaharificare plada este filtrata in scopul separarii mustului de partile insolubile care vor forma borhotul de malt. Astfel primul must mai concentrat rezultat, cat si apele folosite pentru spalare si epuizarea borhotului in extract sunt supuse apoi fierberii cu hamei.
Fierberea mustului cu hamei are ca scop principale solubilizarea substantelor amare si de aroma ale hameiului, coagularea proteinelor, inactivarea enzimelor si sterilizarea mustului. Dupa terminarea fierberii se face separarea conurilor de hamei iar mustul fierbinte este trecut in instalatiile de tratare in vederea fermentarii.
Tratarea mustului cuprinde indepartarea precipitatului care se formeaza la fierberea mustului, denumit trub de cald, racirea mustului pana la temperatura de insamantare cu drojdii de 6-7C cat si separarea precipitatului care se formeaza in timpul racirii mustului, asa numit trub la rece .
Mustul de bere obtinut cu extractul primitiv corespunzator sortimentului de bere fabricat, este apoi trecut la fermentare primara si insamantat cu drojdie de bere sub forma unei culturi pure, obtinuta prin multiplicarea in faza de laborator si in statia de culturi pure. In timpul fermentatiei primare, care dureaza 8-10 zile, are loc transformarea zaharului fermentescibil in alcol etilic, bioxid de carbon si alte produse secundare de fermentatie, rezultand la sfarsit asa numita bere tanara.
In cursul operatiei urmatoare de fermentare secundara are loc saturarea berii cu dioxid de carbon, limpezirea si finisarea gustului berii.
O parte din drojdia rezultata de la fermentatie primara este tratata si refolosita pentru o noua fermentare, iar drojdia excedentara de la fermentatia primara si secundara este supusa uscarii si comercializarii cu drojdie uscata.
Dupa terminarea fermentatiei secundare, a carei durata depinde de sortimentul de bere respectiv, berea este trecuta la filtrare pentru indepartarea drojdiei si a altor substante care formeaza tulbureala acesteia. Berea filtrata este trecuta in tancuri speciale de bere filtrata care alimenteaza masinile de imbuteliat sau aparatul de tragere a berii in butoi. Ambalajele folosite - sticlele si butoaiele - sunt supuse in prealabil unor operatii de conditionare pentru a nu transmite un gust strain si a nu periclita stabilitatea berii. Unele sortimente de bere sunt pasteurizate la sticla, inainte de etichetare pentru prelungirea conservabilitatii. Astfel incat sticlele puse in navete cat si butoaiele pline cu bere sunt depozitate in spatii speciale racite pana la expeditie.
Berile sunt fabricate in mii de sortimente care, dupa culoare si drojdia utilizata la fabricarea lor, se pot clasifica in cateva tipuri principale.
1.Dupa culoare berile sunt : de culoare deschisa ( blonda ) si de culoare inchisa ( bruna ) cu nuante diferite in cadru fiecarui tip.
2.Dupa drojdia utilizata la fermentatie se disting :
- beri de fermentatie inferioara ;
- beri de fermentatie superioara.
Berile de fermentatie superioara sunt obtinute prin fermentarea la 15 - 20 oC cu drojdii de fermentatie superioara care produc cantitati mai mari de produsi secundari de fermentatie decat drojdiile de fermentatie inferioara ; indeosebi esteri. Au un gust si o aroma mai pronuntata de fruct si flori.
Principalele beri de fermentatie superioara sunt fabricate in Marea Britanie ( Ali, Porter, Stout ), in Germania ( Beri de grau-Weizenbien, Bere alba-Weissbier, Altbier, Klsch ) si in Belgia ( Lambie, Gueuze, Trappist, Beri albe-White beers ).
Beri de fermentatie inferioara : sunt cele mai larg folosite sub forma de berii filtrate limpezi, limpiditate cristalina a acestor beri fiind principalul criteriu de calitate. Principalele tipuri de bere de fermentatie inferioara, produse pe plan mondial sunt :
Bere blonda Tipuri: slab alcoolica, usoara, obisnuita, superioara, pils
Se consuma in special vara datorita cantitatii mai mici de alcool continut si
fiindca inlocuieste microelementele pierdute prin transpiratie.
II.CONTINUTUL PROIECTULUI
II.1. MATERII PRIME FOLOSITE LA FABRICAREA BERII
Orzul Orzul este material prima traditionala pentru fabricarea berii, foarte raspandita in cultura, fiind a patra cereala cultivata in lume dupa grau, orez si porumb. Este putin pretentioasa din punct de vedere al solului si climei, cultivarea facandu-se in zona temperata pana spre cercul polar si poate atinge cele mai mari altitudini de cultivare.
Practic toate semintele de cereale se pot maltifica, dar la fabricarea berii este preferat orzul, deoarece are bobul acoperit cu un invelis care protejeaza embrionul in timpul procesului de germinare, invelisul care si din punct de vedere tehnic este utilizat in formarea stratului filtrant la filtrarea plamezii cu cazane de filtrare. Orzul nu introduce in bere substante care sa-i imprime acesteia un gust sau un miros neplacut, iar din punct de vedere enzimatic, prin germinarea unui orz bine maturat, se acumuleaza in bobul orzului un echipament enzimatic bogat si echilibrat.
Dintre cereale, orzul este cel mai folosit la fabricarea maltului pentru bere datorita urmatoarelor avantaje pe care le prezinta :
Este cereala al carui bob este acoperit cu un invelis care protejeaza plumula in timpul germinarii ;
Prin germinare in bobul de orz se acumuleaza un echipament enzimatic divers si bogat ;
Bobul de orz contine -amilaza in cantitate apreciabila ;
Temperatura de gelatinizare a amidonului din bobul de orz este inferioara trmperaturii de inactivare a α-amilazei ;
Bobul de orz nu contine substante care sa influenteze negativ gustul si aroma berii ;
Din punct de vedere economic orzul este avantajos pentru a fi folosit la fabricare maltului ;
Este o planta care se cultiva bine in zona temperata pana la altitudini foarte mari.
Soiuri de orz Orzul apartine familiei Gramineae, genul Hordeum L., specia Hordeum vulgare, urmatoarele varietati mai importante pentru industria maltului:
Hordeum hexastichum: cuprinde soiuri de orz cu 6 randuri de boabe pe spic si care se cultiva toamna;
Hordeum distichum : care cuprinde soiuri de orz cu doua randuri de boabe pe spic si care se cultiva in special primavara, fiind cunoscuta si sub numele de orzoaica
La fabricarea maltului pentru bere se prefera orzul cu doua randuri de boabe adica orzul de primavara.
Circa 20-25% din malturile folosite in industria berii pe plan mondial, provine din orzoaica.
Compozitia chimica a orzului Componentele cele mai importante care intra in compozitia chimica a orzului si limitele lor de variatie ce sunt raportete la substanta uscata in % :
Bobul de orz este compus din apa (12-20%) si substanta uscata (88-80%).
Continutul in apa al orzului variaza in functie de conditile de clima din timpul recoltarii si de metoda aplicata. Orzul recoltat manual pe timp cu putine precipitatii are umiditate 12-14%, iar cand cad ploi in timpul recoltarii si recoltarea se face cu combine, umiditatea bobului poate atinge 18%.
Un continut mare in apa este dezavantajos din punct de vedere economic, deoarece face dificila depozitarea.
Recoltarea orzului si a orzoacei: se face la maturitate deplina, atunci cand are un continut maxim de amidon, energia de germinare este de minim 90%, iar constituentii proteici sunt in cantitati cat mai reduse. Orzul si orzoaica se aleg dupa provenienta si sortiment. Calitatea orzului si a orzoaicei se determina prin analiza de laborator, organoleptica, fizico- chimica si microbiologica. Orzul pentru fabricarea berii trebuie sa indeplineasca urmatoarele conditii:
- uniformitatea minimum 70%
- umiditate maximum 14%
- masa hectolitrica minimum 63% kg
- corpuri staine maximum 5%
- energie de germinare minimum 80%
- proteine maximum 12%
Orzoaica pentru fabricarea berii trebuie sa indeplineasca urmatoarele caracteristicii:
a) Masa hectolitrica minimum 64kg
b) Corpuri straine maximum 5%
c) Energie de germinare minimum 90%
d) Proteine maximum 11%
e) Uniditate maximum 14%
Factorii care influenteaza calitatea orzului
La fabricarea maltului pentru bere se preteaza mai bine orzoaica cu bobul mare, cu coaja fina, avand o energie de germinarea ridicata, continut ridicat de amidon de circa 60- 65 % din substanta uscata si un continut redus in proteine de 9 - 11,5% din substanta uscata.
Calitatea soiului de orz este determinata de interactiunea intre soiul de orz so conditiile de cultivare, perioada de insamantare, ingrasemintele folosite, locul de cultivare, perioada de recoltare, anul recoltei,tratamentele orzului dupa recoltare.
Soiul de orz influenteaza asupra
uniformitatiiorzului, asupra activitatii
- amilazei si asupra randamentului in
extract.
Doze ridicate de ingrasaminte pe baza de N, P, K, produc o crestere apreciaila a continutului orzului si maltului in proteine, scaderea continutului in maltoza si scaderea randamentului si a gradului de fermentare. Odata cu cresterea continutului in proteine scade randamentul in extract al amltului. De exemplu, cresterea continutului in proteine de 9,5 - 12%, duce la cresterea azotului solubil si a stabilitatii spumei dar pe de alta parte duce la scaderea stabilitatii coloidale a berii.
Pentru obtinerea unei beri de culoare deschisa se recomanda malt fabricat din oarze cu continut in proteine intre 10.6 - 10,8% in substanta uscata. la berile cu extract primitiv mai scazut se pot folosi malturi mai bagate in proteine acestea avand influenta favorabila asupra spumei. Merile brune, tipice se pot obtine din malturi bogate in proteine.
Insamantarea tarzie a orzului de primavara duce la cresterea continutului de substante proteice si la scaderea greutatii la 1 000 boabe si a extractului.
Conditiile de depozitare a orzului, dupa recoltare, influenteaza calitatea orzuli. Astfel, depozitarea orzului la temperaturi in jurul valorii de 18C, permite atingerea energiei de germinare maxima mai repede decat la orzul depozitat la temperaturi scazute.
Momentul recoltarii orzului, are de asemenea, influenta asupra calitatii orzului si a berii. Recoltarea la maturitae deplina duce la obtinerea unei valori maxime pentru gradul final de fermentare si pentru randamentul in extract. Calitatea orzului este influentata negativ si de unele boli si daunatori care pot ataca culturile.
Apa Apa este una din materiile prime de baza pentru fabricarea berii produs in compozitia caruia intra in medie in proportie de 88% si ale carei calitate le influenteaza. Cele mai renumite si mai tipice beri fabricate in lume isi datoreaza caracteristicile indeosebi calitatilor apelor cu care sunt obtinute. Astfel berea Pilsen este obtinuta cu o apa cu duritate foarte mica, berile brune de Mnchen, Dublin sau Londra se obtin cu ape ce au un continut ridicat in bicarbonati de calciu si putini sulfati, berea de Dortmund, puternic aromata, este obtinuta cu apa cu duritate mare continand sulfati si cloruri, in timp ce berile amare de Burton se obtin cu ape cu continut mare in sulfati de calciu.
Din punct de vedere chimic apa trebuie sa indeplineasca urmatoarele conditii :
Sa nu contina materii organice, amoniac, nitriti si fier ;
Cantitatea de nitriti sa nu depaseasca 100mg/l, iar cea de cloruri 250mg/l ;
Duritatea apei este in functie de tipul de bere.
Efectul apelor calcaroase se manifesta printr-o micsorare a actiunii diastazei, a cantitatii de maltoza si o scadere a atenuatiei. Bicarbonatul de magneziu micsoreaza aciditatea, produce o culoare mai inchisa a mustului si un gust amar.
Continutul de 300-400mg/l sulfati de calciu exercita o actiune favorabila asupra fermentatiei si limpezirii berii, deoarece au un efect neutralizant asupra actiunii bicarbonatilor.
Hameiul Reprezinta o materie prima indispensabila fabricarii berii conferindu-I acesteia gust amar si o aroma specifica. Valoarea la fabricarea berii este data indeosebi de substantele (rasinile ) amare si de uleiurile esentiale aduse de hamei. Rasinile reprezinta precursorii substantelor amare din bere si determina si valoarea antiseptica a hameiului, iar uleiurile esentiale sunt responsabile de aroma de hamei.
Componentele chimice ale hameiului contribuie la o mai buna stabilitate si limpezire a mustului si la imbunatatirea insusirilor de spumare a berii.
Planta de hamei apartine din punct de vedere botanic genului Humulus din familia Cannabiaceae si mai precis speciei Humulus lupulus. Singura parte a plantei de hamei care se utilizeaza la fabricarea berii este conul de hamei care reprezinta inflorescenta femela.
Conurile de hamei trebuie culese pe cat posibil la maturitate si in decurs a zece zile dupa atingerea maturitatii tehnice. Recoltarea hameiului se face manual sau mecanic.
Hameiul proaspat recoltat contine 75-80% apa si pentru a putea fi conservat el trebuie uscat cat mai repede dupa recoltare. In compozitia conurilor de hamei intra atat substante comune tuturor vegetalelor cat si substante specifice, care dau caracteristica si valoare pentru fabricarea berii, ca substantele amare si uleiurile esentiale, aduse de hamei. Ei contribuie la formarea spumei, in special humulonul si au actiune antiseptica.
Inlocuitorii maltului In multe tari maltul este inlocuit prtial cu cereale nemaltificate sau cu zahar, ceea ce aduce o serie de avantaje, dintre care se pot mentiona urmatoarele :
Se produc cheltuieli aferente maltificarii ;
Dispar pierderile in amidon care intervin in mod normal la maltificare ;
Se pot utiliza la obtinerea berii sarje ce au o energie slaba de germinare si nu se pot maltifica ;
Are loc o crestere a randamentului fierberiiatunci cand se prelucreaza cereale nemaltificate cu un extract superior maltului ;
Se imbunatateste uneori culoare, plinatatea si spumarea berii obisnuite.
Inmod obisnuit se pot inlocui 2030% din cantitatea de malt cu cereala nemaltificate.
La stabilirea procentului de cereale nemaltificate, se are in vedere desfasurarea normala a zaharificariisi filtrarii plamezii, a fermentatiei si limpezirii berii cat si asigurarea unei calitati corespunzatoare berii finite, in special in ceea ce priveste gradul de fermentare, gustul, spuma si stabilitatea coloidala.
Cei mai utilizati inlocuitori sunt : porumbul, orezul si orzul.
II.2. PROCESUL TEHNOLOGIC DE FABRICARE A BERII BLONDE
Receptia calitativa si cantitativa. Prin receptia calitativa se urmareste ca materia prima sa corespunda conditiilor impuse de standardele de calitate in vigoare pentru orz si orzoaica. Orzul este adus in fabrica cu vagoane de cale ferata care pot fi vagoane de marfa obisnuite sau vagoane - siloz sau cu autocamioane. Orzul se supune receptiei cantitative, cantitatile respective fiind inregistrate in documentele de evidenta primara.
Din vagoanele de marfa obisnuite, orzul se descarca cu lopata mecanica cu ajutorul careia un vagon de 40 tone se descarca in 20 minute sau descarcarea se efectueaza manual, cu lopata obisnuita, durata descarcarii fiind mult mai mare in acest caz. In cazul vagoanelor siloz, descarcarea se efectueaza automat in buncarul de primire al silozului de cereale al fabricii. Din acest buncar orzul este preluat cu un transportor cu lant si apoi de un elevator cu cupe care-l dirijeaza intr-o celula in siloz. Descarcarea orzului din autocamioane se face prin bascularea platformei prin actionare mecanica sau hidraulica. Pentru descarcarea orzului din vagoane si autocamioane si pentru transportul orzului pana la silozul de depozitare se pot folosi si instalatii pneumatice care pot actiona:
prin aspiratie;
prin refulare;
mixt.
Depozitarea orzului. Se efectueaza in magazii sau silozuri, la care se impune existenta unei posibilitati de aerisire. Nu se recomanda depozitarea boabelor de orz in saci, deoarece se reduc posibilitatile de aerisire a acestora. Silozurile pentru depozitare sunt celule metalice sau din beton de diferite dimensiuni, cu sectiune patrata, dreptunghiulara, rotunda sau hexagonala. Corpurile de siloz moderne au de obicei o forma rotunda sau hexagonala, grupate sub forma de fagure.
Depozitarea orzului proaspat recoltat este necesara pentru maturizarea boabelor in vederea unei germinari uniforme. Boabele proaspat recoltate se afla in asa numitul repaus de germinare, care reprezinta un mijloc de aparare a perpetuarii speciei. Acest repaus de germinare dureaza intre 3 si 9 saptamani si consta in imposibilitatea orzului de a germina chiar daca i se asigura conditii optime de germinare. Germinarea boabelor este conditionata si de sensibilitatea la apa a orzului. La sfarsitul perioadei de postmaturare, orzul iese din repausul germinativ si atinge energia de germinare maxima.
In timpul depozitarii, datorita activitatii vitale, bobul de orz respira, producandu-se o anumita cantitate de caldura si pierderi, in special in amidon. De aceea trebuie sa se controleze in permanenta temperatura stratului de orz si atunci cand aceasta creste cu mai mult de 10C/24 h este necesara aerarea imediata a orzului care se poate face prin insuflare de aer prin masa de orz sau prin prefirarea orzului. Aerarea orzului se efectueaza cu aer care are o umiditate relativa in echilibru cu umiditatea orzului .
Umiditatea relativa a aerului in functie de umiditatea orzului
|
Umiditatea orzului, [%] |
|
|
|
|
|
|
|
Umiditatea relativa a aerului pentru aerare, [%] |
|
|
|
|
|
|
II.2.1 CONDITIONAREA ORZULUI
Orzul brut constituie o masa de boabe mai mult sau mai putin uniforme, care contine intotdeauna si impuritati. In tehnologiile actuale, orzul brut este precuratit pentru indepartarea impuritatilor mari (pietre, bulgari de pamant) si de praf, dupa care este insilozat urmand ca inaintea intrarii in procesul de maltificare sa fie supus unei curatiri si sortari corespunzatoare.
Precuratirea orzului
Prin aceasta operatie se urmareste indepartarea din masa de orz a impuritatilor de natura organica si anorganica mai mici si mai mari ca boabele de orz, ca: paie, buruieni, coji, seminte de buruieni si de alte plante cultivate, bulgari de pamant, pietre, corpuri metalice, nisip, praf, etc. Precuratirea orzului se realizeaza cu ajutorul tararului aspirator (separator-aspirator) si a separatorului electromagnetic.
Tararul-aspirator este prevazut cu un sistem de 3 site cu urmatoarele dimensiuni ale ochiurilor:
sita superioara - lungime 20 mm si latime 12 mm;
sita mijlocie - lungime 15 mm si latime 3,5 mm;
sita inferioara - lungime 15 mm si latime 1,5 mm.
De pe primele doua site se separa impuritatile mai mari decat boabele de orz de diferite dimensiuni, de pe ultima sita rezulta orzul, iar de sub ea impuritatile mai mici decat boabele de orz. Utilajul este prevazut cu un ventilator si cu doua camere de depunere a impuritatilor usoare (praf, pleava, paie). Aceste separatoare cu trei site au capacitate mare de lucru, putand prelucra 50006000 kg boabe /ora.
Sita superioara retine corpurile straine de dimensiuni mari care se elimina printr-un jgheab si o palnie si lasa produsul sa treaca prin sita mijlocie. Aceasta sorteaza produsul de corpurile straine cu dimensiuni ceva mai mari decat a bobului de curatit. Ele sunt evacuate printr-o palnie, iar produsul trece prin sita inferioara unde are loc cernerea si descarcarea prin gura de evacuare, in timp ce impuritatile cu dimensiuni mici trec prin sita fiind colectate cu ajutorul unui jgheab cu palnie. Particulele usoare sunt aspirate la intrare si la iesire prin sistemul de aspiratie.
Tararul-aspirator
Toplet

Partile principale ale tararului aspirator sunt gura de alimentare 1; clapeta de reglare a debitului 2; caseta cu cele 3 site 3; sitele tararului 4; bilele de curatire a sitelor 5; sistemul de actionare cu excentric 6; camera de decantare a impuritatilor usoare 7; tubul de racordare la un sistem de aspiratie 8; clapetele de reglare a debitului si vitezei aerului 9; transportorul elicoidal pentru evacuarea corpurilor straine usoare 10; gura de evacuare a produsului curatat 11; palnia de evacuare a impuritatilor mai mari decat boabele 12 si palnia de evacuare a impuritatilor mai mici decat boabele 13.
Produsul intra in tarar prin sistemul de alimentare, fiind apoi repartizat pe intreaga latime a sitei superioare cu ajutorul clapetei reglabile.
Indepartarea impuritatilor metalice (cuie, suruburi, s.a.) se efectueaza cu separatoare magnetice sau electromagnetice care retin numai corpurile feroase. Operatia este necesara deoarece impuritatile metalice pot conduce la deteriorarea morilor de malt si pot produce incendii si explozii prin emiterea de scantei la trecerea acestora prin instalatii. Separatoarele magnetice sunt dotate cu magneti permanenti stationari. Cele mai utilizate sunt separatoarele electromagnetice intrucat campul lor magnetic este constant in timp.
Dupa operatiile de precuratire orzul poate fi trimis la depozitare sau poate fi supus in continuare operatiilor de curatire propriu-zisa (triere) si sortare pe calitati.
Curatirea orzului
Scopul acestei operatii este acela de a indeparta din masa de orz impuritatile care se deosebesc de orz prin grosime si lungime (neghina, mazare, mei, boabe sparte) care, datorita formei si dimensiunilor lor nu au putut fi separate cu tararul-aspirator.
Operatia de curatire se realizeaza cu ajutorul trioarelor care pot fi de mai multe tipuri:
trioare cilindrice cu manta alveolata;
trioare cu discuri si alveole;
trioare cu banda alveolata;
trioare cu palete.
Cele mai utilizate sunt trioarele cu manta alveolata, care functioneaza dupa urmatorul principiu: masa de orz se introduce pe la unul din capete si se deplaseaza catre celalalt capat, in timpul rotirii cilindrului triorului, datorita inclinarii fata de orizontala a cilindrului cu manta alveolata. Impuritatile mici, rotunde se dispun in alveole si odata cu rotirea cilindrului alveolat, la o anumita inaltime, se desprind de fundul alveolei si cad intr-un jgheab de colectare. Un transportor elicoidal dirijeaza impuritatile mici catre un separator elicoidal, care realizeaza separarea sparturilor de orz de celelalte seminte straine.

Fig. Trior:
1 - manta; 2 - ax; 3 - jgheab; 4 - transportor elicoidal evacuare impuritati; 5 - actionare; 6 - alimentare orz; 7 - strat de orz; 8 - gura de evacuare produs; 9 - gura de evacuare impuritati.
Dupa viteza de lucru, trioarele cilindrice intalnite in industria berii pot fi:
cu viteza redusa, lente; cu viteza marita, rapide (ultratrioare); combinate.
Eficienta operatiei de curatire se realizeaza prin analiza orzului si a impuritatilor rezultate. Astfel, in orzul curatit nu trebuie sa ramana seminte straine, iar impuritatile separate nu trebuie sa contina boabe de orz.
Sortarea orzului
Dupa efectuarea operatiilor de precuratire si curatire, orzul sau orzoaica sunt supuse sortarii dupa dimensiuni. Aceasta operatie este necesara deoarece boabele de diferite dimensiuni se caracterizeaza prin:
continut diferit de azot;
viteza de absorbtie a apei diferita;
capacitate de germinare diferita.
Sortarea orzului pe calitati se poate efectua cu ajutorul sortatoarelor cilindrice sau prin folosirea sitelor plane. Fig. Sortator cilindric

In figura este prezentata o sectiune longitudinala si transversala a unei instalatii cilindrice de sortare a orzului-orzoaicei, la care, boabele se introduc pe la capatul mai ridicat 1, in timpul rotirii tamburului, boabele capatand atat o miscare de rotire cat si o alunecare catre celalalt capat inclinat al tamburului 5. Sub fiecare sita de sortare se afla montat cate un buncar de colectare a boabelor care trec prin sita, dupa cum urmeaza: sub sita cu orificii dreptunghiulare de 2,2 mm latime se afla buncarul de colectare pentru boabele de calitatea a IV-a 2, sub sita cu orificii dreptunghiulare de 2,5 mm latime se afla buncarul pentru boabele de calitatea a III-a 3, sub sita cu orificii dreptunghiulare de 2,8 mm latime se afla buncarul pentru boabele de calitatea a II-a 4. Boabele de calitatea I sunt cele retinute de sita cu orificii dreptunghiulare de 2,8 mm latime si se evacueaza prin alunecare pe un jgheab 5 amplasat la capatul inclinat al cilindrului de sortare si sunt colectate in buncarul 7.
In timpul operatiei de sortare, orificiile dreptunghiulare ale sitelor de sortare se incarca cu boabe, micsorand astfel suprafata activa a sitelor de sortare. Pentru inlaturarea boabelor prinse in ochiurile sitelor se efectueaza permanent curatirea din exterior, folosind o perie 6.
Sortatoarele de orz sunt prevazute cu site din tabla perforata, de obicei cu fante dreptunghiulare cu lungimea de 25 mm si latimea variabila, in functie de calitatea boabelor ce urmeaza a fi sortate:
sita de 2,8 mm - pe care raman boabele de orz cu grosimea mai mare de 2,8 mm si care formeaza calitatea I;
sita de 2,5 mm - pe care raman boabele de orz cu grosimea mai mare de 2,5 mm formand calitatea a II-a;
sita de 2,2 mm pe care raman boabele de orz cu grosimea mai mare de 2,2 mm si care formeaza calitatea a III-a. Boabele care trec prin ochiurile sitei de 2,2 mm reprezinta orzul-orzoaica de calitatea a IV-a.
Sortatorul cilindric este format dintr-un tambur cilindric perforat 1, cu cele 3 zone cu site 2,2, 2,5 si 2,8 mm. Sub fiecare zona este montat cate un buncar pentru calitatea respectiva. Orzul ce urmeaza a fi sortat intra pe la capatul din stanga al tamburului alunecand de la un capat la celalalt datorita inclinarii acestuia. Calitatile de orz IV, III si II trec prin sitele cu latimea de 2,8, 2,5 si 2,2 mm, iar calitatea I este evacuata de pe ultima sita de la capatul tamburului. Pentru a se evita astuparea ochiurilor sitelor aparatul este prevazut cu un tambur cu perii 3 plasat la exteriorul tamburului de sortare.
Sitele plane (Plansichter) reprezinta un utilaj
care consta in 2028 cadre prevazute cu site orizontale, cadre aranjate unul
deasupra altuia. Cadrele cu site sunt suspendate pe un cadru care primeste
miscare plan-circulara de la un mecanism cu excentric. Orzul este distribuit in
acest fel, pe intreaga suprafata de sitare, schimbandu-si permanent pozitia si
orientarea. Alimentarea si evacuarea orzului se fac prin tuburi confectionati
din panza groasa.

Fig. Sita plana:
1 - pachet cu rame; 2- cadru sustinere; 3 - mecanism oscilant; 4- roata de curea; 5 - ax vertical; 6 - cutie de lemn; 7 - polita; 8 - tija; 9 - conducta alimentare; 10 - gura tronconica; 11 - conducta aspiratie; 12 si 13 - racord elastic; 14 - cablu; 15 - role.
Orzul de calitatea I si a II-a se utilizeaza la fabricarea berii, iar cel de calitatea a III-a si a IV-a la obtinerea maltului pentru alcool sau in scopuri furajere. Calitatile rezultate de la sortare se maltifica separat pentru a se obtine un malt de calitate omogena.
II.2.2. INMUIEREA ORZULUI
Orzul maturizat, dupa repaosul germinativ, poate fi supus procesului de maltificare. In silozuri, procesele de sinteza din bobul de orz stagneaza, activitatea enzimatica este minima.
Prin crearea conditiilor necesare desfasurarii germinarii, bobul de orz poate fi readus la activitate prin asigurarea cantitatii suficiente de apa, pentru atingerea unui anumit grad de umiditate a orzului, asigurarea oxigenului necesar respiratiei embrionului, precum si asigurarea temperaturii adecvate desfasurarii procesului.
In timpul inmuierii au loc trei procese mai importante: absorbtia apei in bob, alimentarea cu oxigen , spalarea si dezinfectia orzului.
Prin absorbtia apei boabele isi maresc volumul, invelisurile se intind, devin netede, embrionul creste si se dezvolta dand nastere la aparitia radicelelor si a plumulei.
Procesul de inmuiere trebuie astfel condus incat acesta sa tina seama de sensibilitatea orzului fata de apa, evitandu-se sufocarea embrionului si sa se elimine inhibitorii germinatiei, cu ajutorul apei de inmuiere.
Prin acumularea apei in cursul procesului de inmuiere se declanseaza germinatia. Pentru obtinerea unei cantitati mari de enzime si pentru solubilizarea partii fainoase a bobului intr-un timp relativ scurt, orzul trebuie sa aiba o umiditate de 4448%.
Absorbtia apei depinde de :
temperatura apei de inmuiere;
marimea bobului de orz;
varietatea de orz si anul de recoltare;
procedeul de inmuiere .
Cu cat temperatura apei de inmuiere este mai mare cu atat absorbtia apei este mai rapida si se reduce mai mult durata de inmuiere. Astfel, pentru atingerea unei umiditati a orzului inmuiat de 43% sunt necesare:
la 90C ..... 78 ore;
la 130C ..... 54 ore;
la 170C ... 46 ore;
la 210C .... 28 ore.
Prin numeroase experimentari s-a stabilit ca, temperatura normala pentru desfasurarea proceselor fiziologice la inmuiere este de 12130C.
Absorbtia apei se produce cu intensitatea cea mai mare in primele 48 ore ale procesului de inmuiere, apoi ea scade treptat pana la punctul de saturatie. Absorbtia apei este mai rapida daca inmuierea se realizeaza alternativ cu si fara apa, iar eficienta absorbtiei va creste si mai mult prin lungirea perioadelor de inmuiere fara apa, care reprezinta circa 5080% din timpul total de inmuiere.
Se supune operatiei de inmuiere numai orzul sortat in prealabil pe calitati, deoarece capacitatea de absorbtie a apei depinde de marimea si structura bobului. Boabele mai mari de orz si boabele mai pline se inmoaie mai incet decat boabele mai mici si mai slabe. Continutul initial de apa al orzului nu influenteaza capacitatea de absorbtie, in schimb, de exemplu, un orz bogat in substante proteice si sticlos, necesita timp mai indelungat pentru atingerea aceluiasi grad de inmuiere.
In timpul inmuierii se realizeaza si spalarea si dezinfectarea orzului. Se indeparteaza praful ce nu a fost separat din masa de orz in decursul precuratirii si curatirii orzului, ca si orzul plutitor, printr-o buna agitare a orzului in apa de inmuiere cu ajutorul aerului comprimat cat si prin recircularea amestecului de apa-orz. De regula, la spalarea mecanica se aplica si o spalare chimica, prin introducerea in a doua apa de inmuiere a unor substante alcaline cu actiune detergenta. Cele mai utilizate substante alcaline sunt:
CaO (1030 g/ hl apa de inmuiere), se adauga in a doua apa de inmuiere. In ciuda pretului scazut, varul reprezinta dezavantajul ca formeaza carbonat de calciu care se depune pe bobul de malt. Ca urmare, dupa uscarea maltului exista pericolul formarii prafului, iar procesul tehnologic de plamadire-zaharificare este ingreunat datorita modificarilor valorilor de pH al mustului;
NaOH (0,35 kg/m3 apa de inmuiere), se adauga in a doua apa de inmuiere. NaOH are un efect de spalare mai bun a bobului de orz si nu formeaza precipitate ca in cazul CaO. Se dozeaza sub forma de solutie 1% la temperatura de 400C favorizand dizolvarea substantelor amare din coji. In urma acestui tratament creste gradul de fermentare al berii;
Na2CO3 (0,9 kg/m3 apa de inmuiere) prezinta aceleasi avantaje ca NaOH. Adaosul acestor substante alcaline contribuie la extragerea substantelor polifenolice, substantelor amare si proteinelor din coaja bobului de orz, determinand imbunatatirea calitatii maltului si a berii.
Ca substante cu actiune antiseptica se pot utiliza:
apa oxigenata (300500 ml/ hl apa de inmuiere), substanta cu actiune favorabila si asupra micsorarii sensibilitatii la apa a orzului;
aldehida formica (11,5 kg/t orz) care produce si o micsorare a pierderilor la maltificare, dar poate influenta calitatea maltului, existand riscul ca gustul de fenol sa ajunga in bere;
pentaclorfenolatul de sodiu (0,08 kg/m3 apa de inmuiere);
acid sulfuric concentrat (200300 ml/m3 apa de inmuiere);
hipocloritii sunt deosebit de eficace ca dezinfectanti,
insa prezinta pericolul formarii de clorofenoli, compusi care pot sa ajunga in
produsul finit -
Consumul de apa de inmuiere este variabil si depinde de procedeul de inmuiere utilizat, literatura de specialitate indica un consum de 512 m3 apa/tona de orz. Nivelul de apa din orz este important pentru germinare, deoarece acesta influenteaza decisiv formarea enzimelor, dezvoltarea embrionului si transformarile metabolice la germinare.
La procedeele clasice, in timpul inmuierii cu apa se introduce in vasul de inmuiere, in fiecare ora aer comprimat, timp de 1015 minute, iar in perioadele de inmuiere fara apa, dioxidul de carbon se indeparteaza la intervale de 12 ore timp de 1015 minute. Aportul de oxigen este indispensabil pentru mentinerea viabilitatii orzului in timpul inmuierii.
La intocmirea diagramei de inmuiere se va tine seama in primul rand, de sensibilitatea orzului fata de apa. Aceasta este influentata de caracteristicile pedoclimatice ale anului de cultura (creste in anii cu temperaturi scazute, cu multe precipitatii si umiditate relativa ridicata a aerului in perioada de maturare a bobului), de soiul de orz si de gradul de contaminare cu microorganisme a orzului. Prin calculul diferentelor de boabe germinate in 4 respectiv 8 ml apa timp de 5 zile, se stabilesc urmatoarele criterii de apreciere pentru orz:
putin sensibil la apa, cand diferenta este de 10%;
usor sensibil la apa, cand diferenta este de 1125%;
sensibil la apa, cand diferenta este de 2645%;
foarte sensibil la apa, cand diferenta este de peste 45%.
Sensibilitatea mare a orzului fata de apa poate fi atenuata prin prelungirea perioadei de inmuiere fara apa, eventual prin adaugare de H2O2 la inmuiere.
Sensibilitatea la apa a orzului depinde de proprietatile invelisului si dispare atunci cand au aparut radicelele la germinare. Prin urmare este necesar ca sa se astepte inceperea germinarii la un continut de 3740% apa si apoi sa se creasca continutul de apa la nivelul dorit.
Procedee de inmuiere
Procedeele de inmuiere aplicate sunt diferite de la tara la tara si chiar de la producator la producator, in toate cazurile se tine seama, in principal, de sensibilitatea orzului la inmuiere, sensibilitate care indica si comportamentul embrionului la absorbtia de apa. In conditiile unei sensibilitati mari, germinarea se declanseaza mai greu, consecinta a absorbtiei mari de apa si, dupa declansare, se incetineste mai repede si se opreste.
Un exemplu pentru un procedeu de inmuiere:
inmuiere sub apa la temperatura de 120C, pana la atingerea umiditatii de 30% (dureaza circa 46 ore);
pauza fara apa, timp de 1420 ore (tinandu-se seama de sensibilitatea orzului fata de apa);
inmuierea in continuare sub apa, la temperatura de 12150C, pana la realizarea umiditatii de 38% (durata 24 ore);
pauza fara apa timp de 1420 ore, pana la realizarea germinarii uniforme;
continuarea inmuierii sub apa de 12180C, pana la atingerea umiditatii 4244% (durata 14 ore). Durata totala a operatiei de inmuiere variaza intre 3554 ore, din care inmuierea uscata 2840 ore.
La intocmirea diagramelor de inmuiere care pot fi variate, tinandu-se seama de sensibilitatea orzului la apa, se va avea in vedere ca germinarea se declanseaza la 30%.
Inmuierea cu apa aerata Procedeul cunoscut si sub denumirea de metoda Bulgakov consta in aerarea apei folosite la inmuiere, care se realizeaza prin intermediul unui dispozitiv plasat in conducta de alimentare cu apa a cuvei de inmuiere. Datorita aerului insuflat se accelereaza procesul de absorbtie al apei in boabe si procesele biochimice ce caracterizeaza germinarea. Timpul de inmuiere se reduce la maximum 40 ore.
Inmuierea cu apa calda Se realizeaza in scopul accelerarii procesului de absorbtie a apei utilizand apa cu temperatura de 20400C. Procesul este favorizat de aerarea intensa, si/sau periodica. Procedeul se realizeaza prin utilizarea apei calde in prima zi de inmuiere, iar in continuare temperatura apei scade sub 200C.
Inmuierea cu apa fierbinte Procedeul are drept scop accelerarea proceselor biochimice din bobul de orz. Apa fierbinte (55600C) este folosita ca apa de inmuiere doar la inceputul procesului, pe o perioada de circa 20 minute. Apa de inmuiere utilizata apoi pana la finalul procesului are temperatura obisnuita. Dezavantajele procedeului sunt urmatoarele:
temperaturi mai mari de 620C afecteaza capacitatea de germinare a bobului;
pierderile la maltificare cresc datorita favorizarii solubilizarii substantelor din bob;
apare pericolul dezvoltarii de microorganisme pe suprafata boabelor.
Inmuierea prin stropire Procedeul consta in stropirea continua a boabelor de orz, apa pulverizata deasupra cuvei de inmuiere scurgandu-se in mod continuu pe la partea inferioara. Se favorizeaza atat curatirea, cat si oxigenarea continua a bobului. Pentru a se elimina pericolul asfixierii boabelor se administreaza de doua ori pe zi aer in cantitate de 0,60,9 m3/t orz. Se recomanda o spalare prealabila a boabelor de orz, spalare ce se poate realiza intr-o cuva alimentata cu apa in care sa se asigure o circulatie a boabelor in circuit inchis. Prin acest procedeu se realizeaza germinarea uniforma a boabelor de orz. Tehnica stropirii face posibila aplicarea metodelor continue de germinare, inmuierea realizandu-se chiar in casetele de germinare. Boabele se inmoaie prin pulverizarea apei pana se atinge umiditatea optima de germinare (Stroia, I., 1998).
Instalatii de inmuiere
Inmuierea orzului se realizeaza in utilaje denumite cuve de inmuiere sau linuri de inmuiere. Linul de inmuiere este prevazut cu:
sistem de aerare format din conducte circulare prevazute cu orificii, montate in partea conica, alimentarea se face cu aer comprimat prin intermediul unui compresor;
gratar montat la fundul partii tronconice sub care se gaseste montata vana de golire a orzului;
conducta de evacuare a apei murdare;
conducta de evacuare a orzului plutitor montata la partea superioara a partii cilindrice;
suflanta pentru aspiratie CO2;
instalatie pentru amestecare si transvazare a boabelor de orz.
Se folosesc doua tipuri principale de linuri de inmuiere:
linuri clasice - la care intreg procesul de inmuiere se realizeaza in acelasi lin, iar amestecarea orzului se realizeaza cu ajutorul unui dispozitiv special numit morisca Seigner;
linuri prin recirculare - la care inmuierea se realizeaza prin trecerea orzului printr-o linie de inmuiere formata din trei linuri, uneori fiind folosit si un al 4-lea lin pentru prespalare; in acest caz amestecarea orzului se realizeaza prin recirculare cu apa in acelasi lin sau la trecerea in linul urmator
O cuva de inmuiere este formata dintr-o parte cilindrica, terminata cu o parte conica. La partea conica inferioara linul este prevazut cu o supapa conica amplasata in mijlocul unui gratar din otel care serveste la oprirea boabelor de orz. Pe suprafata interioara a partii conice sunt montate tevi inelare pentru barbotarea masei de orz supuse inmuierii.

Fig. Linul de inmuiere cilindro-conic
1 - tancul de inmuire; 2 - conducta centrala pentru circulatia orzului; 3 - intrare aer comprimat; 4 - evacuare orz inmuiat; 5 - evacuare orz plutitor; 6 - admisie apa proaspata; 7 - evacuare apa uzata.
In centrul linului de inmuiere este montata o conducta de aer comprimat pentru trimiterea boabelor de orz in morisca Seigner fixata cu un ax de conducta verticala. Cuva de inmuiere este prevazuta cu o conducta de evacuare a apei, un preaplin pentru indepartarea orzului plutitor si o conducta pentru evacuarea apelor murdare.
In timpul inmuierii se controleaza gradul de umiditate, temperatura si eventual procentul de boabe germinate.
II.2.3. GERMINAREA ORZULUI
Dupa inmuiere, bobul de orz trece din starea latenta in starea activa. Germinarea este un fenomen fiziologic si biochimic in cursul caruia se dezvolta radicelele si plumula. Radicelele strapung baza bobului formand 35 radicele. Plumula strapunge testa, dar nu si tegumentul exterior si se dezvolta intre ele, in partea posterioara a bobului. Daca nu se intervine in procesul tehnologic, plumula iese prin varful bobului formand asa numitii "husari". La fabricarea maltului pentru industria berii, prin conducerea procesului tehnologic se urmareste evitarea formarii husarilor, la maltul blond nefiind admisi, iar la maltul brun prezenta lor se admite pana la 510%.
Se produce solubilizarea membranei celulare cu ajutorul hemicelulazei, asigurandu-se astfel accesul enzimelor la substantele de rezerva din bob si se produce dezagregarea acestor substante cu molecule mari in altele cu molecule mai mici.
In urma germinarii, maltul trebuie solubilizat in totalitate, deoarece in partile insolubile, enzimele nu pot patrunde, iar substantele ce nu au fost solubilizate nu mai pot fi dezagregate in timpul operatiilor de fabricare a berii si vor crea dificultati in procesul tehnologic. Maltul insuficient solubilizat va avea activitate enzimatica scazuta, se zaharifica incet la plamadire, mustul de bere si berea se filtreaza greu, randamentul la fierberea mustului va fi mai mic, iar berea rezultata va avea un grad de fermentare scazut.
In timpul germinarii se asigura conditii favorabile pentru dezvoltarea embrionului si formarea enzimelor, oxigen, apa si temperatura necesara, iar spre sfarsitul germinarii se reduce aerarea pentru franarea dezvoltarii embrionului, insa fara a ingradi activitatea enzimatica. Prin germinare se urmareste:
activarea unor enzime preexistente in embrion, scutelum, tesutul aleuronic si subaleuronic precum si in endosperm;
sinteza unor enzime. Cele mai importante enzime care se activeaza sau se sintetizeaza la germinare apartin hidrolazelor.
Formarea enzimelor este rezultatul activarii proceselor de sinteza de proteine enzimatice in stratul aleuronic de catre fitohormoni elaborati in tesutul nodal al embrionului si transportati de apa prin scutellum in stratul aleuronic. La germinare se formeaza α-amilaza si cantitati noi din alte enzime in urmatoarea succesiune: β-glucanaze, α-amilaze, proteaze, fosfataze si β-amilaze. Cu cat este mai intensa aerarea orzului cu atat se formeaza o cantitate mai mare de enzime. Sub actiunea enzimelor formate la germinare, substantele macromoleculare din bobul de orz sunt transformate in substante cu greutate moleculara medie si mica. Totalitatea transformarilor suferite de aceste substante poarta denumirea de solubilizarea maltului si se reflecta in modificarea insusirilor mecanice ale maltului, maltul uscat devenind friabil.
Procedee de germinare
Un exemplu de diagrama de germinare ce se bazeaza pe inmuierea repetata a maltului verde se prezinta astfel: orzul dupa 2436 ore de inmuiere, cu umiditatea de 38% si la temperatura de circa 16180C este introdus in caseta de germinare. La aceasta temperatura si umiditate, orzul germineaza rapid si uniform. Dupa 4860 ore de germinare, se introduce in caseta apa cu temperatura de 12180C, in care se inmoaie orzul timp de 824 ore. Datorita acestei reinmuieri, embrionul orzului se inactiveaza, insa bobul de orz se solubilizeaza prin actiunea enzimelor datorita umiditatii ridicate de 5052%. Maltul fabricat dupa acest procedeu prezinta radicelele mai putin dezvoltate, dar este bogat in enzime, cu toate ca unele exoenzime (peptidaze si glucanaze) isi vor reduce activitatea. Pierderile de maltificare sunt de numai 56%, raportate la substanta uscata.
Procedeul de germinare in mediu de CO2 se caracterizeaza prin aceea ca dupa terminarea fazei biologice de germinare, condusa in atmosfera bogata in oxigen, urmeaza o faza de productie, denumita faza de solubilizare, condusa in mediu de CO2. In aceasta faza de solubilizare se mentin functiile vitale si se formeaza noi enzime care se alatura enzimelor formate in faza biologica, in final producandu-se solubilizarea bobului de orz. Prin germinarea in mediu de dioxid de carbon, incepand din ziua a cincea, se micsoreaza pierderile, se obtine o solubilizare mai buna fara a influenta negativ capacitatea amilolitica a maltului. La fabricarea maltului blond se recomanda ca in faza de solubilizare concentratia dioxidului de carbon sa nu depaseasca 8% (Berzescu, P., et al., 1981).
Germinarea la rece se desfasoara la temperatura de 12160C, cand functiile vitale ale maltului verde cat si producerea enzimelor se realizeaza mai lent, iar dezvoltarea radicelelor si a plumulei se face odata cu procesul de solubilizare.
In instalatiile pneumatice, aerul temperat si saturat cu apa raceste stratul de malt verde si indeparteaza dioxidul de carbon acumulat. Instalatiile de conditionare sunt prevazute cu dispozitive pentru racire sau incalzire si pentru umezirea aerului, cu conducte de aductiune si refularea aerului si cu ventilatoare.
La germinarea in casete, in primele 34 zile de germinare temperatura in stratul de orz creste de la 13140C la 15160C. In zilele 3 si 4 maltul verde se intoarce de trei ori pe zi. La sfarsitul germinarii temperatura este de 16170C pentru boabele care se solubilizeaza usor, iar pentru boabele care se solubilizeaza greu, temperatura poate sa ajunga pana la 19200C (Salontai, Al., 1996).
Procedeu cu inmuierea orzului in germinare Procedeul a fost descris pentru prima data de Kirsop si Pollock in anul 1959 si se bazeaza pe faptul ca, daca dupa 3 zile de germinare se indeparteaza radicela, maltul continua sa se solubilizeze normal. Procedeul cuprinde urmatoarele faze principale:
inmuiere normala pana la umiditatea de 38%;
germinare 48 ore;
reinmuiere 116 ore la temperatura de 12180C;
germinare 72 ore la temperatura de 180C.
Aerarea orzului aflat in procesul de germinare cu umiditatea de 50% se face numai cu aer uscat, la o temperatura de 180C, timp de 4872 ore. Prin aceasta metoda se realizeaza:
reducerea pierderilor la maltificare cu pana la 4%;
reducerea duratei de maltificare;
o buna dezagregare a maltului. Procedeul poate fi aplicat in instalatiile de germinare cu tobe, cat si in cele cu casete Saladin.
O varianta a procedeului de germinare cu reinmuierea boabelor, prezentata de Linko in anul 1961 este urmatoarea:
inmuiere cu apa la temperatura de 120C pana la umiditatea de 4344%;
germinare la temperatura de 120C timp de 24h ore;
uscare la temperatura de 300C, cu scaderea umiditatii la 10%;
reinmuiere cu apa la temperatura de 120C pana la obtinerea umiditatii de 4344%;
germinare 2 zile la temperatura de 14160C. Prin aceasta varianta tehnologica pierderile la maltificare se reduc cu 57%, se realizeaza o solubilizare buna a maltului, iar randamentul in extract creste cu 0,52,0% (Stroia, I., 1998).
Procedeu de germinare dupa Narziss care se poate aplica la sistemele de germinare cu casete Saladin in vederea obtinerii maltului blond este prezentat in tabelul urmator.
Sisteme de germinare
Se deosebesc doua sisteme principale de germinare:
germinarea pe arie;
germinarea pneumatica:
o cu functionare continua;
o cu functionare discontinua.
|
Parametrul |
Ziua de germinare |
||||||
|
1 |
2 |
3 |
4 |
5 |
6 |
7 |
|
|
Temperatura stratului de orz [0C] superior inferior |
12 12 |
13,5 12 |
14 12 |
15 13 |
16 14 |
17 15 |
18 16,5 |
|
Temperatura aerului la intrare in strat [0C] |
- |
11,5 |
11,5 |
12,5 |
13,5 |
14,5 |
16,5 |
|
Aer proaspat [%] |
2 |
75 |
75 |
60 |
50 |
40 |
30 |
|
Aer recirculat [%] |
75 |
25 |
25 |
40 |
50 |
60 |
70 |
|
Debit ventilator [m3/t h] |
300 |
350 |
450 |
500 |
500 |
430 |
370 |
|
Umiditatea maltului [%] |
42,5 |
45 |
44,5 |
44/46 |
46 |
45,5 |
45 |
|
Interval dintre doua intoarceri [h] |
12 |
12 |
8 |
12 |
16 |
20 |
24 |
Germinarea pe arie Este cea mai veche metoda de germinare si din ce in ce mai putin raspandita. Prezinta o serie de dezavantaje:
productivitate scazuta;
dificultati in controlul si dirijarea parametrilor tehnologici;
necesita consumuri mari de frig pentru racirea spatiului de germinare;
necesita spatii bine izolate si pardoseli rezistente, cu suprafata neteda si inclinata (2%) pentru scurgerea excesului de apa (Banu, C., et al., 2000).
Durata germinarii este de 78 zile pentru maltul blond si 811 zile pentru maltul brun. In timpul germinarii, se controleaza temperatura in gramezi cu ajutorul unor termometre introduse la o inaltime de 2 cm fata de pardoseala, temperatura care trebuie sa se mentina de regula intre 10180C si umezeala relativa a aerului din incapere care nu trebuie sa scada sub 95%, pentru a se evita uscarea gramezilor. Suprafata necesara pentru 100 kg orz la o grosime a stratului de orz de 1012 cm este de 3,4 m2. Pentru racirea artificiala a ariilor de germinare sunt necesare 8501000 kcal/m2 arie pentru a asigura temperatura de 100C.
Ariile de germinare pot fi dotate cu intorcatoare mecanice, cu lungimea de 5 m si o putere instalata de 3 CP, in acest fel realizandu-se economie de forta de munca.
Curatirea si dezinfectarea ariilor de germinare se efectueaza cu var, cu solutie de formalina 1% sau cu solutie de bisulfit pentru distrugerea mucegaiurilor.
Germinarea pneumatica. Se caracterizeaza prin aceea ca germinarea se poate realiza in straturi de grosimi mari, iar gramezile de orz se pot raci cu aer conditionat, care realizeaza indepartarea caldurii si dioxidului de carbon acumulat prin respiratie, fara sa se micsoreze umiditatea boabelor de orz.
Temperatura aerului introdus este cu 120 mai scazuta decat temperatura stratului de orz aflat in germinare, astfel incat la trecerea lui prin gramada de orz sa nu se incalzeasca prea mult si a se evita uscarea orzului supus germinarii. Datorita diferentei mici de temperatura dintre intrarea si iesirea aerului sunt necesare debite mari de aer: 300700 m3/t orz si h la aerarea continua si 10001500 m3/t orz si h la aerarea intermitenta. O parte din aerul utilizat care iese din stratul de orz poate sa fie recirculat in anumite faze ale germinarii, in scopul economisirii de caldura si a micsorarii pierderilor prin procesul de respiratie. Temperarea aerului se realizeaza in baterii de incalzire sau racire, in functie de anotimp. Incalzirea aerului se realizeaza cu apa calda sau cu abur, iar racirea cu ajutorul unui agent de racire (saramura, apa, s.a.) care trece prin baterie sau prin pulverizare de apa racita in instalatia de umezire a aerului.
Instalatiile de germinare pneumatica, din punct de vedere constructiv, pot fi casete de germinare si tobe de germinare.
Casetele de germinare. In functie de modul de intoarcere a maltului in timpul germinarii, acestea se pot clasifica in:
instalatii de germinare cu casete cu site continue (maltarii manuale);
instalatii de germinare cu casete individuale (mecanizate).
O instalatie reprezentativa pentru acest tip este instalatia de germinare cu casete Saladin, care are functionare discontinua. Este formata din opt casete corespunzator la 8 zile de germinare, de forma dreptunghiulara, deschise. Asezarea orzului se realizeaza pe panouri de tabla perforata care se monteaza la o distanta de fundul casetei de minimum 0,4 m. Stratul de orz supus germinarii este intors cu ajutorul unui intorcator elicoidal. Aerul proaspat intra printr-o conducta si cu ajutorul unui ventilator este trecut prin camera de umezire si apoi ajunge sub masa de orz supusa germinarii. Aerul uzat este evacuat. Caseta mai este prevazuta cu un sistem pentru reutilizarea aerului. Cu ajutorul unui termometru se masoara temperatura in masa de boabe supuse germinarii.
Capacitatea unei casete de germinare este de 3040 t orz inmuiat (incarcarea specifica este de 300500 kg orz inmuiat/m2).
Tobele de germinare. Pot fi inchise sau deschise, deosebindu-se de casete prin faptul ca in cazul tobelor de germinare intoarcerea maltului se realizeaza prin rotirea acestora. Instalatia de germinare cu tobe contine doua componente de baza: toba de germinare propriu-zisa si instalatia pentru conditionarea aerului. Tobele de germinare au fost construite in mai multe variante, cele mai utilizate fiind tobele tip Galland, tobele Topf si tobele cu casete.
Toba de
germinare inchisa tip Galland este construita dintr-un cilindru din
tabla de otel zincat, inchis ermetic, care prezinta posibilitatea de rotire pe
role. Este prevazuta cu o conducta de intrare a aerului, dispozitiv de reglare
a debitului de aer, clapete de inchidere a alimentarii cu aer, sistem de
distributie a aerului format din tevi perforate concentrice cu toba, conducte
de evacuare a aerului. Tobele inchise au in interior o camera mica de admisie a
aerului prevazuta cu un perete frontal. De aici pornesc tevi gaurite 5
concentrice cu mantaua, prin care se aspira aerul conditionat alimentat prin
canalul 1, debitul fiind reglat cu clapetele 2. Tubul central gaurit 4,
serveste pentru evacuarea aerului prin canalele 6 si 7. Pentru a preveni
aerarea neuniforma din cauza inclinatiei stratului de orz dupa rotire,
sectiunile tevilor neacoperite sunt etansate de o clapeta basculanta 2, tinuta
in pozitie
Tobele deschise tip Topf au jumatate din suprafata mantalei cilindrice perforata, aerul conditionat se alimenteaza prin refulare, trecand prin tubul central in stratul de malt verde si apoi prin perforatiile mantalei in atmosfera. Datorita acestui fapt nu este posibila o recirculare a aerului si nu se poate utiliza procedeul de germinare cu pauza de dioxid de carbon.
Tobele cu casete reprezinta o combinare intre sistemul de germinare cu tobe si cel cu casete, intrucat orzul este dispus in interiorul unei tobe inchise pe o sita orizontala. Tobele fiind inchise se poate realiza recircularea aerului in proportia dorita cat si acumulare de dioxid de carbon. Spre deosebire de celelalte tipuri de tobe, la care aerarea se poate efectua si in timpul rotirii tobei, la tobele cu casete aerarea nu se poate realiza decat in perioadele de repaus ale tobei, cand sita se afla in pozitie orizontala, aerarea, in acest caz, fiind uniforma.
Capacitatea unei tobe de germinare este de 1015 tone orz, maxim 25 tone, iar gradul de umplere variaza intre 50 si 70%. Rotirea tobei se realizeaza prin intermediul unui grup motoreductor cu melc, care angreneaza o roata dintata fixata la periferia tobei, toba avand o turatie foarte mica (o rotatie completa a tobei dureaza 1530 minute).
Parametrii tehnologici care se urmaresc si se dirijeaza in cursul germinarii sunt temperatura, umiditatea si aerarea. Se efectueaza un control permanent al temperaturii maltului in diferite straturi (superior, mijlociu si inferior) de trei ori pe zi, rezultatele se trec pe fisa tehnologica de germinare. Se mai masoara: temperatura aerului la intrarea in instalatia de germinare si a aerului din sala de germinare, debitul si presiunea aerului conditionat, umiditatea maltului.
|
|
|
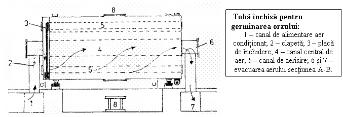
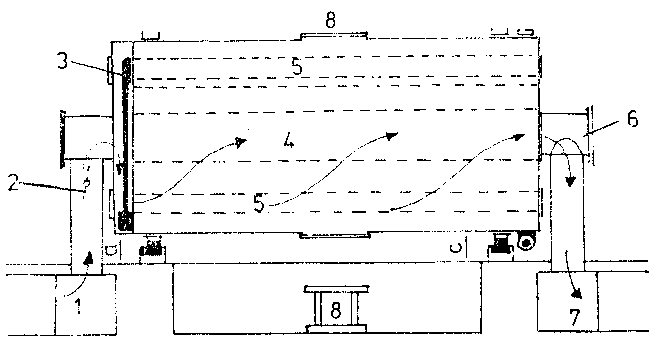
Toba inchisa pentru germinarea orzului: 1 - canal de alimentare aer conditionat; 2 - clapeta; 3 - placa de inchidere; 4 - canal central de aer; 5 - canal de aerisire; 6 si 7 - evacuarea aerului sectiunea A-B. |
![]() |
II.3. USCAREA MALTULUI
Uscarea maltului verde se realizeaza in scopul:
reducerii umiditatii maltului verde la valori care sa-i asigure conservabilitatea de lunga durata, in conditii normale de depozitare;
opririi sau dirijarii transformarilor biochimice si chimice care au loc la germinare si stabilizarii unei anumite compozitii chimice a maltului;
indepartarii mirosului si gustului "de verde" si formarea unei anumite arome si culori caracteristice tipului de malt;
favorizarii indepartarii radicelelor care confera maltului gustul amar si intensifica absorbtia de apa in maltul uscat, in conditii de depozitare necorespunzatoare.
Uscarea nu influenteaza in mod hotarator calitatea maltului, deoarece nu se poate echilibra o conducere necorespunzatoare a proceselor de inmuiere si germinare prin tehnici de uscare. Obtinerea unui malt cu calitati biotehnologice superioare rezulta in urma desfasurarii corecte a diverselor faze ale uscarii. Un proces de uscare insuficient in faza de vestejire, distributia neuniforma a temperaturii sub gratar sau uscarea finala necorespunzatoare pot conduce la inrautatiri serioase ale calitatii maltului.
Procesul de uscare cuprinde doua faze: in prima faza umiditatea maltului scade de la 4048% pana la circa 10% in cazul maltului blond si circa 20% la maltul brun. Temperatura de uscare in aceasta faza este de 45550C; in faza a doua de uscare umiditatea se reduce pana la 34% pentru maltul blond si 1,53% pentru maltul brun. Conducerea uscarii maltului este diferita in cele doua faze in functie de tipul de malt, blond sau brun.
In timpul uscarii au loc modificari fizice, biochimice si chimice care contribuie in mod hotarator la definitivarea tipului de malt fabricat. Pierderea activitatii enzimatice este cu atat mai mare cu cat maltul ajunge mai umed la temperaturi ridicate.
In functie de transformarile care au loc in procesul de uscare deosebim trei faze:
faza fiziologica se caracterizeaza prin continuarea proceselor specifice germinarii: cresterea radicelelor, plumulei, sinteza si actiunea unor enzime, atat timp cat umiditatea maltului nu scade sub 20%, iar temperatura acestuia nu depaseste 40500C. Pentru obtinerea unui malt de calitate este necesar ca in aceasta faza sa nu se depaseasca pentru anumite umiditati ale maltului temperaturile critice corespunzatoare:
o 43% umiditate ... 23250C;
o 34% umiditate ... 26300C;
o 24% umiditate ... 40500C.
faza enzimatica ce se caracterizeaza prin continuarea actiunii diferitelor enzime asupra substraturilor specifice din malt in functie de temperatura lor optima de actiune si de continutul in umiditate al maltului si incetarea dezvoltarii radicelelor si a plumulei. Pe masura ce creste temperatura si umiditatea scade sub 10% reactiile enzimatice inceteaza;
faza chimica se realizeaza la temperaturi de peste 70800C si se caracterizeaza prin reactii ce conduc la formarea compusilor de aroma si culoare si procesul de coagulare a unor fractiuni proteice macromoleculare, care contribuie la imbunatatirea stabilitatii coloidale a berii. Culoarea maltului uscat va fi influentata de:
o continutul de umiditate al maltului in timpul uscarii (cu cat acesta este mai mare cu atat se intensifica culoarea in timpul uscarii);
o intensitatea modificarilor din maltul verde( reactiile Maillard).
Micsorarea volumului bobului (zbarcirea) apare in faza de uscare propriu-zisa si este cu atat mai pronuntata cu cat maltul ajunge mai umed la temperaturi ridicate, cu cat umiditatea este eliminata mai rapid si cu cat temperatura finala de uscare este mai ridicata. Malturile mai slab solubilizate isi pierd mai mult din volumul initial in comparatie cu cele bine solubilizate.
Daca aerarea este insuficienta si maltul ajunge prea umed la temperaturi mai ridicate, este favorizata obtinerea de malturi sticloase, ca urmare a actiunii enzimelor proteolitice de solubilizare a proteinelor, care patrund in endosperm, transformandu-l intr-o masa dura, sticloasa, se produce sticlozitatea "proteica" sau "albuminoidica". Prin prelucrarea la temperaturi ridicate a malturilor cu umiditate ridicata se favorizeaza si aparitia sticlozitatii "gumoase", cauzata de actiunea hemicelulazelor asupra peretilor celulelor din endosperm, cu formare de gume solubile ce intaresc endospermul.
Indiferent de instalatia de uscare utilizata, principiile operatiei de uscare sunt:
pentru maltul blond se urmareste indepartarea rapida a apei la temperaturi mai scazute pentru a se opri dezvoltarea embrionului si activitatea enzimelor fara a le distruge, in scopul obtinerii unui malt de culoare cat mai deschisa, cu activitate enzimatica ridicata;
pentru maltul brun se creeaza conditii speciale de temperatura si umiditate care sa favorizeze dezvoltarea in continuare a embrionului si activitatea enzimelor, pentru ca in faza de uscare finala sa se formeze melanoidinele care contribuie la culoarea si aroma caracteristica a maltului brun.
Indepartarea apei din stratul de malt are loc treptat de la partea inferioara spre cea superioara a acestuia, folosindu-se ca agent de uscare aer cald sau gaze de ardere.
In timpul uscarii maltului se urmareste respectarea cu rigurozitate a diagramelor de uscare alese si se controleaza temperatura aerului de uscare sub gratar, temperatura si umezeala relativa a aerului utilizat, temperatura si umiditatea maltului, debitul de aer .
Procedee de uscare
Dintre diagramele utilizate la uscarea maltului blond in uscatoare de mare productivitate se pot prezenta cele din figura 13.
In elaborarea acestor diagrame s-a urmarit obtinerea unui malt de culoare deschisa, cu activitate enzimatica ridicata, cu umiditate finala normala si scurtarea operatiei de uscare, in special a procesului de vestejire.
Pentru a se asigura o coagulare corespunzatoare a proteinelor este necesar ca la uscarea maltului blond temperatura finala sa fie de minimum 800C, iar la cel brun de 1001050C.
Instalatii de uscare
Pentru uscarea maltului se folosesc urmatoarele tipuri de uscatoare:
clasice:
o cu gratare orizontale (13 gratare);
o cu gratare verticale;
cu gratar basculant. In general, uscarea se realizeaza cu aer cald si mai rar cu gaze de ardere.
Dupa sistemul de incalzire, uscatoarele pot fi:
cu foc direct, la care gazele de ardere sunt folosite ca agent de uscare;
cu calorifer (cu aer cald), prin care circula agentul de incalzire (apa fierbinte, abur) al aerului cald ce se foloseste pentru uscare.
Uscatoarele cu gratare orizontale sunt cele mai
vechi, pot utiliza tiraj natural si tiraj fortat si ca agent de uscare gazele
de ardere sau aer incalzit cu gaze de ardere sau cu abur intr-o baterie de
incalzire. Stratul de malt asezat pe gratare trebuie sa fie uniform, grosimea
stratului fiind in functie de felul tirajului, 40 cm in cazul tirajului natural
si 60 cm cand tirajul este artificial. Pentru o mai buna afanare a maltului
fiecare gratar este prevazut cu un intorcator mecanic cu lopeti rotative,
antrenat de un lant prin intermediul unui carucior ce se deplaseaza pe sine.
Durata de uscare a unei sarje este de circa 24 ore.

Uscatoarele cu gratar basculant sunt cele mai utilizate, deoarece prezinta mai multe avantaje:
productivitate ridicata, prin incarcare specifica mare pe gratar de 200400 kg/m2, de 510 ori mai mare decat la uscatoarele clasice;
se realizeaza economie de energie termica prin recircularea aerului uzat;
operatiile de incarcare/descarcare sunt mecanizate si automatizate;
procesul de uscare are loc pe un singur gratar, nefiind necesara intoarcerea maltului;
procesul de uscare poate fi dirijat dupa programul stabilit, in functie de calitatea materiei prime si a indicilor de calitate ai maltului uscat prestabiliti;
durata uscarii este mai mica.
Uscatorul cu gratar basculant se compune din instalatia de generare a aerului cald, camera de distributie a aerului, gratarul basculant si aparatura de automatizare.
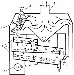
Instalatia de generare a aerului cald consta din ventilator, baterie de incalzire si anexe. Ventilatorul (15), are o turatie variabila, ceea ce permite modificarea debitului. Ventilatorul este amplasat in partea inferioara a uscatorului. Se permite astfel realizarea debitului maxim la inceputul procesului, in faza de zvantare, cat timp aerul evacuat este aproape saturat si micsorarea acestuia in faza de uscare. Aerul proaspat este introdus printr-o deschidere in canalul vertical, aproape de fund; deschiderea este prevazuta cu jaluzelele (11). De aici aerul este aspirat printr-o baterie de incalzire cu abur (14), fiind apoi refulat de ventilator in camera de distributie, amplasata la nivelul urmator. In aceasta camera este prevazuta o calota de dirijare a aerului (16) si un palpator de temperatura care comanda reglarea automata a regimului de uscare pe baza de program.
Gratarul basculant (9) este confectionat din lamele profilate de otel, alcatuit din doua parti egale prevazute cu un dispozitiv de rabatare mecanizata spre mijlocul uscatorului. Banda mobila aruncatoare (5) este destinata incarcarii cu malt verde a uscatorului. Evacuarea maltului uscat se efectueaza cu ajutorul unei palnii de deversare (17), care alimenteaza transportorul cu lant (18) ce duce maltul in buncarul de racire (20), prevazut cu transportorul elicoidal (19), pentru nivelare. Maltul verde este introdus in uscator cu ajutorului elevatorului cu cupe (1), ce deverseaza in transportorul elicoidal (2) de unde prin intermediul burlanului (3), prevazut cu clapeta de inchidere (4), cade in banda aruncatoare (5). Banda se roteste in jurul axului si imprastie intr-un strat uniform maltul verde pe gratarul uscatorului. Cosul de evacuare a aerului (10), este prevazut cu grila de protectie (13).
II.3.1. USCAREA MALTULUI DE CULOARE DESCHISA (BLOND)
O conditie principala care trebuie indeplinita in vederea obtinerii maltului de culoare deschisa este eliminata cat mai rapida a umiditatii in prima faza de uscare, care usureaza desfasurarea in continuare a proceselor fiziologice si enzimatice. Prin aceasta, cantitatea de zaharuri si aminoacizi se reduce si, astfel culoarea maltului uscat va fi mai dechisa, in urma realizarii celei de-a doua faze de uscare.
Maltul verde se aseaza pe gratarul superior intr-un strat de 12 - 22 cm. El are initial o temperatura de 16 - 20 C.
Printr-o aerare puternica se reuseste sa se scada umiditatea in prima faza de uscare, de la 42 la 8 %, prin ridicarea temperaturii pana aproape de 50 C. ridicarea temperaturii pe gratarul superior se face in asa fel, ca in prima faza sa se realizeze indepartarea umiditatii de la 45 pana la 30%, la o temperatura de 35 pana la 40C.
In faza a doua se scade umiditatea de la 30% pana la 8%, prin ridicarea temperaturii de la 40 pana la 50C. Scaderea umiditatii maltului verde de la 45 la 8%, trebuie sa se efectueze in cel mult 10 - 12 ore. Cu o umiditate de 8%, maltul este trecut pe gratarul inferior, unde se continua uscarea cu ajutorul unui curent puternic de aer. Umiditatea maltului trebuie sa scada la 3%, iar temperatura aerului ajunge pana la 75C. Pentru malturile de culoare deschisa, procesul de uscare poate dura 24 de ore.
De retinut ca maltul ramane pe fiecare gratar circa 10 - 12 ore. Deci la uscatoarele cu doua gratare, durata de uscare este de 24 de ore, in timp ce la uscatoarele cu doua doua gratare, durata de uscare este de 24 ore, in timp ce la uscatoarele cu trei gratare, durata de uscare poate fi de 30- 36 de ore.
Dupa descarcarea maltului uscat de pe gratarul inferior se da drumul maltului zvantat de pe gratarul superior in locul celui descarcat, continandu-se procesul de uscare, dupa ce, in prealabil, s-a descarcat gratarul superior cu malt proaspat verde.
Trecerea de pe un gratar pe altul se face printr-o deschizatura in gratar, numita trapa. Maltul gata uscat, de culoare deschisa, are o sectiune alb-fainoasa, un gust dulceag, o aroma fina de o intensitate redusa, iar radicelele aunt galbui si se pot indeparta cu usurinta, fiind foarte friabile. Trebuie urmarita indeaprope umiditatea maltului uscat pe primul gratar, in momentul cand se trece pe cel de-al doilea gratar astfel se pot obtine calitati diferentiale de malt.

In general, pentru o uscare de 24 de ore cu un uscator cu doua gratare, grosimea stratului superior trebuie sa fie de 12 cm, in timp ce grosimea stratului inferior de 8 cm. pentru o uscare de 48 de ore, grosimea stratului superior poate atinge 18 cm, in timp ce grosimea stratului inferior poate fi de 12 cm.
Debitul orar de aer la uscare se considera
de 8 300
pentru uscarea maltului verde corespunde la 100 kg orz initial cu umiditate
de 3,3 %. Incarcarea uscatorului se face pe la partea superioara, iar
descarcarea pe la partea inferioara, folosindu-se instalatii de transport
verticale si orizontale sau instalatii pneumatice de transport. Coborarea de pe
un gratar pe altu se realizeaza manual sau prin cadere libera, o data cu
deschiderea unor subere sau prin inclinarea gratarelor.
Grosimea stratului de malt pe gratare este in functie de triajul uscatorului de pe parametrii agentului de uscare. Cand uscarea se realizeaza pe un singur gratar timp de 24 de ore, este bine ca maltul verde sa nu aiba o grosime de 20 cm . Dupa uscare, volumul maltului verde se reduce cu 30 %, fapt care face ca grosimea stratului de malt sa scada la 14 cm. la o uscare de 48 de ore, debitul aerului este mai scazut si se poate admite un strat mai gros de 30 cm maximum, care in final atinge o grosime de 20 cm. In timpul uscarii pe doua gratre, aerul traverseaza doua straturi succesive. Se cauta astfel sa se realizeze aceleasi conditii de uscare, grosimea stratului de malt fiind mai mica.
Procesul de uscare decurge astfel: orzul germinat este ridicat la partea superioara a uscatorului cu ajutorul unui elevator cu cupe, de la care este preluat de un transportor elicoidal si trimis printr-un burlan la o banda aruncatoare aflata pe sina de rulare de pe un podest. Maltul este distribuit pe gratarul basculant intr-un strat uniform. Pentru uscare, aerul proaspat este incalzit intr-o baterie de incalzire si este preluat cu un ventilator cu turatie variabila si distribuit sub gratar.
Maltul uscat cu radicele este basculat si preluat de un transportor cu lant intr-un buncar pentru racire, din care este apoi transportat la masina de degerminat.
II.4. OBTINEREA MUSTULUI DE BERE
Obtinerea mustului de malt, cu sau ara adaos de nemaltificate, apa si hamei se imparte in urmatoarele faze principale :
Macinarea maltului si eventual a altor cereale ;
Plamadirea pentru obtinerea solutiei de extract ;
Filtrarea mustului primitiv ;
Fierberea mustului cu hamei ;
Racirea mustului si limpezirea mustului fiert ;
Maltul
Este principala materie prima utilizata la fabricarea berii, este o sursa de substante cu rol de substrat si o sursa de enzime hidrolitice, care prin actiunea lor asupra substratului determina la fabricarea mustului de bere formarea extractului. In industria berii, maltul este analizat din punct de vedere fizic si chimic.
Se apreciaza aspectul, marimea, uniformitatea boabelor, culoarea, puritatea, mirosul, gustul si rezistenta la spargere intre dinti. Boabele de malt trebuie sa fie cat mai mari si mai uniforme. Maltul blond trebuie sa aiba o culoare galbuie uniforma, asemanatoare cu cea a orzului, un miros caracteristic, placut, fara iz de mucegai. Prin spargerea bobului de malt intre dinti, trebuie sa se remarce la maltul blond un gust dulceag, iar la cel brun un gust aromatic.
Indicii fizic cuprind determinarea masei hectolitrice (care variaza intre 53-60 kg), sticlozitatii, a duritatii, a uniformitatii, alungimei plumulei si a comportarii la scufundare.
In cadrul analizei chimice a maltului se determina umiditatea (valoarea limita este de 5%), randamentul in extract a maltului, durata de zaharificare, culoarea si alti indici.
Maltul achizitionat de fabrica este depozitat in silozuri la 10-15oC, dezinsectizate. Inainte de utilizare, maltul trebuie curatat de impuritati prin trecere prin separator magnetic si tarar aspirator. Maltul curatat, prelucrat pe sarja este cantarit cu un cantar automat.
II.4.1. Macinarea maltului
Procesul de solubilizare enzimatica a materiei prime este precedat de macinarea acesteia. Desi macinarea este un proces pur mecanic, are o importanta deosebita, deoarece ajuta latransformarile chimice si biochimice in procesul de plamadire, influentand compozitia mustului precum si randamentul de extractie.
Bobul de malt, neavand o compozitie uniforma, prizinta dificultati la macinare, iar macinisul obtinut nu este uniform continand granule de marimi diferite. Tegumentul nu trebuie sfarmat deoarece contine o serie de substante cum sunt : polifenoli, substante amare si colorante, a caror dizolvare ar influenta negativ gustul berii.
Partea fainoasa o bobului necesita o macinare fina, deoarece contine sursa principala a extractului.
Macinisul obtinut din partea mai putin solubila a bobului, contine granule mai mari, care la macinare produc grisuri mari ; in schimb cel din partea mai bine solubilizata a bobului, conduce la obtinerea grisurilor fine si a fainei.
Macinarea trebuie condusa intr-o asemenea maniera incat sa se obtina mai putine grisuri mari si o proportie cat mai ridicata de grisuri finesi fainuri, cu mentinerea intr-o masura cat mai mare a integritatii tegumentului.
Pentru macinare se folosesc mori cu ciocane sau cu valturi.
Morile cu ciocane realizeaza o pulverizare fina a maltului, permitand utilizarea lor la procedee de filtrare continua, cu tambur rotativ sub vid.
Morile cu valturi permit fractionarea produselor de macinis prin cernere, respectiv obtinerea separata o grisurilor, a fainii si tegumentului.
Macinarea maltului se poate realiza in doua moduri :
pe cale uscata ;
pe cale umeda.
Macinarea pe cale uscata
Se poate efectua in diferite tipuri de mori de malt cu una, doua sau trei perechide valturi, cu sauf ara conditionare prealabila a maltului prin umezire.
Morile cu o pereche de valturi permit obtinerea unui macinis cu circa 30% coji, 50% grisuri si 20% faina si se preteaza numai la macinarea malturilor bine solubilizate.
Morile cu doua perechi de valturi realizeaza o maruntire mai fina a maltului, iar cojile sunt mai putin zdrobite, rezultand in final un macinis cu 25-28% coji, 54-60% grisuri si 12-16% faina.
Morile cu trei perechi de valturi reprezinta tipul cel mai perfectionat de moara de macinare uscata, care permite obtinerea gradului dorit de macinare chiar si la prelucrarea malturilor slab solubilizate.
Atunci cand se lucreaza cu cazane de filtrare se recomanda o conditionare a maltului inainte de macinare prin umezire cu abur sau cu apa intr-un snec special de conditionare.
Pentru conditionare se foloseste abur uscat de maxim 0,5 at. , durata de contact a maltului in snecul de conditionare fiind de 30-40 sec. .
Dintre conditionarea cu abur si cu apa, cea mai avantajoasa este conditionarea cu abur care permite umezirea mai rapida si mai uniforma.
Macinarea uscata a maltului se poate efectua in diferite tipuri de mori de malt cu una, doua sau trei perechi de valturi cu sau fara conditionare prealabila a maltului prin umezire.
Morile cu o pereche de valturi permit obtinerea unui macinis cu circa 30% coji, 50% grisuri si 20% faina si se preteaza numai la macinarea malturilor bine solubilizate. Din aceasta cauza ele sunt mai putin raspandite.
Morile cu doua perechi de valturi realizeaza o maruntire mai fina a maltului, iar cojile sunt mai putin zdrobite, rezultand in final un macinis cu 2528% coji, 5460% grisuri si 1216% faina. Si acest tip de moara este putin folosit.
Morile cu doua perechi de valturi poseda un mic tavalug de distribuire 1 care impreuna cu dispozitivul de reglare a alimentarii 2, asigura incarcarea uniforma a primei perechi de tavalugi de macinare grosiera 3, astfel realizata, incat sa se efectueze numai o spargere a bobului, dar nu si o rupere a cojii. Granulele mici trec prin fanta fara a fi sfaramate. Urmeaza a doua pereche de valturi care au 260 rot./min., distanta dintre ele fiind mai mica. La aceste tipuri de mori se separa srotul de la prima pereche de valturi cu sitele oscilante 5 actionate cu biela 6 si se macina separat. Macinarea fina se efectueaza numai la grisurile grosiere 8 si pentru aceasta, tavalugii de la a doua pereche de valturi au viteze diferite, respectiv de 330 si 165 rot./min. Sitele se curata continuu cu ajutorul unor bile de cauciuc.

Fig. Moara cu doua perechi de valturi:
1 - tavalug de distribuire;
2 - dispozitiv de reglare a alimentarii;
3 - tavalug de macinare grosiera;
4, 9 - tavalugi de macinare fina;
5 - sita oscilanta;
6 - biela;
7 - coji;
8 - grisuri;
10 - faina.
Morile cu trei perechi de valturi reprezinta tipul cel mai perfectionat de moara de macinare uscata, care permite obtinerea gradului dorit de macinare chiar si la prelucrarea malturilor slab solubilizate.
Maltul este trecut mai intai prin prima pereche de valturi, in care are loc o prima maruntire in coji cu grisuri aderente si faina. Faina este evacuata din moara, iar cojile cu grisuri aderente sunt trecute la cea de a doua pereche de valturi, unde are loc desprinderea grisurilor de pe coji, cojile sunt evacuate, iar grisurile rezultate de la primele doua perechi de valturi trec la cea de a treia pereche de valturi, unde se realizeaza o maruntire mai fina a acestora.
|
Moara cu trei perechi de valturi:
1 - valt de distribuire;
2 - pereche de valturi de prezdrobire;
3 - pereche de valturi pentru coji;
4 - pereche de valturi pentru grisuri;
5 - sita oscilanta superioara;
6 - sita oscilanta inferioara;
8 - grisuri;
9 - faina.
Separarea fractiunilor mentionate se face cu ajutorul a doua site duble vibratoare situate intre cele trei perechi de valturi. Intrucat evacuarea cojilor din aceasta moara se face separat, este posibila depozitarea lor intr-un buncar si adaugarea lor intr-o anumita faza a plamadirii si zaharificarea in cadrul procedeului cu separare de coji. Prin acest procedeu se obtin beri mai sarace in polifenoli, de culoare mai deschisa si cu un gust mai placut.
Morile de macinare uscata sunt amplasate deasupra instalatiei de fierbere, macinisul fiind trecut apoi in buncare speciale, cu un unghi de golire de circa 450. Capacitatea morilor trebuie astfel aleasa incat sarja de malt sa poata fi macinata in maximum 2 ore.
Macinarea umeda a maltului constituie un procedeu mai nou de macinare care, datorita avantajelor pe care le prezinta fata de macinarea uscata, si-a gasit o larga raspandire pe plan mondial, inclusiv in toate fabricile noi de bere din tara noastra.
Procedeul se bazeaza pe inmuierea cu apa a maltului inainte de macinare pana la o umiditate de circa 30%, prin care cojile devin elastice astfel ca in timpul macinarii raman intregi. Ca urmare borhotul format in cazanul de filtrare este mult mai afanat, filtrarea decurge mai rapid, astfel incat se poate mari inaltimea stratului de borhot cu circa 50% fata de procedeul clasic cu cazan de filtrare. Datorita pastrarii cojilor intregi se diminueaza si trecerea polifenolilor in must, rezultand beri de culoare mai deschisa si cu un gust mai fin.
Macinarea pe cale umeda
Procedeul se bazeaza pe inmuierea cu apa a maltului inainte de macinare pana la o umiditate de circa 30%, prin care cojile devin elastice astfel ca in timpul macinarii raman intregi.
Macinarea umeda a maltului se realizeaza inmori speciale prevazute deasupra cu buncare de inmuiere si cu o pereche de valturi rifluite la distante de 0,35-0,45 mm.
Procesul de macinare se realizeaza in patru faze:
Inmuiere cu apa cu temperatura de 30-50oC inbuncare de inmuiere timp de 20-25 min, urmata de recircularea apei timp de 10 min pana la atingerea unei umiditati a maltului de circa 30% ;
Evacuarea apei de inmuiere cu un extract de circa 0,3-1%, operatie ce dureaza circa 5 min;
Macinarea umeda propriu-zisa a maltului timp de 40 min ;
Curatirea si spalarea morii prin sprituri de apa si pomparea apei de spalare in cazanul de plamadire.
Pentru o buna macinare umeda trebuie ca maltul sa fie bine polizat deoarece maltul prost polizat adera la peretii buncarului de inmuiere si aluneca greu in moara.
Dezavantajele macinarii pe cale umeda sunt : imposibilitatea separarii cojilor si a unui conrtol exact a gradului de macinare.
II.4.2. Plamadirea si zaharificarea plamezii (brasajul)
Prin aceasta operatie se urmareste trcerea substantelor insolubile ale maltului si a cerealelor nemaltificate in forma solubila cu ajutorul apei si a enzimelor din malt, care transforma substantele macromoleculare in produse cu masa moleculara mica si medie care alcatuiesc extractul mustului de bere.
Principalul proces de solubilizare enzimatica, care are loc in decursul plamadirii, este cel al dezagregarii amidonului. In afara de aceasta au loc descompunerii ale proteinelor, a hemicelulozelor si a unor fosfati
Plamadirea si zaharificarea plamezii se realizeaza in cazane speciale de plamadire si zaharificare de forma rotunda sau paralelipipedica.
Pentru a se putea efectua diferitediagrame de plamadire-zaharificare sunt necesare doua cazane - unul de plamadire si altul de fierberea unor portiuni de plamada si eventual un al treilea cazan pentru prelucrarea cerealelor nemaltificate.
Procesul de plamadire-zaharificare incep cu operatia de amestecare a macinisului cu apa de plamadire, aceasta operatie purtand denumirea de plamadire.
Procedeele de plamadire-zaharificare urmaresc aducerea amestecului de macinis si apa de la temperatura de plamadire pana la temperatura finala de zaharificare de 75-76C, printr-un domeniul de temperatura in care sa actioneze toate enzimele din malt, astfel : 50C pentru activitatea enzimelor proteolitice, 60-65C pentru activarea -amilazei, 70-75C pentru activitatea -amilazei.
Cazanul de plamadire este un recipient metalic cu incalzire indirecta si prevazut cu un sistem de agitare . La instalatia clasica predomina sectiunea rotunda, fundul bombat sau plan, manta de incalzire izolata, capacul cu hota pentru evacuarea vaporilor. Partile in contact cu produsul sunt confectionate din cupru si mai rar din tabla de otel.
Capacitatea utila necesara este de 68 hl/100 kg macinis, ceea ce corespunde cu o cantitate de apa de 34 hl apa.
|
Fig. Cazan clasic de plamadire cu serpentine de incalzire:
1 - preplamaditor;
2 - hota;
3 - vizor;
4 - serpentina de incalzire;
5 - oala de condens;
6 - ventile de abur pentru doua randuri de serpentine;
7 - ventil de golire;
8 - ventil de evacuare directa a condensului;
9 - agitator;
10 - motor.
Agitatorul trebuie astfel dimensionat incat sa asigure o amestecare intima, o marire a turbulentei pentru cresterea coeficientului de transmisie a caldurii prin perete si sa evite o vatamare a cojilor ce vor constitui patul filtrant in cazul utilizarii de cazane de filtrare. Forma si turatia agitatorului sunt astfel alese incat sa realizeze o ridicare a plamezii pe marginea cazanului si caderea acesteia in partea centrala, asigurandu-se obtinerea unei turbulente ridicate. Se prefera agitatorul tip elice. Actionarea agitatorului are loc de jos, realizandu-se de cele mai multe ori doua viteze. In momentul incarcarii se lucreaza cu viteza mare de 3540 rot./min., iar la sfarsitul procesului, in momentul transvazarii, cu 1012 rot./min.
Incalzirea are loc prin manta cu abur, aplicata pe fund sau cu serpentine. Acestea din urma se construiesc mai usor, dar se curata mai greu. In mod uzual, serpentinele se amplaseaza pe unul sau doua randuri inelare.
Cazanele clasice de zaharificare nu difera constructiv de cele de plamadire, dar au capacitati mai mici sau egale cu acestea.
Procedee de plamadire si zaharificare
Acestea se pot clasifica in :
Procedee prin infuzie;
Procedee prin decoctie.
In cadru fiecarui procedeu existand variante de brasaj. Varianta de brasaj aleasa trebuie sa tina seama de caracteristicile berii care se fabrica, de caracteristicile instalatiei de fierbere utilizate si de calitatea maltului folosit.
Variantele de brasaj pentru ambele procedee difera prin temperatura de plamadire, temperaturile la care se fac pauzele si durata pauzelor, numarul de decocturi, momentul scoaterii plamezii pentru decoct, durata fierberi decoctului, cantitatea de plamada pentru decoct si viteza de reantoarcere a decoctului, peste restul de plamada.
Brasajul prin infuzie este cel mai simplu procedeu, necesita un singur cazan pentru prelucrarea plamezii.
Brasajul prin decoctie este caracterizat de faptul ca o parte din plamada este transvazata in cazanul de zaharificat unde este fiarta, formand decoctul si este procedeul cel mai utilizat. Poate fi : brasaj cu trei decocti, cu doi decocti sau cu o singura plamada.
In cazul procedeelor cu cereale nemaltificate se aplica procedeul cu decoctie cu doua plamezi, in care plamada de cereale nemaltificate au rolul primului decoct.
II.4.3. Filtrarea plamezii
Filtrarea are drept scop separarea fractiunii solubilizate a plamezii de partea insolubila, respectiv de borhot. Procesul are loc in doua faze : scurgerea libera a mustului si spalarea cu apa fierbinte a borhotului pentru recuperarea extractului retinut. Prima fractiune de must primar are o concentrarie constanta, 4-8% mai mult extract decat mustul obtinut prin amestecare cu apele de spalare. Pentru obtinerea unui must cu un continut in extract de 12% se foloseste un raport de 1/0,7 intre cantitatea de must primar cu un extract de 14% si apa de spalare sau de 1/1,9 in cazul cand concentratia mustului primar este de 22%.
Procesul de filtrare este influentat de calitatea maltului si a macinisului, de procedeul de plamadire, de metoda, de temperatura si durata de filtrare, precum si de modul de spalare a borhotului.
Filtrarea plamezii zaharificate se realizeaza cu ajutorul cazanului de filtrare sau cu filtre de plamada existent la instalatiile clasice.
II.4.4. Fierberea mustului de bere
Scopul principal al acestei operati este solubilizarea uleiurilor aromatice si a rasinilor amare din hamei sau produse de hamei prin fierberea impreuna cu mustul pentru a conferi gustul si aroma specifica berii. De asemenea au loc o serie de transformari importante pentru stabilitatea si insusirile senzoriale ale produsului finit, precum si coagularea substantelor proteice, concentrarea pentru a se ajunge la un anumit continut de extract si sterilizarea mustului, favorizata de compozitia acida a acestuia. Prin procesul de fierbere se inactiveaza enzimele care altfel ar actiona asupra dextrinelor in continuare.
Ca efecte secundare la fierberea mustului de bere se constata o inchidere de culoare a acesteia, formarea de substante reducatoare cu actiune protectoare fata de oxidare si crestera aciditatii mustului.
In realitate fierberea reprezinta o tehnica complicata de evaporare intensa a surplusului de apa pentru realizarea concentratiei dorite, precipitarea eficienta a proteinelor coagulabile prin formarea rupturii, solubilizarea si transformarea substantelor din hamei, in special a substantelor amare si sterilizarea mustului pentru fermentare.
Metodele de fierbere a mustului sunt : fierberea conventionala, la presiune joasa si la presiune ridicata.
Fierberea conventionala se realizeaza la presiune atmosferica, timp de doua ore, in cazane de fierbere de diferite forme constructive : cazan cu sectiune circulara sau cazan cu sectiune dreptunghiulara. Suprafata de incalzire este dispusa la partea inferioara a cazanelor, iar agitatoarele au rolul de a evita supraancalzirile locale ; cazanele de fierbere la presiune joasa pot fi : cu fierbatoare interioare sau exterioare.
Operatia de fierbere este influentata de modul de adaugare a hameiului, de cantitatea adaugata, numarul portiunilor si momentul fierberii cand se adauga aceasta. In practica se folosesc pulberii de hamei in combinatie cu extract de must. Hameiul se poate adauga in mai multe portiuni, preferandu-se adaosul in doua portiuni : 80% la inceputul fierberii sau o doza mica in separatorul de hamei pentru aroma.
Dintre metodele de fierbere care se folosesc in prezent la fabricarea berii se pot enumera:
fierberea conventionala;
fierberea la presiune joasa;
fierberea la presiune ridicata.
Fierberea conventionala. Se realizeaza la presiune atmosferica, pe o durata de 2 ore, in cazanul de fierbere de diferite forme constructive:
cazan cu sectiune circulara;
cazan cu sectiune dreptunghiulara (instalatii de fierbere Hydro - Automatic sau bloc).
Pentru fierberea mustului se folosesc cazane de fierbere construite din tabla de cupru, otel sau otel inoxidabil, avand capacitatea de 89 hl/100 kg malt prelucrat. Cuprul prezinta un coeficient de conductie cu 30% mai mare decat otelul, insa ionii de cupru au actiune negativa asupra calitatii si stabilitatii berii.
Pentru a se mari eficienta fierberii se monteaza uneori si serpentine de incalzire in interiorul cazanelor. Folosirea agitatoarelor se recomanda in special la incalzirea mustului, pentru a se evita supraincalzirile locale si inchiderea la culoare.
Pentru recuperarea caldurii vaporilor rezultati de la fierbere, se folosesc recuperatoare speciale (FADUKO), obtinandu-se cu ajutorul lor apa calda pentru sectia de fierbere.
Fierberea sub presiune. Prin cresterea temperaturii de fierbere, toate reactiile fizico-chimice in must se desfasoara mai rapid. Efectul temperaturii de peste 1000C conduce la cresterea vitezei de coagulare a proteinelor, dar si la cresterea vitezei reactiei Maillard.
Fierberea la presiune joasa se poate realiza in instalatii de diferite constructii, care au inchise in constructie suprafete suplimentare de caldura de tipul fierbatorului interior si al fierbatorului exterior.
Fierberea la presiune ridicata se realizeaza in doua tipuri de instalatii:
instalatii de fierbere la presiune ridicata cu destindere in mai multe trepte; in aceasta instalatie mustul este incalzit treptat cu vapori din prima treapta de destindere si ulterior, cu abur primar pana la temperatura de 1201220C. Mentinerea la aceasta temperatura variaza intre 4 si 10 minute, dupa calitatea mustului obtinut. In ultimul vas de detenta se creeaza un vid de 0,1 bar;
instalatii de fierbere la presiune ridicata cu destindere in doua trepte in care se realizeaza preincalzirea treptata a mustului in trei schimbatoare de caldura pana la 1400C ( temperatura corespunzatoare presiunii de 6 bar), temperatura la care mustul este tinut 5 minute. Mustul fiert trece treptat in doua vase de depresiune cu scaderea temperaturii la 1200C si apoi la 1000C. Vaporii rezultati din detenta sunt utilizati la preincalzirea mustului.
Conducerea fierberii mustului cu hamei. La fierberea mustului cu hamei prezinta importanta felul de adaugare a hameiului (hamei natural, pulberi si extracte de hamei), cantitatea adaugata, divizarea acesteia pe portiuni si momentul in care se adauga acestea.
Adaugarea hameiului natural la fierberea mustului are dezavantajul unei extractii mai lente a substantelor amare cat si a unor pierderi mai ridicate in substante amare in borhotul de hamei (in medie 10%).
La adaugarea pulberilor si extractelor de hamei trebuie sa se tina seama in primul rand de raportul de inlocuire fata de hameiul natural si in al doilea rand de procentul de economisire a substantelor amare. Astfel, de exemplu, la folosirea pulberilor de hamei procentul de economisire este de 1015%, iar in cazul extractelor de hamei 2025%.
Hameiul se poate adauga la fierbere in 1, 2, 3 sau chiar mai multe portiuni, primele servind pentru amareala, iar ultimele in special pentru aroma. Pe baza cercetarilor din ultimii ani s-a simplificat mult modul de adaugare a hameiului, preferandu-se adaosul in doua portiuni:
circa 80% la inceputul fierberii pentru amareala (hamei sau extract);
circa 20% (min. 50g/hl) cu 1030 minute inainte de sfarsitul fierberii pentru aroma, sau chiar o mica portiune de 2050 g/hl in separatorul de hamei.
Cantitatea de hamei adaugata la fierbere se stabileste avand in vedere urmatoarele:
continutul de substante amare al hameiului natural sau a produselor din hamei;
continutul in substante amare al berii finite;
pierderile in substante amare si respectiv randamentele
in substante amare de la must la
rezultatele degustarii pe baza carora sa se faca eventual corectii.
Referitor la amareala berii finite trebuie aratat in primul rand faptul ca berile blonde se hameiaza mai intens decat cele brune, la care predomina aroma specifica de malt. La berile blonde de culoare foarte deschisa ca si la cele cu tarie alcoolica mai mare se foloseste de asemenea o cantitate mai mare de hamei decat la cele cu extract primitiv mai scazut.
Ca valori orientative pentru amareala diferitelor tipuri de beri se pot da urmatoarele valori pentru cantitatile de hamei adaugate:
beri blonde de consum curent 1824 mg/l
beri blonde de tip Pilsen 2845 mg/l
beri brune 1620 mg/l
beri brune speciale 2430 mg/l
La stabilirea cantitatii de hamei mai trebuie sa se tina seama si de preferintele consumatorilor. Astfel, in cazul berilor de consum curent se prefera intotdeauna o amareala mai scazuta in comparatie cu berile speciale.
Controlul eficientei fierberii se urmareste pe baza aparitiei "rupturii" mustului cu proba "paharelului" sau mai precis a scaderii azotului coagulabil pana la limitele de 1,52 mg azot/100ml de must fiert cu hamei. In afara de aceasta se urmareste atingerea extractului primitiv dorit.
Continutul in extract determinat cu ajutorul zaharometrului in procente de masa, serveste ca baza pentru calculul randamentului fierberii. El trebuie sa corespunda tipului de bere care urmeaza sa fie produs: 12; 12,5; 13,5; 16; 17; 20%, iar abaterile de la aceste valori nu trebuie sa fie mai mare de 0,2%.
In extractul mustului intra totalitatea substantelor care au trecut din malt, apa si hamei, atat fermentescibile cat si nefermentescibile, astfel incat el nu este suficient pentru a caracteriza un must de bere.
Culoarea mustului trebuie sa corespunda tipului de bere fabricat. De culoarea mustului depinde in cea mai mare masura culoarea berii, deoarece modificarea culorii in operatiile urmatoare nu poate fi influentata decat in limite foarte restranse. Astfel, de exemplu, culoarea mustului pentru berile blonde este de 1016 unitati EBC (0,71,2 ml iod 0,1n). PH-ul mustului variaza intre 5,2 si 5,7 in functie de calitatea maltului si alcalinitatea apei folosite la plamadire-zaharificare.
Gradul final de fermentare este un indice foarte important pentru aprecierea continutului mustului in glucide fermentescibile, servind ca baza in procesul de fermentare. Musturile pentru berea blonda trebuie sa aiba un grad final de fermentare de 8083%.
II.4.5. Separarea borhotului de hamei
Dupa terminarea fierberii, mustul este pompat intr-un separator de conuri de hamei, deobicei de forma cilindrico-conica, avand ca element de filtrare o sita de aceiasi forma. Aparatul mai este prevazut si cu un agitator care sa asigure o epuizare uniforma a borhotului de hamei in extract. Mustul trece prin sita iar borhotul de hamei este retinut in aparat.
Intrucat 1kg borhot de hamei retine circa 5 litri de must, este necesar spalarea lui cu apa pentru recuperarea extractului continut.
Mustul fiert cu hamei contine in suspensie borhotul de hamei si precipitatele formate in timpul fierberii mustului, trubul la cald sau trubul grosier. Borhotul de hamei, atunci cand hameiul s-a utilizat sub forma de hamei floare se indeparteaza prin trecerea mustului prin separatorul de conuri de hamei. Daca la hameiere s-a utilizat hamei macinat sau pelleti, borhotul se separa concomitent cu separarea trubului la cald.
Trubul la cald are particule de 3080 μm si se formeaza in cantitate de 4080 g s.u./hl must sau 200400 g trub umed/hl must.
Trubul la cald se poate separa prin sedimentare, centrifugare, filtrare sau separare hidrodinamica (in Whirlpool).
Separarea hidrodinamica in Whirlpool sau Rotapool este procedeul cel mai utilizat. Whirlpoolul este un vas cilindric inchis, asezat vertical, in care mustul cu trub este alimentat tangential. Fortele care actioneaza la separarea trubului sunt forta centrifuga si fortele de frecare a lichidului de peretii si fundul vasului care orienteaza particulele de trub catre centrul fundului vasului unde se acumuleaza depozitul de trub sub forma unui con, deasupra caruia mustul ramane limpede. Whirlpoolul este construit din otel placat cu otel inox sau aluminiu. Alimentarea cu must se face tangential printr-un racord situat in treimea inferioara a inaltimii vasului, alimentare care imprima miscarea de rotatie lichidului din vas sau printr-un racord situat pe fundul vasului pentru a preveni absorbtia de oxigen in must. Evacuarea mustului se face printr-un racord situat deasupra nivelului maxim al conului de trub. Mustul ramane in Whirlpool circa 2040 minute.
Dupa evacuarea mustului care este trimis la racire, trubul este evacuat cu o cantitate de apa de 1,52% fata de volumul mustului fiert, amestecul format din trub si apa fiind trimis la filtrarea plamezii, dupa scurgerea primului must. Pierderile de must cu trubul sunt de 0,30,5% fata de cantitatea de must fiert sau de 33,5 l/100 kg malt.
Separarea centrifugala a trubului la cald se poate face atat cu separatoare centrifugale cu camere inelare cat si in separatoare centrifugale cu talere.
Separatoarele centrifugale cu camere inelare lucreaza la 4000 rot/min, spatiul de depunere a trubului fiind de 6070 l. Functionarea este discontinua, curatirea lor fiind greoaie. Trubul este eliminat cu 70% umiditate, pierderile de must fiind mici.
Separatoarele cu talere functioneaza cu descarcarea automata a trubului, la o turatie de 60007000 rot/min. Descarcarea trubului poate fi intermitenta sau continua. Separarea centrifugala a trubului este costisitoare ca investitie si consum de energie, dar este rapida.
II.4.6. Racirea si limpezirea mustului
Mustul fierbinte fiert cu hamei este supus, inainte de a fi trecut la fermentare, racirii pana la temperatura de 6-7C in cazul fermentatiei inferioare si 12-18C in cazul fermentatiei superioare ; cat si limpezirii ce se impune datorita formarii trubului la cald , care are loc la fierberea cu hamei, ca urmare a coagularii proteinelor si a polifenolilor macromoleculari din hamei, si a formarii trubului la rece ce are loc in timpul raciri mustului fiert cu hamei de la temperatura de 55-70C pana la cea de insamantare a drojdiilor.
Separarea trubului la cald trebuie sa fie cat mai completa, pentru a se evita impurificarea drojdiilor si inrautatirea proceselor de depunere ce au loc la fermentare, care au drept urmare obtinerea unor beri de culoare mai inchisa, cu gust amar neplacut de trub si spumare insuficienta.
Separarea trubului cald se face in cazane de sedimentare, in care se realizeaza racirea pana la 60-65C, in care separarea trubului se face dupa principiul de lucru al unui hidrociclon, centrifuge cu camere inelare si separatoare centrifugale cu talere.
Racirea mustului cald limpezit se face de la o temperatura apropiata de cea de fierbere (95-100C) si pana la temperatura de insamantare cu drojdie, printr-o zona de temperatura de 20-50C, favorabil pentru infectia cu diferite microorganisme.
Separarea trubului la rece se poate face prin sedimentare in linuri sau tancuri de sedimentare, prin centrifugare, prin filtrare in filtre aluvionare sau prin flotaie intr-un tanc de flotatie.
Filtrarea plamezii este operatia tehnologica care urmeaza dupa plamadire-zaharificare in scopul obtinerii mustului de bere, operatie care in tehnologia clasica de fabricare a berii se realizeaza cu ajutorul cazanului de filtrare si a filtrului de plamada.
Procesul de filtrare se realizeaza in doua faze:
scurgerea primului must;
spalarea si epuizarea borhotului in extract.
Filtrarea cu ajutorul cazanului de filtrare este cel mai raspandit procedeu de filtrare a plamezii, folosindu-se atat cazane clasice cat si cazane de filtrare rapida in cadrul fierberilor cu macinare umeda a maltului sistem Hydro-Automatic.
Cazanele clasice de filtrare sunt prevazute cu un fund perforat cu suprafata libera de circa 10% din cea totala, pe care se depune borhotul intr-un strat de 3040 cm. Fundul perforat este impartit in mai multe zone, de obicei 10, de la care se colecteaza separat mustul limpede.
|
|
|
Fig. Cazan de filtrare a mustului de bere: 1 - hota pentru eliminarea vaporilor; 2 - capac; 3 - fund; 4 - fund intermediar perforat; 5 - izolatie termica; 6 - conducta de plamada; 7 - dispozitiv de taiere cu cutite; 8 - actionarea dispozitivului de taiere; 9 - dispozitiv de ridicare a cutitelor; 10 - conducta pentru ridicarea dispozitivului de taiere; 11 - conducta de apa pentru spalarea borhotului; 12 - brat rotativ; 13 - conducte pentru evacuarea mustului; 14 - baterie de robinete; 15 - preaplin la robinete; 16 - jgheab de evacuare. |
![]() |
Cazanul de filtrare tip Hydro-Automatic este prevazut cu o sita din profile sudate cu o suprafata libera de trecere de 2030%, iar inaltimea stratului de borhot este de circa 60 cm. Acest lucru este posibil datorita macinarii umede a maltului prin care se pastreaza intregi cojile si care formeaza la filtrare un strat afanat. Unele cazane sunt prevazute si cu site laterale care maresc si mai mult suprafata de filtrare. Fundul cazanului este prevazut cu un singur racord pentru evacuarea mustului, existand si posibilitatea de sifonare a primului must limpede de deasupra stratului de borhot.
Conducerea practica a filtrarii plamezii cu ajutorul cazanului de filtrare se realizeaza astfel:
inainte de introducerea plamezii in cazan se pompeaza apa fierbinte avand temperatura cu 30C mai ridicata decat cea a plamezii zaharificate, de exemplu 780C pana ce nivelul apei ajunge la 10 mm fata de sita perforata; in acest fel se realizeaza dezaerarea spatiului de sub sita perforata;
se pompeaza plamada in cazan, se uniformizeaza grosimea stratului filtrant cu ajutorul dispozitivului de afanare si se lasa in repaus 1030 minute pentru sedimentare. Cu cat maltul este mai bine solubilizat cu atat durata de sedimentare este mai mica;
se pompeaza primele portiuni de must tulbure din nou in cazanul de filtrare si se incepe filtrarea primului must. Cand mustul a ajuns la nivelul borhotului se opreste colectarea si se face afanarea cu ajutorul dispozitivului de afanare. Se continua colectarea primului must si afanarea in acelasi fel pana cand nivelul primului must ajunge la circa 40 mm fata de sita perforata. Durata de scurgere a primului must este de 12 ore;
in scopul scurtarii duratei de obtinere a primului must se practica si sifonarea mustului limpede de deasupra dupa terminarea sedimentarii, pana ce nivelul mustului ajunge la circa 20 mm fata de stratul de borhot. Prin acest procedeu are loc si o scurtare a duratei de scurgere a apelor de spalare, intrucat stratul de borhot este mai putin solicitat;
dupa scurgerea primului must se face spalarea borhotului, deoarece particulele de borhot retin o mare cantitate de extract, atat la suprafata cat si in interiorul lor. Spalarea se realizeaza cu apa calda cu temperatura de 750C, care se adauga in 23 portiuni, uneori chiar 4. In timpul spalarii borhotului se controleaza epuizarea in extract, considerandu-se spalarea terminata cand extractul ultimelor ape de spalare nu depaseste 0,60,8%. Durata de spalare a borhotului este de 1 ½ 2 ore;
dupa scurgerea apelor de spalare se face evacuarea borhotului cu ajutorul dispozitivului de afanare. Evacuarea se efectueaza intr-un snec dozator si de aici borhotul este transportat cu aer comprimat la silozul de borhot, asezat la inaltime pe un schelet de beton sau metalic, astfel incat borhotul sa poata fi descarcat direct in autocamioane. Durata de evacuare a borhotului este de circa 15 minute.
In acest fel durata totala a filtrarii cu ajutorul cazanului de filtrare este de 4 ore, astfel incat se pot realiza maximum 6 fierberi pe zi.
Filtrarea cu ajutorul filtrului de plamada. Principiul filtrarii plamezii cu ajutorul filtrului de plamada este diferit de cel al cazanului de filtrare. In timp ce in cazanul de filtrare borhotul este dispus orizontal intr-un strat gros de 3060 cm si constituie materialul filtrant, in cazul filtrului de plamada borhotul este dispus vertical intr-un strat gros de 6080 mm in spatiul format de ramele filtrului, marginit lateral de panze prin care trece mustul, in timp ce borhotul ramane in acest spatiu.
Filtrul de plamada este de tipul unui filtru-presa cu rame si placi. Panzele filtrante sunt confectionate din bumbac sau material sintetic. Conducerea filtrarii se realizeaza astfel:
dupa montarea filtrului si strangerea lui hidraulic sau pneumatic se face o incalzire a acestuia prin pompare de apa fierbinte cu temperatura de 800C si mentinerea ei timp de 30 minute;
dupa scurgerea apei se pompeaza in filtru plamada din cazanul de plamadire care se mentine sub agitare continua, astfel incat umplerea filtrului sa fie uniforma. In acest scop este necesara si dezaerarea filtrului. Umplerea filtrului cu plamada dureaza 2535 minute si coincide cu filtrarea primului must, in momentul in care se termina pomparea plamezii s-a scurs si primul must. Dispare astfel durata de sedimentare a plamezii, realizandu-se o economie insemnata de timp de 6090 minute fata de cazanul de filtrare;
dupa terminarea pomparii plamezii se spala cazanul de plamadire cu apa fierbinte, pompandu-se si apele de spalare in filtru;
spalarea borhotului se face prin introducerea de apa fierbinte pe la partea inferioara a placilor si dureaza circa 90 minute. In timpul spalarii borhotului se controleaza extractul apelor de spalare. Ultimele ape de spalare nu trebuie sa contina un extract mai mare de 0,30,5 %;
dupa terminarea operatiei de spalare a borhotului, se desface filtrul, iar borhotul cade intr-un jgheab colector de unde este transportat in afara sectiei cu un transportor elicoidal. Aceasta operatie dureaza 20 minute. Se face apoi spalarea filtrului cu apa, operatie care dureaza 30 minute. Intreg procesul de filtrare dureaza maximum 4 ore.
Avantajele acestui procedeu de filtrare sunt urmatoarele:
independenta fata de calitatea maltului si proportia de cereale nemaltificate;
cresterea productivitatii prin realizarea unui numar mai mare de fierberi;
obtinerea unui randament al fierberii mai ridicat, in medie cu 0,5% mai scazut decat randamentul de laborator al maltului.
Cantitatea de borhot obtinuta variaza intre 115130 kg la 100 kg malt prelucrat.
Borhotul contine proteine, celuloza, lipide, substante cu un grad ridicat de asimilare, astfel incat borhotul de malt reprezinta un furaj pretios mult solicitat.
Racirea mustului este o operatie tehnologica care se efectueaza cu scopul:
reducerii temperaturii mustului pana la 5120C, temperatura la care se va realiza insamantarea mustului de bere cu drojdie pentru fermentare;
formarii trubului la rece, trub ce se formeaza din complexe proteine-polifenoli care precipita la racirea mustului.
Pentru racire se pot utiliza:
linuri de racire, in care mustul se aduce in strat de 10 cm - metoda nu mai este folosita, deoarece prin acest procedeu mustul se poate contamina;
racitoare deschise formate din tevi orizontale prin care circula agentul de racire, iar mustul este racit la suprafata tevilor - procedeu utilizat foarte rar, datorita pericolului de contaminare a mustului;
racitoare plane care prezinta acelasi dezavantaj ca precedentele;
racitoare tubulare inchise;
racitoare teava in teava;
racitoare aeratoare;
racitoare cu placi in sistem inchis, care permit o racire rapida a mustului, evitandu-se contaminarile cu microorganisme.
Racitoarele cu placi sun formate din pachete de placi din tabla de otel inoxidabil prevazute cu orificii pentru introducerea si iesirea mustului si a apei de racire. Utilajul este impartit in doua zone:
in prima zona, formata dintr-un numar mai mare de placi se realizeaza racirea mustului cu apa potabila obisnuita pana la temperatura de 20250C;
in cea de-a doua zona se raceste mustul pana la temperatura de insamantare cu drojdie de 5120C, folosind ca agent de racire apa racita la 0,510C.
|
Fig. Racitor cu placi:
1 - batiu anterior;
2 - batiu posterior mobil;
3 - tirant;
4 - placa de strangere;
5 - tija de strangere;
6 - placi;
7 - suport;
8 - placa de separare a celor doua zone;
9 - vizor.
Racitorul cu placi se confectioneaza din otel inoxidabil si are doua sectoare de racire, respectiv treapta intaia cu apa din reteaua obisnuita cu temperatura medie de 150C si treapta a doua, cu apa racita la 020C sau cu etilenglicol. Se compune din batiul fix, placa de presare, placi schimbatoare de caldura, picioare, tiranti laterali si racorduri olandeze.
Placile schimbatoare de caldura au un profil special cu nervuri sub forma de arc de cerc pentru realizarea unor regimuri de curgere favorabile transferului termic intens. Montarea lor se efectueaza in mod alternativ, o placa cu raza nervurilor in sus, una cu raza nervurilor in jos, s.a.m.d. Placile sunt prevazute cu garnituri de etansare care rezista la temperaturi de 1200C, in vederea sterilizarii lor.
Tirantii laterali au rolul de a strange placile in vederea realizarii canalelor de curgere. Ei sunt formati din cate doua tije articulate la un capat si filetate una pe dreapta, cealalta pe stanga si un manson filetat dreapta-stanga. Strangerea se executa cu alternatie pe o parte si cealalta a schimbatorului, pentru a realiza o presiune uniforma pe garnitura.
In Germania, se fabrica un racitor asemanator cu cel descris mai sus. El este in functiune la mai multe fabrici din tara noastra si se compune din urmatoarele piese: batiu fix, batiu mobil, bare orizontale, placa de presare, dispozitiv de strangere, placi pentru racire preliminara, placi pentru racire finala, placa de separare a celor doua zone si termometru la stutul de iesire a mustului. La un debit de 75 hl/h si a racirii mustului de la temperatura de 850C la 40C un astfel de racitor necesita pentru preracire o cantitate de 90100 hl apa/h de 180Csi pentru racire finala 150 hl apa cu gheata/h. In aceste conditii racitorul este prevazut cu 180 placi. Apa de racire se incalzeste in prima zona la circa 500C. Coeficientul total de transfer de caldura realizat este de 2500 kcal/m2.h.0C. Aceste racitoare sunt cele mai utilizate deoarece prezinta urmatoarele avantaje:
suprafata ocupata de utilaj este mica;
transferul de caldura este foarte bun si pierderile de presiune sunt mici;
sunt usor de curatat si pot fi conectate la sistem CIP;
durata de trecere a mustului prin racitor este foarte scurta;
nu exista pericolul contaminarii mustului cu microorganisme.
Trubul la rece este format din particule mult mai fine, cu dimensiuni de 0,51 μ si cu o masa specifica mai scazuta ca cea a trubului la cald, ceea ce face ca separarea completa a trubului la rece sa nu fie posibila in practica. Continutul mustului in trub la rece variaza intre 150300 mg s.u./l reprezentand cam 1/3 din cantitatea de trub la cald. Cantitatea de trub la rece depinde de mai multi factori tehnologici:
macinarea maltului;
procedeele de brasaj utilizate;
compozitia chimica a hameiului folosit la fierberea mustului, s.a.
Dintre procedeele utilizate de separare a trubului la rece se pot enumera:
separatoarele centrifugale - se folosesc aceleasi tipuri de separatoare centrifugale cu functionare automata, ca si la separarea trubului la cald, cu deosebirea ca in acest caz se lucreaza la o capacitate mai redusa, deoarece vascozitatea mustului racit este mult mai mare decat cea a mustului fierbinte, iar densitatea particulelor care formeaza trubul la rece este mai scazuta. Separatoarele centrifugale necesita un consum mai ridicat de energie, dar manopera este scazuta in conditiile automatizarii procesului, inclusiv a curatirii separatoarelor. Pierderile in extract sunt de circa 0,2%;
filtrul cu kieselgur - permite indepartarea trubului la rece din must in proportia cea mai ridicata de 7585%, recomandandu-se in special in cazul procedeelor de fermentare accelerata a berii. Se folosesc aceleasi tipuri de filtre cu kieselgur ca la filtrarea berii, cu deosebirea ca se lucreaza la o capacitate cu 5060% mai mare. Ca avantaje ale utilizarii filtrului cu kieselgur se pot enumera:
o marirea eficientei de separare a trubului la rece;
o scaderea azotului coagulabil cu 1015% si a polifenolilor cu 1720%, rezultand beri cu o mai buna stabilitate coloidala.
Ca dezavantaje, in cazul utilizarii filtrelor cu kieselgur, se pot enumera:
manopera mai ridicata necesara pentru deservirea filtrului;
se produc pierderi in substante amare de 1014% in berea finita si o usoara diminuare a spumarii berii.
tancul de flotatie - se bazeaza pe antrenarea particulelor care formeaza trubul la rece cu ajutorul aerului insuflat in must in cantitate mare. Bulele de aer se ridica la suprafata mustului antrenand cu ele trubul la rece sub forma unui strat de spuma, care dupa cateva ore se coloreaza in brun. Prin acest procedeu se realizeaza concomitent si o foarte buna aerare a mustului. Durata flotatiei este de 48 ore. Prin flotare se indeparteaza 6065% din trubul la rece. Ca avantaje ale procedeului:
costul investitiei mai redus;
manopera mai redusa;
nu se folosesc aditivi de filtrare. Mustul racit si limpezit trebuie aerat pentru a se asigura conditii normale la multiplicarea drojdiilor. Aerarea se efectueaza prin dispersie fina de aer steril in must, utilizandu-se 310 l aer/hl must de bere.
II.5. TEHNOLOGIA FERMENTARII MUSTULUI DE BERE
Mustul de bere racit reprezinta un semifabricat pentru urmatoarele etape din procesul tehnologic de fabricare a berii - fermentarea - si in acelasi timp substratul pentru activitatea drojdiei de bere ca agent al fermentatiei alcoolice.
Fermentatia mustului are loc in doua faze :
Fermentatie principala sau primara ;
Fermentatia secundara sau maturare.
La fermentatia primara are loc transformarea celei mai mari parti din zaharul fermentescibil in alcool si bioxid de carbon rezultand berea tanara.In timpul fermentatiei secundare se continua fermentatia extractului, iar berea se limpezeste, se satureaza in bioxid de carbon si isi finiseaza gustul si aroma.
Drojdia de bere Drojdia folosita in industria berii apartine genului Saccharomyces si anume ele sunt reprezentate de Saccharomyces uvarum, Saccharomyces carsbergensis - care este o drojdie de fermentatie inferioara.
In caracterizarea morfologica si citologica a drojdiilor trebuie sa aiba in vedere urmatoarele aspecte : aspectul morfologic, marimea celulei, raportul lungime/latime (grosime), capacitate de a forma spori, caracteristicile coloniilor gigant, viteza de reproducere, diferentele imunologice cauzate de compozitia peretilor celulari ai drojdiilor de fermentatie superioara si inferioara, diferentele intre sistemele citocronice, caracteristicile electroforetice, durata unei generatii.
II.5.1. Fermentatia primara
Fermentatia primara se desfasoara in patru etape :
Faza initiala : ce dureaza o zi, si se caracterizeaza prin multiplicarea drojdiilor, mustul din lin acoperindu-se dupa 12-16 ore de la insamantare cu un strat alb de spuma. In primele 24 de ore scaderea extractului de 0,3-0,5%, cresterea temperaturii de 0,5-1C, iar scaderea pH-ului de 0,25-0,3.
Faza de creste joasa : dureaza intre 1-2 zile, in care spuma se dezlipeste de la marginea linului si ia o forma ondulata. Datorita bioxidului de carbon care se degaja in cantitate mare se aduna in stratul de spuma suspensii care o cooreaza treptat in galben-brun.
Faza de creste inalta : incepe in ziua a patra si dureaza 2-3 zile, si se caracterizeaza prin activitatea fermentativa maxima a drojdiei. Crestele se ridica la o inaltime mare de pana la 30 cm.
Faza de scadere a crestelor : dureaza intre 2-4 zile si consta in scaderea stratului de spuma si transformarea lui intr-o pelicula de culoare brun-murdar, formata din rasini de hamei, proteine si polifenoli antrenati la stratul de spuma.
In urma fermentatiei primare rezulta un extract de 1,5% fermentescibil numita bere tanara.
In timpul fermentatiei primare se face un control permanent al aspectului mustului in fermentatie, a temperaturii si scaderii extractului.
II.5.2. Fermentatia secundara
Berea tanara se caracterizeaza printr-un gust si aroma neplacuta datorita formarii unor produse secundare de fermentatie, contine o cantitate insuficienta de bioxid de carbon si este mai mult sau mai putin tulbure, ca urmare a prezentei drojdiei si a altor particole in suspensie.
Din acest motive a este supusa unei fermentatii secundare care se desfasoara lent, denumita si maturare sau depozitare.
Principalele transformari care au loc la fermentatia secundara sunt urmatoarele :
Fermentarea principala sau chiar totala a restului de extract fermentescibil pe care il contine berea tanara ;
Saturarea berii in bioxid de carbon la temperaturi scazute si sub presiune ;
Limpezirea naturala a berii prin sedimentarea drojdiei si a altor substante care alcatuiesc tulbureala ;
Maturarea proriu-zisa, prin care se intelege finisarea si inobilarea gustului si aromei berii.
II.5.3. FERMENTATIA IN TANCURI CILINDRO-CONICE
Prin fermentatia mustului se urmareste transformarea zaharurilor fermentescibile in alcool etilic si CO2 dar, in acelasi timp, se formeaza si produsi secundari cum ar fi alcoolii din fuzel, acizi, esteri, cetone, aldehide si produsi cu sulf.
Fermentatia este un proces foarte complex si este influentata de 3 mari categorii de factori: compozitia chimica a mustului; drojdia utilizata; conditiile de procesare (fermentatia). Mustul fiert cu hamei utilizat ca mediu de fermentare este bogat in nutrienti, compozitia acestuia va influenta atat viteza de fermentatie, gradul de fermentare, cat si cantitatea de biomasa produsa si, in final, calitatea berii.
Conditia drojdiei in momentul adaugarii in must va depinde de modul de obtinere a culturii si de pastrarea acesteia pana la folosire. La o analiza mai profunda, drojdiile folosite la fermentarea mustului hameiat de bere, in functie de comportamentul lor, pot fi clasificate in 6 grupe:
grupa A: drojdii care sedimenteaza foarte devreme;
grupa B: drojdii care sedimenteaza atunci cand mustul este bine atenuat;
grupa C: drojdii care sedimenteaza intr-un anumit grad pana la sfarsitul fermentatiei;
grupa D: drojdii care parasesc mustul si ajung la suprafata acestuia;
grupa E: drojdii care formeaza la suprafata mustului in fermentare aglomerari;
grupa F: drojdii care se ridica la suprafata intr-un anumit grad.
In legatura cu geometria recipientului de fermentare, in cazul rezervoarelor cilindro-conice este importanta inaltimea acestora pentru ca aceasta influenteaza sedimentarea drojdiilor; generarea de bule de CO2 pe unitatea de suprafata; presiunea hidrostatica care, la randul ei, afecteaza evolutia CO2 si circulatia curentilor de convectie.
Fermentatia primara se desfasoara sub controlul riguros al temperaturii si incepe prin pregatirea mustului in vederea insamantarii cu drojdie, pregatire care consta in aerarea mustului racit si clarificat, aceasta aerare avand un rol esential in dezvoltarea fermentatiei primare.
Fermentatia primara propriu-zisa incepe imediat dupa adaugarea drojdiei si pe parcursul a 8-10 zile de fermentare la temperatura de 6-10oC, se constata urmatoarele faze ale mustului:
faza initiala, care dureaza 12-20h de la insamantare si se caracterizeaza prin aparitia la suprafata mustului a unei spume albe;
faza crestelor joase, care dureaza 2-3 zile, se caracterizeaza prin desprinderea spumei de marginea linului;
faza
crestelor inalte, care
incepe cu a treia zi de fermentatie si care dureaza 2-3 zile. Aceasta faza este
caracterizata printr-o fermentare intensa, spuma se coloreaza in galben-brun
pana la brun inchis, crestele atingand
faza finala, care dureaza 2-3 zile si care se caracterizeaza prin colapsarea crestelor, deoarece fermentatia nu mai este viguroasa si cantitatea de CO2 este diminuata.
La trecerea berii crude la fermentatia secundara si maturare, stratul de spuma trebuie eliminat. Urmarirea fermentatiei primare se face zilnic prin masurarea temperaturii, a extractului aparent si a pH-ului. Exista doua tipuri de fermentatii si anume: fermentatie superioara si fermentatie inferioara, care se diferentiaza intre ele prin: tipul de drojdie folosita, temperatura de fermentare si durata de fermentare.
Berea de fermentatie primara se caracterizeaza prin urmatoarele aspecte senzoriale: gust destul de pronuntat de drojdie, amareala cu gust intepator, miros crud, aspect tulbure. Aceasta bere este trecuta la fermentarea secundara/maturare, unde vine cu aproximativ 1,1-1,4% extract fermentescibil, din care 80% maltoza si 20% maltotrioza
La fermentatia secundara au loc procesele:
a) se continua fermentatia zaharurilor fermentescibile ramase in berea primara in doua faze: o faza de fermentatie secundara mai activa (aproximativ 2 zile); o faza de fermentare secundara linistita;
b) antrenarea unor compusi nedoriti de CO2 care se degaja;
c) sinteza de noi cantitati de produsi secundari (creste cu 20% nivelul de alcooli superiori si cu 30-200% cel de esteri);
d) saturatia berii in CO2 si reducerea continutului de oxigen.
Berea de fermentatie primara este o bere din care s-a recuperat biomasa de drojdie (2l crema drojdie/hl bere) si care contine asa, cum s-a aratat, 0,2% CO2. La sfarsitul fermentatiei secundare/maturare, berea trebuie sa contina 0,45-0,5% CO2.
In industria berii, vasele de fermentare poarta denumirea de linuri, daca lucreaza la presiune barometrica, si de tancuri, daca lucreaza sub presiune. Linurile de fermentare sunt recipiente deschise in care se face fermentatia primara si care sunt racite cu ajutorul unor serpentine pentru eliminarea caldurii produse prin fermentatie. Tancurile de fermentare sunt recipiente inchise sub presiune pentru fermentatia primara, pentru fermentatia secundara, respectiv pentru ambele fermentatii in cazul tancurilor cilindro-conice de capacitate mare.
Este destinat atat fermentatiei
primare, cat si fermentatiei secundare-maturare. Unitancurile sunt construite
pentru diferite capacitati, inaltimea lor fiind de 3-4 ori mai mare decat
diametrul. Unghiul de inclinatie al partii conice este de 60-75o.
capacul este elipsoidal. Pe partea exterioara a partii cilindrice este montata
o serpentina de racire impartita in trei zone, din care primele doua sunt
apropiate, iar ultima este distantata de cele doua pe verticala cu 600mm. Cele
trei zone de racire sunt prevazute cu racorduri de intrare agent de racire si
racorduri de evacuare a agentului de racire. Fundul tronconic are si el pe
suprafata exterioara o zona de racire, formata din patru canale cu sectiune
triunghiulara, prin care se introduce agentul de racire.
Schita simplificata a tancului cilindro-conic
-vizor conic cu geam; 2-iesie agent din manta; 3-conducta pentru intrare CO2 si solutii de igienizare sub presiune; 5-intrare agent de racire manta; 6-conducta pentru scaderea presiunii; 6-vas pentru spalarea CO2; 7-intrare agent de racire in mantaua partii conice; 8-robinet de evacuare; 9-robinet de evacuare drojdie prevazut cu geam de sticla; 10-robinet pentru injectie de CO2; 11-termometru; 12-iesire agent de racire din mantaua partii conice.
Tancul este prevazut cu dus de spalare sferic prin care iese si CO2 rezultat la fermentare. Clapeta si supapa sunt protejate de o camera de protectie in sezonul rece. Tancul are la partea inferioara stutul de evacuare bere si drojdie.
Tancul este izolat la exterior cu poliuretan expandat, protejat de o manta din tabla ondulata zincata si se monteaza pe un inel de beton, prinderea realizandu-se cu suruburi.
Schita mai completa a tancului cilindro-conic
1-platforma de serviciu; 2-domul tancului cu accesorii; 3-canal de cablu si conducta de indepartarea apei asezate in izolatie; 4-conectare termometru; 5-zona de racire mai redusa; 6,8-zone de racire la fermentare; 7-izolatie; 9-conectare pentru aprovizionare cu NH3 lichid cu robinete (9a) si eliminare amoniac condensat; 10-zona de racire din partea conica; 11-partea conica a fermentatorului cu gura de vizitare DN-450; 12-robinet de luat probe; 13-conducta pentru admisie/evacuare CO2, aer, solutii CIP legate la accesoriile domului si conducte care sunt asezate in izolatie; 14-dispozitiv de masurare si controlul al presiunii; 15-dispozitiv de masurare a continutului (nivelul) berii in tanc si de alarmare a starii de golire a fermentatorului cilindro-conic.
La tancurile de fermentare secundara inchise (care lucreaza sub presiune) trebuie sa se aiba in vedere ca CO2-ului produs, si care nu este solubilizat in bere, sa nu fie evacuat decat daca este in exces. Pentru acest lucru, tancul se prevede cu dispozitive speciale (valve de siguranta) care sa asigure evacuarea CO2-ului la un exces de presiune, deoarece un exces de presiune mai mare in tanc va avea efecte negative asupra geometriei tancului, mai ales in zona capacului.
Tancurile cilindro-conice sunt echipate cu: dispozitive de umplere si golire; valve de siguranta (supape); aparatura (instrumente de control); echipament CIP pentru igienizare.
Dispozitivele de umplere si golire sunt: conducte de alimentare; conducta de evacuare drojdie; conducta de evacuare bere; conducta de alimentare/evacuare solutii CIP.
Fitingaria de conectare, robinetele, coturile trebuie sa asigure o etanseitate perfecta, pentru a nu permite accesul oxigenului (respectiv a aerului care poate sa si contamineze berea cu microorganisme).
Valvele de siguranta sunt: valva (regulator) pentru evacuare exces de presiune reglata la 1,8 bar; valva pentru vacuum (regulator) pentru deschidere la 0,99 bar. Ansamblul de valve (inclusiv cele de siguranta) se monteaza la partea superioara a tancului cilindro-conic.
Aparatura de control este formata din: termometru; indicator de nivel; manometru; dispozitiv de reglare a nivelului maxim si minim care este foarte important in a mentine cat mai constant volumul (inaltimea) lichidului si, respectiv, al spatiului liber; dispozitiv de luat probe in vederea analizelor de laborator.
Echipamentul de racire al fermentatoarelor cilindro-conice trebuie sa asigure mentinerea temperaturii mustului la fermentarea primara, secundara si la maturarea si racirea acestuia in anumite etape. La racirea tancurilor cilindro-conice (TCC) se are in vedere: agentul de racire utilizat; dispunerea elementelor de racire; izolarea termica a TCC.
Agentul de racire poate fi solutia de glicol racita la -5oC, in care caz exista doua circuite si anume circuitul agentului de racire al TCC (solutia de glicol) si circuitul de racire al solutiei de glicol. Rezulta ca racirea cu glicol este o racire indirecta. In cazul utilizarii NH3 lichid ca agent de racire direct, acesta este evaporat direct in sistemul de racire al TCC. Folosirea racirii directe prezinta urmatoarele avantaje:
nu mai este necesar circuitul suplimentar pentru racirea glicolului;
se pot utiliza pompe de transport mai mici;
se poate controla temperatura de racire mai bine;
sistemul este mai flexibil.
Elementele de racire sunt dispuse in anumite zone ale TCC. In cazul racirii indirecte, elementele de racire (serpentina) sunt dispuse astfel incat sa asigure un flux orizontal. In cazul racirii directe, serpentinele de racire pot fi aranjate vertical sau orizontal.
Distributia verticala a conductelor de racire (evaporator tubular vertical) la folosirea agentului frigorific (NH3)
In concluzie, se considera ca tancul cilindro-conic prezinta urmatoarele avantaje: investitie si costuri de exploatare mai reduse; reducerea pierderilor de bere datorita drenajului foarte bun si o eliminare de asemenea buna a drojdiei; viteza mai mare si flexibilitatea operatiei de fermentare; imbunatatirea substantiala a calitatii berii; utilizarea mai buna a fermentatorului; colectarea usoara a CO2-ului; spalarea eficienta a tancului; manipulare usoara si igienica a drojdiilor; folosirea mai eficienta a substantelor amare; retentie mai buna a spumei in bere.
Limpezirea naturala a berii are loc prin depunerea componentelor care formeaza tulbureala : celula de drojdie, proteine si substante amare trecute in forma insolubila. Procesul prezinta importanta pentru rotunjirea gustativa a berii, pentru spuma cat si pentru stabilitatea ei coloidala.
Pentru accelerarea procesului de limpezire se pot folosi mijloace mecanice, care maresc suprafata de limpezire a tancului si care adsorb la suprafata lor particolele care alcatuiesc tulbureala.
Maturarea berii consta in inobilarea gustului si imbunatatirea aromei berii. Se datoreaza depunerii drojdiei si precipitatelor din bere, antrenarii unor compusi volatili cu dioxid de carbon care se degaja, sinteza unor cantitati de produsi secundari de fermentatie, transformarea unor compusi cu prag de sensibilitate mai ridicat. Berea se considera matura cand continutul in diacetil scade sub 0,1mg/l.
II.6. FILTRAREA BERII
In urma fermentatiei secundare berea nu ajunge niciodata la limpiditatea necesara in vederea comercializarii. Ea este putin tulbure datorita particolelor in suspensie.
Din aceasta cauza berea trebuie limpezita artificial prin filtrare sau centrifugare, prin care se indeparteaza atat microorganismele continute cat si particolele ce formeaza tulbureala de natura coloidala. In acest fel prin filtrare se imbunatateste atat stabilitatea biologica cat si cea coloidala a berii.
Filtrarea berii se poate realiza in filtre cu material filtrant fix, cum ar fi :
filtre cu placi si masa filtranta ;
filtre cu placi si cartoane filtrante ;
filtre cu membrana filtranta sau cu aluvionarea materialului filtrant ;
filtre cu cartoane-support ;
site metalice sau cu lumanari.
Berea livrata in consum trebuie sa isi pastreze calitatile senzoriale un timp cat mai indelungat si de aceea se aplica masuri speciale de stabilizare a berii prin diferite metode, dintre care pasteurizarea fiind cea mai folosita.
Linistirea . Berea filtratase depoziteaza in tancuride linistire. Pentru ca dioxidul de carbon acumulat in bere in timpul fermentatiei secundare sa nu se piarda, se impune ca in tancul de linistire spalat si dezinfectat sa se introduca aer purificat.
Superfiltrarea (sterilizarea la rece) Pentru marirea termenului de valabilitate al berii produse se realizeaza o superfiltrare (sterilizare la rece ) prin congelare. Berea din gheata este o inventie Canadiana , berea se ingheata si se filtreaza cristalele de gheata de bere, rezultand o bere cu continut de alcool mai mare.
II.7. IMBUTELIEREA BERII
Inainte de a trece la umplerea sticlelor sau butoaielor, cutiilor, berea filtrata este de obicei depozitata in tancuri de otel inoxidabil unde se mentin sub presiune pentru a se evita pierderile in bioxid de carbon.
Tancurile de bere filtrata se mai numesc si tancuri de linistire .
Tipuri de butelii
Berea se imbuteliaza in sticle, butoaie si PET-uri . Sticlele si butoaiele ce sunt refolosibile se spala in prealabi. Umplerea sticlelor se face dupa principiul izobarometric cu masini automate de imbuteliat. Dupa umplere inchiderea se face cu capsule metalice prevazute cu rondele din plastic pentru etansare. Etichetarea se face automat . Sticlele se aseaza in ambalaje de plastic (navete) si sunt depozitate. Livrarea se face insotita de certificat de calitate.
Cand ambalajul este facut din sticla verde sau transparenta berea poate sa dobandeasca un miros neplacut. Cea mai des folosita culoare este cea maro, pentru ca ea blocheaza cel mai bine lumina. Sticlele transparente sunt mai ieftine si mai usor de reciclat, dar daca un berar scade costurile folosind ambalaje mai ieftine, din ce alta parte mai incearca sa economiseasca.
Sticlele in care se vinde de obicei berea sunt maro sau verzi. Studiile au aratat ca sticlele maro protejeaza mai bine continutul de radiiatiile solare decit cele verzi. Preferinta consumatorilor se indreapta spre cele verzi, un avantaj al acestora fiind faptul ca putem vedea mai bine continutul sticlei( bere tulbure sau cu sediment). Daca berea este expusa la soare preferati sticlele maro. Sticlele de culoare alba protejeaza cel mai putin continutul. Produsul bun se recunoaste dupa modul de ambalare. Traditional cel mai bun capac este capsula coroana metalica cu pluta avand la interfata dintre pluta si bere o foita de aluminiu. In zilele noastre pluta este inlocuita cu plastic. Dopurile in intregime din plastic sunt inferioare capsulelor metalice.
Un alt tip mai nou de butelii folosit pentru imbutelierea berii sunt cele formate din polietilen tereftalat (PET).
Buteliile din PET pentru a putea fi utilizate la imbutelierea berii trebuie sa satisfaca urmatoarele cerinte :
sa prezinte proprietati bariera suficiente pentru a proteja berea fata de patrunderea ozigenului si pierderile in bioxid de carbon ;
sa poata fi pasteurizata ;
costurile de fabricatie sa fie concurentiale ;
sa fie reciclabila.
ANEXA 1
Clarificarea
mustului Brasaj Polisare Macinare Faina de malt Plamadire Zaharificare Plamada zaharificata Filtrare Primul must Must inainte de fierbere Fierbere Separare conuri Separare trub la cald Racire Must primitiv Insamantare Fermentare primara Fermentare secundara Sedimentare Centrifugare Filtrare Borhot Spalare Apa de spalare I, II, III Borhot epuizat Impuritati MALT APA DE BRASAJ APA DE BRASAJ BERE BRUTA BERE FINITA

Schema tehnologica de obtinere a berii
Must
fiert cu hamei Borhot de malt epuizat Apa de spalare Spalare borhot Borhot de malt Fierberea mustului cu hamei Primul
must Filtrare plamada Zaharificare plamada Plamadire Macinare Conditionare Cantarire Eliminare impuritati metalice Polisare Multiplicare in instalatia
de culture pure Culture pure de laborator Plamadire nemaltificate Macinare Cantarire Curatire Corectare apa de brasaj Drojdia
de bere Cereale
nemaltificate Malt Apa
potabila Hamei
|
Must fiert cu hamei |
|
Separare borhot de hamei |
|
Limpezire la cald |
|
Raciere must |
|
Borhot de hamei |
|
Trub la cald (grosier ) |
![]() |
|
Limpezire la rece |
|
Must primitiv |
|
Aerare cu aer steril |
|
Isamantare |
|
Fermentare primara |
|
Trub la rece (fin ) |
|
Drojdie purificata |
|
Tratare |
|
Drojdie recoltata |
|
Apa |
|
Drojdie reziduala |
|
CO2 |
|
Purificare comprimare |
Schema tehnologica de obtinere a berii tinere
Bere tanara
|
Fermentare secundara maturare |
|
Carbonatare |
|
Stabilizare |
|
Filtrare |
|
Bere matura |
|
Bere filtrata |
|
Linistire |
|
Imbuteliere aseptica |
|
Pasteurizare in vrac |
|
Imbuteliere |
|
Capsulare |
|
Etichetare |
|
Introducere sticle in navete |
|
Depozitare bere la sticle |
|
Butoaie igienizate |
|
Tragere in butoi |
|
Inchidere dutoaie |
|
Depozitare bere la butoaie |
|
CO2 |
|
Drojdie reziduala cu bere |
|
Recuperare bere |
|
CO2 purificat comprimat |
|
Stabilizatori |
|
Materiale filtrante |
Schema tehnologica de obtinere a berii
ANEXA 2
Compozitia chimica a taratei de orz
|
Fractiunea |
|
|
Apa |
|
|
Proteina |
|
|
Pentozani |
|
|
Fibra |
|
|
Lipide |
|
|
Cenusa (inclusiv silicati) |
|
|
Amidon |
|
|
Alte materiale, libere de azot |
|
Compozitia chimica a orzului
|
Fractiunea |
% fata de s.u. |
|
Amidon |
|
|
Zaharoza |
|
|
Zaharuri reducatoare |
|
|
Alte zaharuri |
|
|
Gume solubile |
|
|
Hemiceluloze |
|
|
Celoloze |
|
|
Lipide |
|
|
Proteina bruta(N -albumine + globuline(proteine solubile in solutie salina) -hordeina -glutelina -aminoacizi si peptide -acizi nucleici |
3.5(0.5% albumine si 3% globuline) |
|
Minerale |
|
|
Alte substante |
|
Granula de amidon degradata de enzimele amilazice

1-celule cu amidon din endosperm(granule mari si mici)
2-celule cu amidon din endosperm
3-degradarea partiala a peretilor celulelor
4-stratul aleuronic (celule de proteine)
Nota:fotografiile sunt realizate cu microscopul electronic la Universitatea Tehnica -Weihenstephan-Munchen
ANEXA 3
Instalatie de germinare tip Wanderhaufen
1-caseta de germinare
2-suportul patului de germinatie
3-orz germinat
4-sectiune de ½ zile
5-intorcator
6-sectiune curatata
7-palnie alimentare
8-snec evacuare malt germinat
9-ventilator
10-conducte aer conditionat
Corelatia intre parametrii de proces si caracteristicile maltului obtinut sunt prezentate in tabelul
|
Parametrii de germinare |
Temperatura de germinare oC |
Umiditatea orzului |
Durata de germinare, zile |
||||||
|
Parametrii malt |
|
|
|
|
|
|
|
|
|
|
Unitati a-amilaza,DU |
|
|
|
|
|
|
|
|
|
|
Unitati b-amilaza,WK |
|
|
|
|
|
|
|
|
|
|
Diferenta macinis fin si dur,% |
|
|
|
|
|
|
|
|
|
|
Vascozitate must,cP |
|
|
|
|
|
|
|
|
|
|
Indicele Kolbach,% |
|
|
|
|
|
|
|
|
|
|
Azot aminic,mg/100g |
|
|
|
|
|
|
|
|
|
ANEXA 4
VAS CILINDROCONIC DE INMUIERE
vas de inmuiere
conducta centrala
alimentare aer comprimat
evacuare orz inmuiat
preaplin evacuare orz plutitor
alimentare apa proaspata
evacuare apa uzata
Separator tip "Classifier" (Bhler)

suport
gura alimentare
distribuitor cereale
clapeta distributie
sita principala
sita secundara
corpul separatorului
tub de aspiratie praf
a- alimentare orz
b- iesire orz precuratat
c- evacuare aer cu impuritati
d- evacuare corpuri straine mari
e- evacuare corpuri straine mici
ANEXA 5
Filtrarea cu kieselgur
Principiul filtrarii ci kieselgur consta in formarea unui strat filtrant de kieselgur prin colmatare initiala prin care se introduce apoi bere nefiltrata, in care se dozeaza in mod continuu o suspensie de kieselgur. Ca suport pentru stratul de kieselgur se pot utiliza cartoane din material celulozic, site metalice fine, lumanari ceramice sau din material poros.
In practica sunt cunoscute urmatoarele tipuri de filtre cu kieselgur:
filtre orizontale cu placi verticale a caror suprafata de filtrare este de 75,6 m2;
filtre verticale cu placi verticale;
filtre cu lumanari filtrante.

Filtrul cu lumanari:
1 - placa; 2- tabla perforata; 3 - lumanare; 4 - recipient anexa; 5 - carucior - colector de namol; 6 - partea inferioara a filtrului; 7 - dozator; 8 - pompa.
ANEXA 6
COMPOZITIA BERII
Compozitia berii
este determinata de insusirile materiilor prime si a sucului de fructe adaugat,
de procesul tehnologic si de tipul de bere avut in vedere. Fiind vorba, in
primul rand de un proces de fermentatie alcoolica,
In urma procesului de fermentatie rezulta, in afara de alcool si produse secundare nevolatile si volatile. Printre cele nevolatile se numara in primul rand glicerina care poate apare in cantitati de pana la 1.6 g/l bere. Printre subprodusele volatile se numara alcoolii superiori prezenti in concentratie de 50-150 mg/l, acizii organici volatili, dintre care, in special cel acetic, cu 120-200 mg/l, esterii, cu concentratii de 20-70 mg/l si aldehidele care se gasesc in cantitati mai mici de pana la 10 mg/l. Tot ca produse secundare ale procesului de fermentare de metabolism ale drojdiei se pot considera vitaminele, predominand vitaminele B2, B6, nicotinamida si acidul pantotenic.
Substantele azotoase au un rol deosebit in legatura cu stabilitatea fizico-chimica, spuma si gustul berii. Se gasesc in cantitati de cca 700 mg/l bere, predominand compusii micromoleculari care se pot regasi in concentratii de pana la 440 mg/l. Dintre fractiunile macromoleculare prezente in cantitati de pana la 140 mg/l se regasesc cele cu continut de azot coagulabil, prezente in cantitati de pana la 25 mg/l.
Continutul de dioxid de carbon este determinat pentru capacitatea de spumare si alte insusiri senzoriale ale berii. La "beer-cooler" continutul in CO2 este de 5-5.5 g/l. El variaza insa pentru tipurile de bere livrate la butoi in limite de pana la 0.44%, in timp ce tipurile destinate a fi inbuteliate in sticla pot ajunge la 0.5%.
INSUSIRILE BERII
Calitatea berii poate fi apreciata prin teste organoleptice, cat si prin analize fizico-chimice. Dintre indicii fizici ce caracterizeaza tipurile de bere se numara masa specifica, vascozitatea, tensiunea superficiala, pH-ul si potentialul de oxidoreducere. Masa specifica este putin importanta, ea variind intre 1.01 si 1.02 fiind intotdeauna mai mica decat cea corespunzatoare continutului de extract datorita masei specifice reduse a alcoolului continut.
Vascozitatea berii la temperatura de 15oC variaza intre 1.5 si 2.2 cP. Ea este influentata de continutul in dextrine, substante proteice macromoleculare, cat si de substantele gumoase.
Tensiunea superficiala a berii este determinata de continutul de alcool, de proteine, glucani, glicerina si de cantitatea de substante amare din hamei, dar nu de concentratia extractului din mustul primitiv. Ea variaza in mod obisnuit intre 42 si 48 dyn/cm.
pH-ul produselor tip "beer-cooler" este cuprins intre 3.4 si 3.8. Aceasta valoare mica favorizeaza stabilitatea si gustul, in timp ce valorile mari ar indica o desfasurare necorespunzatoare a procesului de fierbere sau utilizarea de apa de compozitie necorespunzatoare. Uneori se imbunatateste pH-ul prin acidularea mustului la fierbere.
Protentialul de oxidoreducere al berii, redat prin valoarea rH, constituie un indicator indirect al continutului de oxigen. Se urmareste obtinerea de valori mici care influenteaza pozitiv stabilitatea berii. Daca in conditii normale de productie se ajunge la valori ale rH-ului de pana la 10, prin inglobarea de cantitati excesive de oxigen, valorile pot creste la peste 20.
SPUMA
Berea se deosebeste de celelalte bauturi carbogazoase si prin capacitatea de a forma o spuma cu o oarecare persistenta. Capacitatea de spumare si stabilitatea spumei constituie insusiri calitative importante. Formarea spumei are loc in special prin aglomerarea de bule de CO2 si de aer ce se degaja din masa de bere si se retin pe stratul limita al suprafetei acestora sub forma de pelicule elastice prin forte de tensiune superficiala. Cu cat tensiunea superficiala este mai redusa, cu atat bulele sunt mai mici si persistenta spumei este mai buna. Un continut ridicat de CO2 din bere da o spuma mai putin stabila, dar din cauza cantitatii mari de bule ea este in permanenta alimentata de jos si se usuca pe suprafata, formand o pojghita stabila. Consecinta este cresterea persistentei spumei. Ea poate fi favorizata prin agitarea berii, care inlesneste accesul de aer, formandu-se mai multe bule fine si stabile. Cu cat capacitatea de difuzie a unui gaz in bere este mai mica, cu atat se mareste persistenta spumei. Sub acest aspect aerul se situeaza inaintea dioxidului de carbon.
Exista componenti ai materiilor prime si produselor finite, cat si operatiuni in decursul procesului tehnologic, care influenteaza fie pozitiv fie negativ stabilitatea spumei. Stabilitatea spumei se determina fie prin producerea unei anumite cantitati de CO2, prin insuflarea de CO2 cu ajutorul unei duze introduse in bere, sau prin adausul unei substante in bere care sa fie capabila sa genereze spuma. De cele mai multe ori se recurge la determinarea timpului de persistenta, a spumei. Aceasta intampina greutati cu privire la formarea de spuma in conditii reproductibile.
Mai des se recurge la stabilirea culorii spumei, in special a nuantei de alb, pe baza reflexiei luminii. Prin adaos de saruri de fier sau de caramel, care amelioreaza persistenta spumei se inrautateste culoarea.
Berea cu o capacitate slaba de spumare prezinta, de cele mai multe ori si in alte defecte, in special de gust. Principalii factori care influenteaza stabilitatea spumei sunt:
-cu actiune favorabila: continuturi de proteine ale malturilor de peste 12%, cu proportie ridicata de compusi de azot cu masa moleculara cuprinsa intre 10000 si 70000. In procesul de fabricatie a maltului ca factori pozitivi se pot cita: inmuierea la umiditati reduse ale orzului de cca 40% reinmuierea orzului si temperaturi ridicate de uscarea maltului de pana la 100C. Prin reinmuiere sau germinare la temperaturi descrescande, se favorizeaza solubilitatea proteinelor si creste vascozitatea berii. Cu privire la procesul de plamadire se prefera procedee de lunga durata la temperaturi ridicate. Continuturile ridicate de substante polifenolice si amare din hamei favorizeaza formarea de pelicule elastice sub forma de coloizi complecsi cu produse de scindare ale proteinelor macromoleculare.
Utilizarea de drojdie cu capacitate ridicata de fermentare, dar lucrul la temperaturi cat mai scazute, atat la fermentarea primara, cat si la maturare, precum si adaosul de creste in decursul procesului amelioreaza, de asemenea, insusirile de spumare:
-cu actiune nefavorabila: masuri ce stimuleaza solubilitatea proteinelor, prezenta de cantitati mari de proteine micromoleculare, temperaturi scazute de plamadire de cca 35C cu repaosuri proteice indelungate, fierberea de lunga durata insotita de precipitari marite de azot coagulabil, eliminarea insuficienta a trubului la cald, fermentarea la cald fara presiune, utilizarea de drojdii cu capacitate slaba de fermentare, introducerea de bentonite pentru marirea stabilitatii berii, folosirea de enzime proteolitice, filtrarea prin straturi fara o aluvionare precedenta satisfacatoare. De asemenea stabilitatea spumei scade in prezenta de acizi grasi cu lantul scurt, cu predominarea compusilor de C6 pana la C12, de mono si digliceride, precum si de aminoacizi.
Influente slabe sau neconcludente asupra insusirilor de spumare a berii se constata la compozitia si duritatea apei, la soiul de orz si conditiile pedo-climatice de cultura, cu exceptia continutului de proteine, la adausul de siropuri, cu privire la durata de fierbere, in legatura cu eliminarea trubului rece, adaosul de borhot de hamei si de trub la plamadire.
CULOAREA BERII
La multe tipuri de bere se pretinde o anumita culoare. La o bere blonda uzuala obtinuta dintr-un must cu 12% extract se inregistreaza valori ale culorii exprimate in unitati EBC de 4,2 la plamadire, 5,8 la filtrare, 7,5 la inceperea fierberii, 12 la terminarea fierberii si 9,2 la berea finita. Cresterea cea mai accentuata a culorii apare in decursul procesului de fierbere. Contribuie in special reactii de imbrunare neenzimatirca de tip melanoidinic, oxidarea de polifenoli si de reductone provenite din malt si din hamei. Culoarea produselor tip "beer-cooler" este influentata si de adaosul de fructe folosit, culoarea fructelor imprimand de cele mai multe ori si culoarea produsului finit.
Maltul ca materie prima de baza exercita o influenta hotaratoare asupra culorii prin continutul de proteine, solubilizarea si temperatura de uscare. Prin utilizarea de acid giberelic la maltificare se obtine o bere cu o culoare mai inchisa. Se prefera utilizarea de malturi cu culori 'de fierbere' deschise. Asemanator cu continutul de azot solubil se comporta si cel de polifenoli ai maltulul.
Substantele tanante din hamei exercita un efect de colorare. Se obtine o bere de culoare deschisa dintr-un extract sarac in substante tanante. In cazul folosirii de hamei depozitat in conditii necorespunzatoare sau foarte vechi, se obtine, de asemenea o bere de culoare inchisa.
Apa de brasaj cu o alcalinitate reziduala ridicata confera o culoare inchisa, spre deosebire de alcalinitatea reziduala redusa sau negativa, care imprima o culoare deschisa. Prin acidularea biologica la plamadire sau utilizarea de malturi acide se poate deschide culoarea berii.
Prin marirea gradului de maruntire a srotului la macinarea maltului, in special a tegumentului se inrautateste culoarea. La folosirea macinarii umede nu apare acest fenomen, predominand durata de contact cu coji in decursul procesului de plamadire. Printr-o separare pretimpurie a borhotului se favorizeaza deschiderea culorii berii.
Inglobarea de aer in decursul procesului de filtrare este nefavorabila asupra culorii mustului: Acelasi lucru se intampla la prelungirea duratei de fierbere. Compozitia mustului sub aspectul pH-ului, al continuutului de azot solubil si al polifenolilor este importanta, la fel ca si procesul de racire a mustulul. Prin prelungirea duratei de racire la peste 100 minute se mareste contactul cu aerul si se inchide culoarea mustulul. Aceeasi situatie se regaseste la antrenarea de trub la cald, care inhiba scaderea pH-ului si decolorarea in decursul procesului de fermentare.
Tipul de drojdie, desi exercita o influenta asupra culorii berii la fermentatia primara, este mai putin importanta, deoarece in decursul maturarii culoarea se echilibreaza intr-o anumita masura.
Pentru deschiderea culorii berii se recomanda folosirea de plamezi mai diluate care favorizeaza reactiile enzimatice si fierberea in conditii mai blande. Procesele pot fi ajutate prin adaos de formaldehida, care micsoreaza continutul de polifenoli. Aceasta se efectueaza de preferinta la plamadire, administrand 15-50 g formaldehida/ 100 kg malt. Rezultate asemanatoare se obtin si in cazul administrarii formaldehidei in alte faze ale procesului tehnologic, de exemplu la germinare. Efecte similare se obtin cu unii agenti de marire a stabilitatii berii, in special cu bentonita, care prezinta inconvenientul inrautatirii capacitatii de spumare, precum si cu polivinilpolipirolidona si cu poliamidele folosite in mod curent pentru acest scop. Aceste tratamente nu sunt permise de legislatia sanitara din multe tari producatoare de bere.
GUSTUL SI AROMA BERII
Acestea sunt determinate de compozitia si concentratia mustului primitiv, de tipul de malt folosit, de doza si natura preparatelor de hamei, de tipul de drojdie, precum si de adaosul de suc de fructe utilizat. Gustul si aroma produselor "beer-cooler" sunt date de gustul si aroma sucurilor de fructe inglobate. Intensitatea perceperii gustului depinde de temperatura si de continutul de bioxid de carbon al berii, la care se adauga criterii subiective specifice sensibilitatii degustatorulul.
Independent de tipul de bere, o conditie primordiala a gustului reprezinta puritatea si constanta acestuia. Se pune un accent deosebit pe evitarea prezentei de gusturi straine, in special cele de trub, de drojdie sau cele ce apar in urma utilizarii de materii prime necorespunzatoare sau a aplicarii unor tehnologii neadecvate.
Impresia generala de gust depinde de plinatatea acestuia, de perlarea si de ultima senzatte, care toate trebuie sa fie intr-o anumita armonie pentru fiecare tip de bere.
Plinatatea, prima senzatie, se percepe impreuna cu aroma berii. Ea este dependenta de concentratia mustului primitiv, de degradarea proteinelor la maltificare, de compozitia extractului, in special de raportul dintre dextrine si ceilalti componenti, de mersul de fermentare, dar mai mult de marimea particulelor coloidale. Un rol important exercita substantele azotoase cu masa moleculara mijlocie si fosfatii din malt cu actiune tampon. Exista o oarecare corelatie intre plinatatea gustului si capacitatea de spumare.
Perlarea este o impresie senzoriala, perceputa in special prin degajarea bulelor de dioxid de carbon. Ea depinde de compozitia apei; de pH-ul berii si de prezenta substantelor cu actiune tampon, in special de fosfati. Componentii trebuie sa fie intr-un echilibru favorabil cu continutul de dioxid de carbon prin legaturi coloidale de anumita forma. O maturare intensa la temperaturi scazute favorizeaza, de asemenea, perlarea. Incalzirea berii inainte de consum, chiar si in cazul unei raciri ulterioare si impregnarea artificiala cu dioxid de carbon micsoreaza aceasta senzatie. Ultima impresie sau gustul final al berii este determinata in special de amareala, conferita de produsele de hamei. In functie de prezenta anumitor substante proteice, tanante sau de metabolism a drojdiei, amareala poate fi partial mascata sau deformata asa cum este cazul produselor "beer-cooler" la care aceasta este mascata de gustul si aroma sucului de fructe.
Amareala, taria si culoarea sunt specifice tipului de bere. In cazul sorturilor de bere blonda, amareala de hamei iese in evidenta ca ultima senzatie, in special la berea de tipul Pilsen. Adaosul de hamei creste de regula odata cu continutul de extract al mustului primitiv. Amareala va creste deci de la berea blonda obitinuta de 12 Bllg la sortimentele de bere blonda speciale.
DEFECTE DE GUST
Deseori gustul natural al berii este inrautatit ca urmare a unor deficiente atribuite materiilor prime, procesului tehnologic, contactului mustului sau al berii cu substante agresive, cat si unor cauze biologice. Prin utilizarea de apa alcalina cu o alcalinitate remanenta ridicata apare un gust amar, neplacut. Orzul cu spicele prea mari imprima berii un gust de paie. Un hamei invechit, oxidat, provoaca aparitia de gust neplacut, uneori de fructuozitate straina berii. Maltul suprauscat, in special cel brun, genereaza formarea de gust de ceapa.
O sursa frecventa de inrautatire a gustului berii o reprezinta procesul de imbuteliere si de pastrare a produsului. Predomina aparitia de gust de oxidare la berea imbuteliata in sticle. Datorita contactului cu cantitati marite de aer, creste amareala neplacuta a berii. Berea expusa actiunii radiatiilor solare primeste un gust de lumina. Acesta se manifesta prin producerea de mercaptani, scaderea potentialului de oxidoreducere, aparitia unor procese de reducere fotochimica a substantelor azotoase, cu grupe sulfhidrilice. Fenomenul este favorizat de folosirea de butelii verzi care nu absorb radiatiile daunatoare, spre deosebire de cele brune. In prezenta cuprului se reduce gustul de lumina. Uneori se semnaleaza aparitia de gust de agent de reducere in butelii de sticla. Aceasta se percepe in special la berea stabilizata cu acid ascorbic. El este mai puternic decat cel de oxidare si poate fi micsorat in prezenta de cupru sau fier. Prin contactul cu materiale agresive pentru bere pot apare gusturi straine generate in special de smoala folosita pentru izolarea recipientelor de fermentare sau a butoaielorMai frecvente sunt aparitiile de gust de clor, ca urmare a folosirii produselor pe baza de clor pentru dezinfectia apei si a utilajelor tehnologice si a eliminarii insuficiente a acestuia. Pragul de percepere a gustului de clorfenol este destul de redus. Nu rareori berea prezinta o nuanta de gust de metal cu o usoara culorare, ca urmare a reactiilor dintre substantele tanante si fierul din utilaje. Gustul strain, asemanator cu cel al cernelii, se percepe foarte usor, desi, pe aceasta cale, se mareste putin capacitatea de spumare a berii. Cea mai frecventa aparitie de gust strain datorita unor procese de natura biologica este cel perceput in urma autolizei drojdiei. In cazul eliminarii insuficiente sau prea tarzii a drojdiei, dupa fermentarea primara si maturare, apare un proces de autoliza ce confera berii un gust de creozot sau de tirosol, cu o nuanta tipica de fenol.
|
Politica de confidentialitate | Termeni si conditii de utilizare |
Vizualizari: 18347
Importanta: ![]()
Termeni si conditii de utilizare | Contact
© SCRIGROUP 2025 . All rights reserved