| CATEGORII DOCUMENTE |
| Statistica |
Comportamentul ratei dobanzii sub influenta factorilor determinanti pe piata de capital
Explicarea fluctuatiilor in nivelul ratei nominale a dobanzii poate fi realizata prin studierea pretului obligatiunilor (pentru a evidentia raportul dintre cererea si oferta de fonduri pe termen lung) precum si prin studierea preferintei pentru lichiditate (care reflecta raportul dintre cererea si oferta de fonduri pe piata monetara).
Cererea si oferta de fonduri pe piata de capital
Cererea si oferta de titluri pe termen lung, de tipul obligatiunilor poate fi reprezentata potrivit figurii:
Graficul nr. 2 Cererea si oferta de fonduri pe piata de capital

Daca se reia exemplul unei obligatiuni cu discont care are valoarea nominala de 5.000 u.m. si pretul curent de 4.800 u.m. rezulta o rata a dobanzii (ca produs la maturitate) de 4,16%.
Daca valoarea obligatiunii pe piata scade (la 4.500 de exemplu), volumul ratei dobanzii inregistreaza o diminuare, pana la 11,11%.
Daca rata dobanzii estimata de investitori pentru obligatiuni inregistreaza un nivel inalt, in timp ce alte variabile din economie (venit, rata rentabilitatii, risc, lichiditate) raman constante, atunci cantitatea de titluri trebuie sa sporeasca, in conformitate cu teoria cererii. Figura prezentata arata ca, in punctul B cantitatea de titluri cerute, sporeste de la 100 la 200, ca urmare a rentabilitatii sporite pe care o confera detinatorilor acest tip de active. Daca pretul obligatiunilor, se modifica, in sensul diminuarii pana la 3.800 u.m. (cu o rentabilitate de 31,57%) cantitatea ceruta va avea cel mai ridicat nivel, in punctele D si E. Dreapta care uneste toate punctele care reflecta cererea de titluri, este denumita curba cererii pentru obligatiuni (dreapta AE).
In mod similar se construieste curba ofertei, care evidentiaza relatia dintre cantitatea oferita si pretul titlurilor, atunci cand celelalte variabile raman constante. Daca pretul unei obligatiuni este 3.800 u.m., rata rentabilitatii este 31,57%. Cresterea pretului la 4.000 u.m., conduce la scaderea ratei dobanzii la 25%. Datorita acestei modificari a ratei dobanzii, firmele vor emite titluri, preferand sa se imprumute prin emisiunea de obligatiuni, comparativ cu alte forme de obtinere a resurselor. Astfel, cantitatea de titluri aferente sporeste de la 100 (pct. F) la 200 (pct. G). Cea mai mare cantitate de titluri oferite se constata in punctele H si I, ca urmare a celei mai scazute rate ale dobanzii. Dreapta care uneste toate punctele ce exprima de titluri si numeste curba ofertei (dreapta F.I.).
In conditii de echilibru, cantitatea de titluri cerute este egala cu cantitatea oferita, ceea ce permite scrierea egalitatii dintre cerere si oferta, astfel: Dc = Do
In figura prezentata, echilibrul se manifesta in punctul C in care curba cererii intersecteaza curba ofertei la pretul de 4.200 si pentru o cantitate de 300.
Acest pret P* = 4.200 la care cantitatea ceruta egaleaza cantitatea oferita, este denumit pret de echilibru al pietei.
In mod similar, rata dobanzii (rd=19%) corespunzatoare acestui pret este denumita rata de echilibru a dobanzii.
Conceptele pret de echilibru si nivel de echilibru al ratei dobanzii prezinta deosebita utilitate, intrucat in functie de nivelul acestora se realizeaza anticipari ale evolutiei pietei.
Daca pretul obligatiunilor ajunge la 4.800 u.m., atunci cantitatea de titluri oferite in punctul I este mai mare decat cantitatea ceruta in punctul A. O asemenea situatie, in care cantitatea oferita este mai mare decat cea ceruta este denumita exces de oferta. Daca pretul titlurilor scade la 4.000 u.m. de exemplu, atunci cantitatea ceruta in punctul D este mai mare decat cantitatea oferita in punctul G. O astfel de situatie este cunoscuta sub denumirea de cerere - exces.
Intrucat reprezentarea grafica a diagramei cererii si ofertei se realizeaza prin utilizarea axei verticale pentru pret, si a axei orizontale pentru cantitate, rezulta ca este posibil a se analiza factorii de influenta asupra ratei dobanzii. Uneori este dezavantajoasa situarea ratei dobanzii pe aceeasi axa verticala pe care este reprezentat si pretul obligatiunilor. Solutia la aceasta problema s-a gasit prin redarea pe axa verticala numai a ratei dobanzii. Astfel, pentru orice tip de obligatiune, este posibil a se construi diagrama cererii si ofertei de fonduri imprumutabile.
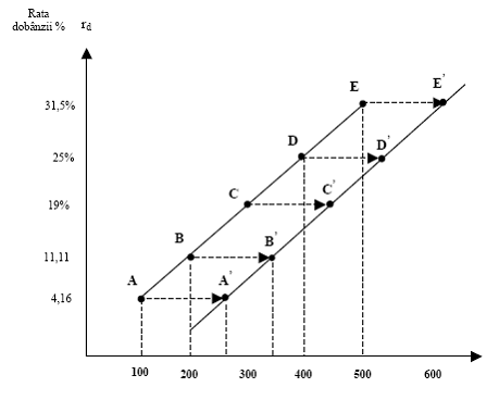
Graficul nr.3 Modificari in echilibrul ratei dobanzii

Daca in conditiile de echilibru intervin modificari, respectiv se produc variatii ale ratei dobanzii, curbele cererii si ofertei se deplaseaza ca raspuns la modificarile produse.
A. Factorii care determina modificarea nivelului cererii pentru obligatiuni sunt urmatorii:
a) Averea detinuta de catre investitori conduce la majorarea cererii de titluri.
Dupa cum se observa pe diagrama cererii in conditiile unei rate a dobanzii de 11,11% cererea de titluri este situata la 200 (in punctul B). Daca averea investitorului sporeste, atunci cantitatea ceruta, pentru acelasi nivel al ratei dobanzii, creste la 400. La randul sau, cresterea averii genereaza cresterea cantitatii cerute pentru un nivel superior al dobanzii de 25%. Acest rationament poate continua pentru fiecare punct initial al curbei cererii. Astfel, curba cererii se deplaseaza spre dreapta, iar concluzia este urmatoarea: in conditii de crestere economica si de majorare a averii, cererea de titluri creste, iar curba cererii se deplaseaza spre dreapta. In perioadele de recesiune, atunci cand venitul si averea sunt in declin, cererea pentru titluri scade, iar curba cererii se deplaseaza spre stanga.
Grafic nr.4 Modificari ale dreptei cererii in raport cu venitul investitorilor

Ceilalti factori au urmatoarea influenta asupra cererii de titluri.
Cresterea lichiditatii activelor alternative (de exemplu, actiunile) diminueaza cererea de titluri si deplaseaza curba cererii spre stanga. Reducerea comisioanelor la intermedierea actiunilor (1975, in SUA), sporeste lichiditatea actiunilor comparativ cu a obligatiunilor.
B. Modificarea ofertei de titluri pe termen lung, poate fi explicata prin analizarea urmatorilor factori:
a) Profitabilitatea investitiei. In perioadele de crestere economica rapida, in faza de
expansiune, oferta de titluri creste, iar curba ofertei se deplaseaza spre dreapta. In schimb, in perioadele de recesiune, investitiile nu sunt profitabile, ceea ce conduce la scaderea ofertei.
Grafic nr.5 Modificari ale dreptei ofertei in raport cu profitabilitatea investitiei

b) Inflatia estimata
Cea mai corecta masura a costului imprumuturilor este data de rata reala a dobanzii, egala cu rata nominala a dobanzii diminuate cu rata estimata a inflatiei.
Pentru o rata a dobanzii date, atunci cand inflatia sporeste, costul real al imprumuturilor scade, iar cantitatea de titluri oferite sporeste. Astfel, cresterea ratei estimate a inflatiei determina cresterea ofertei de titluri si deplasarea curbei spre dreapta.
c) Activitatile guvernului pot influenta oferta de titluri in mod substantial. Astfel, in perioada deficitelor bugetare, guvernele pot emite titluri: cand deficitele inregistreaza un nivel sporit, cantitatea de titluri emise este mai mare, deci oferta sporeste. Astfel cresterea deficitelor bugetare majoreaza oferta de titluri si deplaseaza curba spre dreapta.
|
Politica de confidentialitate | Termeni si conditii de utilizare |
Vizualizari: 2065
Importanta: ![]()
Termeni si conditii de utilizare | Contact
© SCRIGROUP 2025 . All rights reserved