Scrigroup - Documente si articole

     

HomeDocumenteUploadResurseAlte limbi doc
Gradinita

Metodologia instruirii

didactica pedagogie



+ Font mai mare | - Font mai mic



Metodologia instruirii

1. Precizari conceptuale



Conceptul de metoda

Din punct de vedere etimologic, termenul de "metoda" deriva din grecescul "methodos", meta = spre si odos = cale, drum, ceea ce semnifica drumul, calea care se urmeaza, drumul ce conduce la atingerea obiectivelor educationale, deci este calea pe care profesorul o parcurge pentru a da posibilitatea elevilor sai sa gaseasca propria cale in invatare.

Selectarea si adecvarea unei metode de catre un profesor este determinata de:

-factori obiectivi, dependenti de natura finalitatii, de logica interna a stiintei, de legitatile fenomenului invatarii;

-factorii subiectivi, determinati de contextul uman si social al aplicarii ei, de personalitatea profesorului, de psihologia elevului, de psihologia colectivului clasei etc.

Conceptul de procedeu didactic

Procedeele didactice sunt componente ale metodei, ce tin de executia actiunii, sunt tehnici mai limitate care sunt instrumente ale metodei.

O metoda este un ansamblu corelat de procedee considerate optime pentru o situatie data de invatare.

I. Cerghit a realizat o clasificare a procedeelor didactice bazata pe analiza functiilor pedagogice in raport de care se defineste identitatea unui procedeu sau a altuia:

procedee de organizare, prin care se impune disciplina si se focalizeaza atentiei;

procedee de reactivare / reactualizare;

procedee de comunicare sau de sprijin al comunicarii;

procedee de descoperire sau euristice;

procedee de esentializare a continutului;

procedee de exersare (formarea priceperilor si a deprinderilor);

procedee de dirijare si sprijinire a invatarii;

procedee de demonstratie;

procedee de stimulare a invatamantului;

procedee de evaluare si autoevaluare;

procedee de control si autocontrol;

procedee de diagnosticare si prognosticare a capacitatii si aptitudinilor elevilor;

procedee de intrebuintare a materialelor didactice.

Conceptul de tehnologie didactica

Conceptul mentionat are doua acceptiuni:

a).ansamblul mijloacelor audio - vizuale folosite in practica educativa (o parte din medie: aparatele de protectie, filmele, radioul, calculatorul);

b).ansamblul de forme, metode, mijloace, tehnici si relatii cu ajutorul carora se vehiculeaza continuturi in vederea atingerii obiectivelor.

Deci, prin tehnologie didactica se desemneaza:

- sistemul de metode, de predare-invatare;

- tipurile de relatii dintre profesor-elevi (in raport cu observatiile stabilite. Astfel, tehnologia didactica) realizeaza apropierea dintre: metode, continut, forme de organizare.

Tehnologia educationala cunoaste doua moduri de definire:

- in sens familiar, desemneaza media (generata de revolutia mijloacelor de comunicare): radioul, filmele, retroproiectoarele, instruire programata, computere etc.

- in sens nou, desemneaza un mod sistematic de proiectare, realizare si evaluare a intregului domeniu de predare-invatare, insemnarea unor obiective specifice, bazate pe cercetare. Astfel, se ajunge la combinarea dintre media umana si non-uman pentru o instruire eficienta.

Conceptul de metodologie didactica

Metodologia didactica desemneaza teoria si ansamblul metodelor si procedeelor utilizate in invatare.

Sensul strict al metodologiei didactice este cel in care se precizeaza natura, functiile si clasificarile posibile ale diferitelor metode de invatamant.

Daca metodologia didactica constituie o sistematizare a cunostintelor stiintifice despre actiunea instructiv-educativa, atunci poate deveni parte componenta a tehnologiei educationale.

Conceptul de strategie didactica

Strategia didactica vizeaza ansamblul metodelor, mijloacelor modurilor de organizare a predarii-invatarii, utilizate pentru obiectivele urmarite.

O strategie didactica este eficienta cand antreneaza elevii, cand se adapteaza la particularitatile psihologice ale invatarii, cand duce la o invatare creativa.(L. Cadariu, 2000 p.76-78).

Functiile strategiei didactice sunt:

- sugerarea modului de abordare a situatiei de instruire prin orientarea spre un tip sau altul de invatare (prin descoperire, repetare a actiunii);

- furnizarea criteriilor de alegere, organizare optima a elementelor sistemului de tehnologie didactica, in functie de obiectivele urmarite, continutul predat;

- elaborarea unei ipoteze de lucru si alegerea unui mod de organizare a invatarii, alegerea mijloacelor, metodelor, organizarea resurselor;

- programarea activitatilor si a operatiilor necesare pentru a realiza obiectivele activitatii instructiv-educative.

Clasificarea strategiilor didactice se face in raport de mai multe criterii, dintre care mentionam clasificarea dupa gradul de dirijare / nondirijare a invatarii:

strategii algoritmice - descriu cum trebuie desfasurat procesul de invatare;

strategii nealgoritmice - nu prescriu activitati de desfasurat, reduc dirijarea in invatamant;

strategii euristice - asemenea celor stiintifice, accentueaza initiativa elevului;

strategii mixte - imbina elemente anterioare.

strategii inductive - invatamantul urmeaza calea de la particular la general;

strategii deductive - invatamantul porneste de la general la particular;

strategii analogice - cunoasterea prin metode de substitutie;

strategii transductive - folosesc metafore;

strategii mixte, inductiv-deductive, deductiv-inductive cu particularitati specifice fiecaruia.

2. Functiile metodelor

Metodele indeplinesc (I. Jinga, E. Istrate, 1998, p. 26).

a)    functii cu caracter general, comun;

b)    functii specifice.

a. Functiile cu caracter general

1. Functia cognitiva de organizare si dirijare a cunoasterii (invatarii), de elaborare de noi cunostinte.

2. Functia operationala, de intermediar intre elev si materia de studiat, dintre obiectivele de indeplinit si rezultate.

3. Functia normativa, care arata cum sa se procedeze, cum sa se predea, cum sa se invete pentru a se obtine cele mai bune rezultate. Metoda permite cadrului didactic sa stapaneasca actiunea instructiva, sa o dirijeze, sa o corecteze si sa o regleze continuu.

4. Functia motivationala, prin care se stimuleaza curiozitate, se trezeste interesul si dorinta de a cunoaste si a actiona, de a organiza fortele intelectuale ale elevilor.

5. Functia formativ-educativa, de dezvoltare a proceselor psihice si motorii, concomitent cu insusirea cunoasterea si formarea deprinderilor de influentare si modelare a atitudinilor, opiniilor, convingerilor, sentimentelor si calitatilor morale.

b. Functiile specifice

Prin functiile specifice, fiecare metoda se impune fata de alte metode, ii confera o anumita identitate. In deosebi prin functia specifica se formeaza noi structuri operatorii, noi priceperi si deprinderi, prin intermediul repetitiei unor actiuni sau a unor operatii.

3. Clasificarea metodelor de invatamant

Domeniul taxonomiilor (clasificarilor) metodelor didactice este traversat de numeroase puncte de vedere, in raport cu criteriul de clasificare de la care s-a pornit, astfel incat consensul este.greu de obtinut.

Apeland la sursa cea mai autorizata in domeniul metodelor de invatamant (Cerghit, 1997 p. 87 - 93), prezentam in continuare principalele criterii utilizate:

Criteriul istoric

Acela al raportarii metodelor la exigentele timpului in care se desfasoara procesul didactic. Rezulta:

metode mai vechi, clasice, traditionale (expunerea, conversatia, exercitiul);

metode noi, moderne (instruire programata, I.A.C.).

Criteriul gradului de generalitate sau de aplicabilitate a metodei:

metode generale, care se pot aplica la cele mai multe discipline de invatamant, pe toate treptele de scolaritate (expunerea, conversatia, lucrarile practice);

metode particulare (speciale), proprii unei discipline de invatamant sau unei trepte de scolaritate (lucrari de laborator, lectura dupa imagini, brainstorming).

Criteriul organizarii muncii:

metode de activitate individuala

- libere (lucrul cu manualul)

- sub indrumarea profesorului (observatia dirijata, exercitiul)

- programate (exercitiul)

metode de activitate in doi (in perechi)

- profesor - elev

- elev - elev (conversatia)

- profesor - profesor (ex.: expunerea cu oponent)

metode de activitate in echipa (echipele reprezentand microgrupuri):

grupuri care efectueaza aceeasi activitate;

grupuri care efectueaza activitati diferite.

metode de activitate cu clasa (colectiva)

- unilaterala: profesor - elev (prelegerea, explicatia)

- bilaterala: profesor - elev (conversatia)

- multipla (dezbatere)

metode de activitate in grupuri mari (mai mari decat clasa de elevi)

- conferinta

-dezbateri.

Criteriul functiei fundamentale:

metode de predare/ invatare

- de transmitere/asimilare a cunostintelor

- de formare de priceperi/ deprinderi

- de consolidare

- de aplicare

- metode de evaluare

5) Criteriul suportului purtator de informatii (Piaget, Okon):

verbale

- expozitive (ex: expunerea)

- interogative (ex: conversatia);

intuitive (ex.: observatia);

- bazate pe actiuni (ex.: exercitiul, demonstratia).

Criteriul tipului de invatare:

metode ale invatarii prin receptare (expunere)

metode ale invatarii prin descoperire (problematizarea)

metode ale invatarii prin actiune (exercitiul)

metode ale invatarii prin creatie (brainstorming, 6-3-5)

Criteriul subiectului pe care este centrata metoda:

metode centrate pe activitatea profesorului (prelegerea, explicatia, demonstratia);

metode centrate pe activitatea elevului (exercitiul, lucrul cu manualul, fisele de munca independenta, observatia);

Criteriul tipului de relatie profesor- elev (M. Debesse):

metode obiective, autoritare (conversatia catehetica, observatia dirijata, algo-ritmizarea)

metode liberale, permisive (conversatia euristica, problematizarea)

Criteriul gradului de activizare a elevilor:

metode pasive (expunerea, demonstratia)

metode active (exercitiul, conversatia)

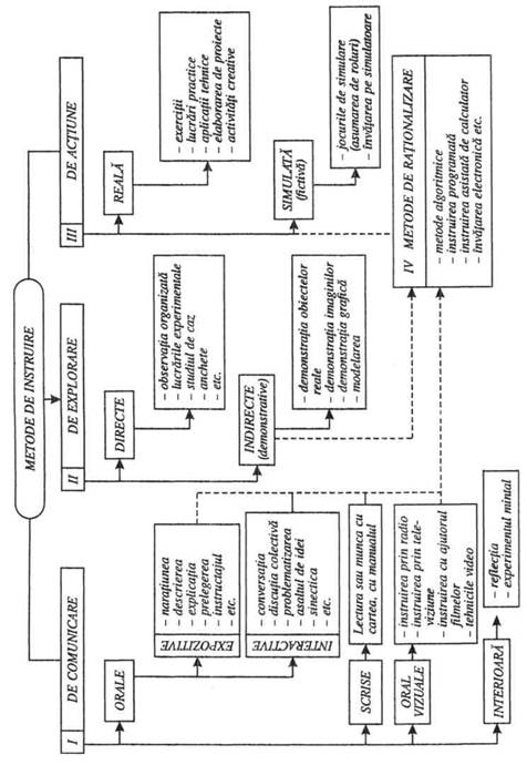
Luand drept criteriu de baza al constructiei sistemului de metode - principalul izvor al invatarii (principala sursa a cunoasterii organizate sub egida scolii) si dezvoltand dezvoltand sistemele prefigurate de J. Piaget, W. Okon s.a., I. Cerghit (2006, p.110-115), distinge patru mari categorii de metode, si anume :

I - Metode de comunicare si dobandire a valorilor socioculturale;

II - Metode de explorare sistematica a realitatii obiective;

III - Metode fundamentate pe actiune (practica);

IV - Metode de rationalizare a continuturilor si operatiilor de predare/invatare.

I. Metodele de comunicare - isi legitimeaza existenta si adeseori primatul, in virtutea faptului ca cea mai puternica sursa de cunoastere de care invatamantul s-a folosit dintotdeauna a constituit-o experienta de cunoastere a umanitatii. Cum achizitiile culturale necesare adaptarii omului nu se descopera, ci se transmit, cum cultura nu se descopera, ci se transmite sau se uita (remarca lui J.S. Bruner, cf. Shulman, Keisler, 1973, p. 93), este normal ca invatamantul sa-si aroge dreptul de a folosi un bogat repertoriu de metode de comunicare, cu functii comunicative si receptorii in sensul cel mai larg al cuvantului, adica de transmitere si de asimilare a tezaurului cultural al umanitatii.

Daca vom tine seama si de suportul principal purtator de informatie in cadrul comunicarii, atunci aceste metode se vor putea diviza mai departe in :

1. Metode de comunicare orala (bazata pe limbajul oral, pe cuvantul rostit), la randul lor subdivizate in:

a)        metode expozitive (afirmative) din care fac parte: naratiunea, descrierea, explicatia, demonstratia teoretica, prelegerea scolara, prelegerea universitara (cursul magistral), conferinta, expunerea cu oponent, prelegerea-discutie, conferinta-dezbatere, informarea, micro-simpozionul, instructajul, instruirea prin inregistrari sonore, prin radio etc.;

b)       metode interactive (interogative, conversative, dialogate) de diverse tipuri: conversatia euristica, discutiile sau dezbaterile, discutia-dialog, consultatia in grup, preseminarul, seminarul, discutia in masa, dezbaterea de tipul "mesei--rotunde', seminarul-dezbatere, dezbaterea de tip Phillips-66, asaltul de idei (brainstorming), dezbaterea pe baza jocului de asociatie de cunostinte, discutia dirijata (prin tematica enuntata), dezbaterea bazata pe intrebari recoltate in prealabil, discutia libera, colocviul, metoda focus-grup, metoda acvariului, metoda mozaicului, sinectica s.a.;

c) metode de instruire prin problematizare (invatarea prin rezolvare de situatii--problema).

Metode de comunicare scrisa (bazate pe limbajul scris sau cuvantul tiparit): instruirea prin lectura sau invatarea dupa textul tiparit (munca cu manualul sau cu cartea), analiza (investigatia) de text, informarea si documentarea etc.

Metode de comunicare oral-vizuala (bazate pe limbajul audiovizual, adica al asocierii imaginii, sunetului si cuvantului): instruirea prin filme, instruirea prin televiziune, instruirea prin tehnici video etc.

Metodele mentionate pana aici au la baza un limbaj extern, dar exista si unele metode (tehnici) de munca intelectuala fondate pe ceea ce se cheama limbajul intern, ceea ce ne determina sa le grupam si pe acestea in:

Metode de comunicare interioara (bazate pe limbajul intern), dintre care
amintim cu precadere: reflectia personala si experimentul mintal (cu mentiunea
ca reflectia se leaga nu numai de achizitiile culturale transmise, ci si de cele
obtinute in mod direct prin contactul cu realitatea si activitatea practica; suportul
sau ne face sa nu o desprindem de restul metodelor de comunicare).

Asa dupa cum am enuntat deja, scoala moderna nu se poate limita numai la instructia intemeiata pe experienta sociala a umanitatii, realizata cu precadere prin metode verbale si livresti, ci va tinde sa cultive in masura crescanda interesul si pentru acele forme de invatare care isi gasesc obarsia in actiunea sistematica de explorare sau investigatie proprie a insasi realitatii naturale si socio-umane. Potrivit acestui model "empirio-centric' o pondere sporita vor detine asa-nu-mitele :

II. Metode de explorare organizata a realitatii - metode obiective, intuitive care se pot imparti in doua subgrupe principale, dupa caracterul actiunii exploratorii, si anume in:

Metode de explorare directa a realitatii (bazate pe contactul nemijlocit cu lumea obiectelor si fenomenelor naturii si ale vietii sociale), in esenta metode de invatare prin descoperire asa cum sunt: observarea sistematica independenta (ori dirijata sau semidirijata), experimentul sau observarea in conditii de experimentare (efectuarea de experiente si de experimente), cercetarea documentelor si relicvelor istorice, studiul de caz, efectuarea anchetei de teren, efectuarea de studii comparative, elaborarea de monografii, explorarea prin coparticipare Ia evenimentele vietii cotidiene etc. si

Metode de explorare indirecta a realitatii (bazate pe explorarea substitutelor obiectelor si fenomenelor reale), dintre care o mare varietate de tipuri de:

metode demonstrative, axate indeosebi pe utilizarea diferitelor tipuri de imagini statice si dinamice, si

metode de modelare.

Invatamantul actual, pregatind tineretul pentru o viata activa, pentru activitatea practica, manifesta un evident interes pentru utilizarea unor metode de explorare (cunoastere) prin actiune, a unor metode cu caracter practic-aplicativ. Oferind un camp de aplicabilitate a cunostintelor si de exersare mintala, activitatea practica confera trainicie invatarii si asigura un teren de valorificare creatoare a cunostintelor, a aptitudinilor si capacitatilor mintale. in acest caz vom avea de-a face cu:

III. Metode bazate pe actiune (metode practice). in afara de faptul ca acestea
servesc la insusirea de noi cunostinte, priceperi si deprinderi, in esenta ele urma
resc operationalizarea sau instrumentalizarea notiunilor, aplicarea lor creatoare
la realitatea practica, de unde si denumirea de metode operationale sau instrumen
tale. Dupa caracterul actiunii, acestea se grupeaza in:

Metode de actiune efectiva, reala sau autentica, de o gama foarte larga si ele, incepand cu cele de exersare (tehnica exercitiului, group-training-ului etc.) si continuand cu diferitele tipuri de lucrari practice (inclusiv experimentele), lucrari de atelier, activitati de fabricatie, activitati creative, studiu de caz, elaborare de proiecte s.a., pana ajung la instruirea prin munca, la metode de participare personala, la diferitele forme ale muncii productive si activitatii socioculturale, adica la metode participative care vor situa elevii/studentii in mod nemijlocit in realitatea economica si sociala de la care vor avea atat de multe lucruri de invatat in modul cel mai direct si

Metodele de actiune simulata sau fictiva (metode de simulare) din a caror categorie fac parte jocurile didactice, jocurile de rol sau de simulare, invatarea dramatizata, invatarea pe simulatoare s.a.

IV. Metode de rationalizare a continuturilor si operatiilor de predare/invatare,
centrate pe performanta, pe eficienta maxima, asa cum sunt: metodele algorit
mice, instruirea programata, instruirea bazata pe calculator, Instruirea Asistata
de Calculator (IAC), invatarea electronica s.a. Acestea valorifica elemente sau
metode intregi apartinand celorlalte grupari.

Acelasi autor (I. Cerghit, 2006, p. 114) realizeaza si reprezentare grafica care ne va permite  mai buna orientare in sistemul de clasificare adoptat.


Apeland la acest tip de clasificare, autorul se opunem exclusivismului metodic, utilizarii unilaterale, preferentiale, doar a unui grup de metode in defavoarea altora si sustine necesitatea aplicarii unei metodologii de un registru extrem de larg, realizat pe ideea complementaritatii. Unitatea metodelor este mai indispensabila decat oricare alta metoda luata izolat, prin ea insasi. De aceea, este de datoria fiecarui cadru didactic sa ajunga la o viziune de ansamblu asupra intregului sistem de metode actuale, sa fie informat asupra progreselor metodologiei didactice moderne si sa practice curajos un sistem coerent de metode in activitatea sa cu elevii/studentii.

4. Descrierea unor metode de invatamant

A. Metode de comunicare orala

Metodele expozitive sunt: povestirea, descrierea, explicatia, prelegerea, expunerea, cursul magistral, conferinta; fiecare cu limbajul adecvat unor situatii scolare.

Caracteristicile metodelor expozitive:

- permit transmiterea ordonata a informatiei;

- mod realist de abordare a realitatii (expunerea);

- se pot forma stiluri elevate de gandire;

- sunt metode foarte flexibile;

- dau profesorului spontaneitate si putere de adaptare la specificul  temei si la nivelul intelectual al ascultatorilor.

Explicatia

Este o cale usoara, rapida si eficienta de dezvaluire, pe baza unei argumentatii deductive, a unor date noi. In acest sens se enunta mai intai, cu claritate, un concept, o definitie, o regula, un principiu etc. sau se prezinta un fenomen, un cuvant nou, o expresie, o situatie etc. si numai dupa aceea se analizeaza si exemplele sau argumentele (adica premisele, cauzele, relatiile, aplicatiile posibile etc, care servesc la deslusirea si confirmarea celor explicate)

In functie de obiectivele dezvaluirii, se disting tipuri diferite de explicatii, dintre care:

explicatia cauzala (de ce?), cu accentul pe relevarea cauzelor care justifica aparitia,  manifestarea unui fenomen;

explicatia normativa - de analiza dupa criterii stabilite, a caracteristicilor esentiale, a asemanarilor si deosebirilor etc.;

explicatia procedurala (cum?, care?), de evidentiere a operatiilor necesare pentru producerea unui lucru;

explicatia teleologica (pentru ce?), in vederea justificarii unei actiuni prin referinte la scop;

explicatia consecutiva (care?), de prezentare in sens enumerativ a evenimentelor, ce conduc la o situatie finala;

explicatia prin mecanism (cum ?), de prezentare a principiilor functionarii s. a.

Naratiunea (povestirea)

Naratiunea, care poate lua forma povestirii sau a basmului, este o metoda de mare succes, deoarece ea raspunde unei inclinatii firesti si puternic resimtita la copii, aceea spre imaginar, miraculos, fantastic si istorisire. Cu ajutorul povestirii, copiii patrund cu usurinta in lumea basmelor si fabulelor, gusta farmecul legendelor si miturilor, traiesc episoade sau fapte istorice petrecute demult, iau cunostinta de intamplari spectaculoase si de mare semnificatie din viata unor personaje, eroi etc.

O povestire atractiva, redata cu modestie si talent, este intotdeauna urmarita cu incordarea si participare afectiva intensa, oferind un bun prilej copiilor sa descopere ceea ce este bine si rau, frumos si urat, admirabil si respingator, noblete si josnicie in conduita unor personaje, unele indragite, altele detestate de acestia. Caracterul nuantat si emotional al exprimarii celui care povesteste, participarea sa directa si afectiva la continutul povestirii trezesc un registru larg de trairi emotive "rascolitoare' in sufletul copiilor, de la cele de iubire, de compatimire sau de bucurie, pana la cele de ura, de indignare si durere, fapt care explica valoarea educativa deosebita a acestei metode. Cu atat mai mult povestirea poate sa devina si mai activizanta, si mai influenta atunci cand isi asociaza un material ilustrativ si sugestiv (desene, imagini, proiectii de diapozitive sau diafilme, inregistrari sonore, desene animate, filme etc).

Importanta este si activitatea de repovestire. Aceasta intretine dorinta copilului de a se afirma, de a fi in centrul atentiei, de a-si manifesta capacitatea creativa. Motiv pentru care este bine ca el sa fie incurajat si antrenat sa povesteasca independent.

Metoda descrierii

Este o metoda de cunoastere prin atribuire de proprietati, staruind asupra aspectelor pregnante de forma, dimensiune, stare de spirit, context de relatii etc. In acest sens descrierea este cuprinsa in judecati si se exprima in proprietati de tipul "obiectul X este voluminos' sau "persoana Y este suparata' etc. Descrierea lasa cadrului didactic posibilitatea sa redea verbal imaginea unui obiect, unui fapt, caracteristicile unui personaj; sa schiteze cadrul natural si uman in care se desfasoara un eveniment; sa infatiseze direct aspectele realitatii inconjuratoare etc. Utilizarea acesteia dezvolta spiritul de observatie al elevilor si capacitatea lor de a sesiza si descrie ceea ce-este general, comun, dar si specific lucrurilor avute in vedere.

Descrierea ramane, totusi, o observare adeseori mult prea dirijata si interpretata datorita interventiilor cadrului didactic preocupat sa directioneze atentia spre aspectele esentiale si importante.

Demonstratia teoretica sau logica

Demonstratia logica este o cale deductiva care opereaza la nivelul rationalului. Este o fundamentare pe cale deductiva, prin rationament logic a unui adevar. Practic, ea se infatiseaza ca o expunere formata din enunturi, prin intermediul carora profesorul prezinta notiunile, principiile, faptele fundamentale si generalizarile, ori teoriile abstracte cu ajutorul unor definitii, a unor propozitii urmate de demonstratie, de confirmare prin exemple a celor afirmate. Intr-o asemenea situatie, conceptele, teoriile, in loc sa fie elaborate de catre elevi prin structurari si restructurari succesive, prin recurgere la operatii mintale de abstractizare si generalizare, acestea sunt prezentate de catre profesor.

Prelegerea

Prelegerea (lat. legere = citire; prae = in fata cuiva; "citesc ceva in fata unui auditoriu') ocupa un loc insemnat in activitatea de predare (mai ales in cea de tip clasic). Este utilizata in invatamantul secundar, dar cel mai frecvent in cel universitar (cursul magistral).

Are caracterul unei inlantuiri logice de rationamente prin intermediul carora se comunica un material informational nou sau putin cunoscut care face obiectul unei teme din programa.

Se utilizeaza, de asemenea, ca modalitate de prezentare, cu anticipatie a structurii logice a materiei care urmeaza a fi studiata (prelegerea introductiva) sau de sintetizare a unui continut mai vast deja parcurs (prelegerea de sinteza).

Realizarea unei prelegeri necesita o grija deosebita de acordat esentializarii informatiei, ierarhizarii stricte a ideilor si coerentei acestora, dezvaluirii argumentatiei stiintifice, enuntarii unor ipoteze si teorii, analizei si interpretarii critice a acestora etc. Planul de structurare a materiei se aduce la cunostinta elevilor/ studentilor fie la inceputul lectiei (cursului), fie pe parcursul acesteia, subli-niindu-se cu atentie, prin formulari, ton si accent trecerea de la o idee la alta, ideile subordonate, exemplele semnificative, implicatiile socio-practice etc.

Scrierea pe tabla sau pe folia de retroproiectie a schemei, concomitent cu mersul expunerii, prezinta unele avantaje, intrucat imprima un curs mai dinamic gandirii logice a clasei de elevi sau grupelor de studenti, orienteaza mai precis atentia acestora in jurul ideilor esentiale si ajuta la fixarea lor mai temeinica in memorie. La sfarsitul fiecarei secvente principale se recomanda sa se formuleze concluzii partiale, iar in partea finala, concluzii generale.

Metoda expunerii

Metoda instruirii prin expunere se realizeaza cu ajutorul unor simboluri care pot fi cuvinte, in forma verbala (orala sau scrisa) ori a unor simboluri foarte specializate (ca cele din domeniul matematicii si al stiintelor naturii, chimiei si fizicii, mai ales).

Desi a facut obiectul celor mai acerbe critici, prin intermediul expunerii este prezentata substanta invatarii. Si in masura in care logica expunerii este capabila sa induca o logica corespunzatoare actului de invatare, ea isi va asigura eficienta dorita.

Cursul magistral (ex cathedra)

In invatamantul universitar, seria de prelegeri ia forma cursului magistral, destinat prezentarii intr-o forma vie a ideilor, teoriilor proprii unui domeniu al cunoasterii; relevarii unor probleme ramase inca deschise, nerezolvate, datelor controversate, transmiterii terminologiei specifice, orientarii de ansamblu a studentilor, cursantilor etc. In masura in care s-au dezvoltat tehnicile autodidaxiei (autoeducatiei, autoinvatarii) si s-au inmultit sursele de informare (manuale si cursuri tiparite, lucrari si reviste de specialitate, inregistrari electromagnetice de cursuri si manuale, complexe multimedia s.a.), ponderea prelegerilor universitare s-a diminuat in raport cu utilizarea altor metode.

Expunerea cu oponent

Expunerea cu oponent se prezinta ca o noua varianta dramatizata a expunerii. Ea se deosebeste de prelegerea obisnuita prin prezenta celui de-al doilea cadru didactic sau a unui membru (elev, student, cursant bine informat, cu spirit critic si simt psihologic) din randurile auditorului, care intervine in timpul expunerii punand intrebari, formuland observatii, cerand lamuriri, asadar, simuland intretinerea unui dialog cu profesorul de la catedra. Prin asemenea interventii, cu grija dozate si regizate, survenite, in momente oportune, se incearca o inviorare a expunerii, se intentioneaza sa se sublinieze dificultatile conceptuale, sa se dirijeze participarea grupului auditor, sa se concentreze interesul asupra argumentatiei folosite.

Folosirea acestei modalitati de expunere, care ia oarecum forma unui "spectacol didactic', bine echilibrat, pretinzand profesorului si oponentului sau sa "joace roluri', sa conceapa si sa realizeze dialoguri, solicita anumite calitati artistice (de actor), cu deosebire aptitudinea de a sti sa foloseasca adecvat procedeele si mijloacele artei dramatice, precum si capacitatea de a realiza un acord perfect intre calitatea dramatizarii si calitatea continuturilor de prezentat. Din partea celui care face expunerea se cere un real simt al masurii, puterea de a sugera prin nuantele vorbirii, prin pauze, prin mimica si gestica.

Expunerea poate sa capete o infatisare si mai dramatizata atunci cand este Pregatita in cadrul unei echipe de profesori (dupa sistemul team-teaching). In cazul acesta, profesorul care va face expunerea propriu-zisa in fata auditoriului se va vedea interpelat, dupa un plan prestabilit, de mai multi "oponenti' profesori, din aceeasi echipa.

Prelegerea-dezbatere (discutie)

Prelegerea-dezbatere (discutie), ca si conferinta-dezbatere, ofera posibilitatea combinarii expunerii mai lungi cu dezbaterile mai scurte, fiind preferata unei separari a acestora in sedinte greoaie, de durata medie. De data aceasta, profesorul (lectorul sau conferentiarul) rosteste la inceput o alocutiune mai lunga (de cea 25-30 de minute) in cadrul careia infatiseaza principalele teze, puncte de vedere, opinii etc., ceea ce creeaza u baza de dezbateri imediate cu scopul de a problematiza continutul de idei comunicat, de a adanci intelegerea, interpretarea si eventual aplicarea celor expuse, de a mijloci raportarea notiunilor noi la propria experienta teoretica si practica castigata deja de participanti, de a prilejui noi asociatii de idei si de a gasi impreuna cai de rezolvare a problemelor scoase in evidenta.

Este valabila aceasta metoda, indeosebi in conditiile in care participantii dispun de un bagaj de cunostinte in legatura cu tema prezentata. Trecerea de la expunere la dezbatere ii permite profesorului o oarecare detasare de materialul prezentat, ii da posibilitatea sa intre in dialog cu ascultatorii, sa stabileasca relatii de cooperare. Persista insa riscul ca atunci cand profesorul nu se poate asigura de o participare substantiala din partea interlocutorilor sai, discutiile sa devina superficiale, inconsistente, schimbul de idei si opinii infructuos si deci, dezbaterea sa nu-si atinga scopul.

Dezbaterea nu trebuie sa se poarte aidoma aceleia dintr-un seminar obisnuit; menirea ei este sa-i ajute pe participanti sa se clarifice mai profund si sub multiple aspecte asupra ideilor si punctelor de vedere exprimate, asupra modului lui de a gandi si de a pune in valoare sursele de informatie cunoscute in parte si de respectivii participanti. Abia in seminarul care urmeaza prelegerii-dezbatere acestia isi vor aduce propriile contributii si isi vor dovedi puterea de rationament in elucidarea problemelor respective.

Este o metoda practicata cu succes mai ales in cadrul cursurilor de perfectionare, de specializare sau al altor actiuni care tin de educatia adultilor.

Instructajul

Precede sau insoteste desfasurarea unei activitati practice, in scopul precizarii si clarificarii sarcinilor de indeplinit, a conditiilor si regulilor de ordine si disciplina, a modului de comportare a elevilor sau, se poate spune, este o enumerare de actiuni care urmeaza a fi efectuate intr-o anumita succesiune.

In cadrul instructajului se dau indicatii obiective, prescriptii, comenzi, instructiuni cu privire la modul in care este necesar sa se actioneze in conditii de maxima eficienta.

B. Metodele de comunicare scrisa presupun munca, studiul manualului, a cartii. Elevii trebui invatati sa utilizeze manualul, deci trebuie familiarizati elevii cu:

lectura rapida;

lectura lenta;

lectura critica;

lectura problematizata;

lectura exploratorie.

C. Metode active

Problematizarea

vizeaza dezvoltarea gandirii independente productive;

- dezvolta schemele gandirii divergente, antreneaza aptitudinile creatoare, asigurand motivarea intrinseca a invatarii;

problema sau situatia-problema reprezinta o interactiune cognitiva intre subiect-obiect.

Abordarea euristica

Euristica reprezinta o idee directoare, principiu director in toata metodologia didactica (M. Ionescu).

In strategia euristica, conceptele fac obiectul procesului de predare-invatare, conceptele determina selectia obiectelor si evenimentelor discutate. Problema rezulta din raporturile particulare in care se afla diferite concepte.

Abordarea euristica presupune:

- momente de incertitudine, cautari, tatonari;

- selectie a posibilitatilor;

- alegerea celor mai optime cai;

- angajarea elevului intr-o sarcina de cunoastere pentru care are o experienta insuficienta.

Invatarea prin descoperire:

- presupune ca elevii sa descopere adevarul refacand drumul elaborarii cunostintelor prin activitate independenta;

- in acceptiunea primara s-a numit maieutica; profesorul ii determina pe elevi sa gaseasca rezultatul dorit printr-o serie de intrebari bine puse;

- in scoala are loc un proces denumit invatare prin descoperire dirijata, adica indrumarea de catre profesor a procesului de descoperire efectuat de elevi sub forma sugestiilor si a indicatiilor;

Modelarea

- reprezinta studierea fenomenelor din natura si societate cu modele ideale sau materiale; la baza sta analogia dintre model si sistemul ce-l reprezinta;

- scopul modelarii este cresterea eficientei cunostintelor astfel incat cunoasterea devine mai usoara, mai rapida, mai substantiala;

Modelul este un sistem materiale sau ideal, ce reproduce mai mult sau mai putin fidel originalul pentru a usura descoperirea unor noi proprietati.

Algoritmizarea

Algoritmul are trei note definitorii (A.A. Markore, 1954):

caracter precis determinat;

valabilitatea sa pentru o clasa de obiecte probleme;

finalitate certa, rezultativitatea sa.

Algoritmizarea poate fi considerata ca fiind prezenta in interiorul fiecarei metode de invatamant.

Munca in grup

Presupune cooperare si activitate comuna pentru a rezolva o sarcina. Metoda valorifica avantajele muncii scolare si extrascolare in grup:

atenuarea unei manifestari exagerate a individualitatii;

rezultatele imbinarii muncii individuale cu cea de grup etc.

Cerintele in utilizarea metodei sunt:

cunoasterea modului in care vor fi realizate grupele (4-6 membri);

constituirea unor grupe permanente  sau ocazionale dupa diferite criterii;

efectuarea unui plan:

analiza temei;

impartirea sarcinilor;

emiterea unor teze;

efectuarea investigatii propriu-zise;

notarea rezultatelor obtinute;

interpretarea rezultatelor;

elaborarea referatului final

judecarea, evaluarea, aprecierea rezultatelor;

modificarea sistemului obisnuit de notare prin folosirea unui sistem de punctaj, utilizarea unor grile;

imbinarea formei competitive de lucru cu forma cooperativa.

Proiectul, tema de cercetare

Presupune efectuarea de catre elevi, a unei cercetari ce are obiective practice si finalizate printr-un produs: instalatii, obiecte, aparate, albume etc.

Un proiect imbina munca de investigare stiintifica alaturi de activitatea practica a elevului.

Tema de cercetare se concretizeaza in:

- efectuarea de investigatii in mediul inconjurator (elaborarea unor culegeri de folclor, studii privind evolutia in timp a unei localitati, istoricul unei scoli etc.;

- proiectarea si confectionarea unor aparate, instalatii modele necesare in invatamant;

- lucrari stiintifice pe o tema prestabilita;

- participarea elevilor la elaborarea unor proiecte de amplasare a unor obiective industriale, sau culturale, de sistematizare a localitatii etc.;

- lucrare de diploma.

Experimentul

Este o metoda de cercetare folosita in stiintele socio-umane, tehnice presupunand modificarea de catre experimentator a unor fenomene in scopul descoperirii legilor ce le guverneaza.

Clasificarea experimentelor

a) Experimentul de cercetare - elevii provoaca unele fenomene pentru a le observa, studia;

b) Experimentul demonstrativ - asigura intelegerea, fenomenelor unor convingeri stiintifice. Se executa in fata clasei, elevii observa fenomenul produs, emit ipoteze si explica esenta acestui fenomen:

b.1. experimentul calitativ - pune in evidenta o relatie cauza - efect; (incalzirea unui conductor strabatut de curent electric);

b.2. experimente cantitative - de determinare a anumitor marimi ale proceselor si fenomenelor ce au loc (alungirea resortului in functie de masa corpurilor atarnate de el);

b.3. experimente negative - de corectare a unor reprezentari gresite ale elevilor despre un fenomen sau proces.

Studiul de caz

Este o metoda de instruire si de invatare activa si de cercetare (psihologie, pedagogie, sociologie, economie etc.).

R. Muchielli, precizeaza urmatoarele cazuri:

- incidente semnificative care denota o stare de fapt neclara sau chiar penibila;

- o situatie particulara, desfasurata in timp;

- o persoana aflata la un moment dat in incurcatura (cu dificultati de diferite naturi);

- un moment problematic in viata profesionala scolara.

Studiul de caz are rol formativ deoarece elevii:

- se obisnuiesc sa adune informatii, sa le selecteze, sa le valorifice, sa elaboreze decizii in mod argumentat;

- isi dezvolta capacitatea de examinare critica a diferitelor strategii si variante de solutionare;

- isi dezvolta capacitatea de a anticipa evolutia evenimentelor;

- iau decizii eficiente;

- trebuie sa-si argumenteze ipotezele, explicatiile proprii si concomitent prin participarea activa la solutionarea cazului;

Jocul de rol

Este o metoda activa de predare-invatare, bazata pe simularea unor functii, relatii activitati, fenomene, sisteme.

Obiective generale ale jocului de rol:

invatarea modurilor de gandire, traire, actiune, specifice unui anumit statut;

dezvoltarea capacitatii de ocupatie si intelegere a opiniilor trairilor, aspiratiilor altora;

dezvoltarea capacitatii de a surprinde, intelege si evolua orientarile valorice ale partenerilor de interactiune;

verificarea corectitudinii comportamentelor formate si destramarea celor gresite;

formarea si perfectionarea aptitudinilor de munca in grup si de conducere colectiva.

Etapele pregatirii jocului de rol:

1. identificarea situatiei interumane ce se preteaza la simulare prin joc de rol;

2. proiectarea scenariului (analiza situatiei din punct de vedere al statutului si rolului,

3. elaborarea scenariului propriu-zis;alegerea partenerilor si instruirea lor (descrierea amanuntita a statuturilor si rolurilor);

4. invatarea individuala a rolului de fiecare participant prin studierea fisei;

5. interpretarea rolurilor;

6. dezbaterea cu toti participantii a modului de interpretare si reluarea anumitor secvente unde nu s-au obtinut comportamentele asteptate.

Invatarea pe simulatoare didactice

Simularea in sens metodologic si in cercetare presupune realizarea unui simulator in raport cu o categorie de obiecte sau situatii reale.

Simulatorul reprezinta un sistem tehnic, artificial astfel incat sa fie o corespondenta biunivoca intre elementele structural functionale ale acesteia si sistemul luat ca model de baza.

Predarea si invatarea sub asistenta calculatorului (IAC)

Instructia asistata de mijloacele tehnice a cunoscut deja cinci generatii, ultima fiind calculatorul electronic. O asemenea instruire pretinde un program de instruire care este un produs pedagogic ce urmeaza a fi transpus in program-computer (produs informatic).

In acest domeniu se contureaza patru directii:

predarea informaticii cu toate ramurile sale;

programarea pedagogica a continutului;

elaborarea programului-computer;

sectorul ce vizeaza programele de hardware.

Calculatorul poate fi util in predarea lectiilor datorita:

- simularii unor fenomene in miscare;

- crearii unor situatii problema cu valoare motivationala;

- imbunatatirea conexiunii inverse;

- desfasurarea unor activitati diferentiate;

- activitati recapitulative;

- jocuri didactice pe teme complementive.

Drumul afirmarii si implementarii unei noutati nu este neted, este contradictoriu si insotit de distorsiuni.

D. Metode moderne utilizate in interactiunea educationala

Scoala a fost si este nevoita sa-si diversifice modalitatile de interactiune altfel ramane o institutie greoaie si ineficienta, inadaptata unei societati in continua transformare.

Metodele din stiintele educatiei s-au diversificat si s-au adaptat la atributele specificitatii populatiei scolarizate. Prin interdisciplinaritate s-au produs asimilari ale altor metode din stiintele cu care pedagogia interactioneaza, dar aceste metode au gasit solutii pertinente la problemele diferite din educatie.

In cele ce urmeaza ne vom referi la metodele moderne utilizate in interactiunea educationala adoptand interpretarea cadru oferita de Crenguta Oprea (2003). Autoarea clasifica metodele si tehnicile interactive de grup dupa functia didactica principala, astfel:

Metode de predare-invatare interactiva in grup:

Metoda predarii/invatarii reciproce (Reciprocal teaching - Palinscar)

Metoda Jigsaw (Mozaicul)

Metoda schimbarii perechii (Share-Pair Circles)

Metode de fixare si sistematizare a cunostintelor si de verificare:

Tehnica florii de nufar (Lotus Blossom Technique)

Diagrama cauzelor si a efectului

Metode de rezolvare de probleme prin stimularea creativitatii:

Metoda Frisco

Sinectica

Starbursting (Explozia stelara

Metode de predare-invatare interactiva in grup

Metoda predarii/invatarii reciproce (Reciprocal teaching - Palinscar)

Este o strategie instructionala de invatare a tehnicilor de studiere a unui text. Dupa ce sunt familiarizati cu metoda, elevii interpreteaza rolul profesorului, instruindu-si colegii. Are loc o dezvoltare a dialogului elev - elev. Se poate desfasura pe grupe sau cu toata clasa. Metoda invatarii reciproce este centrata pe patru strategii de invatare folosite de oricine care face un studiu de text pe teme sociale, stiintifice sau un text narativ (povesti, nuvele, legende). Aceste strategii sunt:

rezumarea - inseamna expunerea a ceea ce este mai important din ceea ce s-a citit; se face un rezumat;

punerea de intrebari - se refera la listarea unei serii de intrebari despre informatiile citite; cel ce pune intrebarile trebuie sa cunoasca bineinteles si raspunsul;

clarificarea datelor - presupune discutarea termenilor necunoscuti, mai greu de inteles, apelul la diverse surse lamuritoare, solutionarea neintelegerilor.

prezicerea (prognosticarea) - se refera la exprimarea a ceea ce cred elevii ca se va intampla in continuare, bazandu-se pe ceea ce au citit.

Etapele metodei

1. Explicarea scopului si descrierea metodei si a celor patru strategii;

2. Impartirea rolurilor elevilor:

3. Organizarea pe grupe.

4. Lucrul pe text.

5. Realizarea invatarii reciproce.

6. Aprecieri, completari, comentarii.

Metoda predarii/invatarii reciproce este o strategie de invatare in grup, care stimuleaza si motiveaza. Un anumit numar de experiente au pus in evidenta "efectul de invatare", adica beneficiul personal pe care un copil poate sa-l obtina dintr-o invatare oferita de el insusi colegilor sai. Un elev "putin dotat" inregistreaza performante superioare dupa ce a avut de actionat ca "invatand" un alt elev, decat dupa ce a avut de realizat complet un exercitiu scolar. (Allen si Feldman, 1973 apud Crenguta Oprea, 2003)

Metoda Jigsaw

Metoda Jigsaw (in engleza jigsaw puzzle inseamna mozaic) sau "metoda grupurilor interdependente" (A. Neculau, 1998), este o strategie bazata pe invatarea in echipa (team-learning). Fiecare elev are o sarcina de studiu in care trebuie sa devina expert. El are in acelasi timp si responsabilitatea transmiterii informatiilor asimilate celorlalti colegi.

Etape si faze:

1. Pregatirea materialului de studiu. Profesorul stabileste tema de studiu, o imparte in 4 sau 5 sub-teme si realizeaza o fisa-expert in care trece cele 4 sau 5 sub-teme propuse si care va fi oferita fiecarui grup;

2. Organizarea colectivului in echipe de invatare de cate 4-5 elevi (in functie de numarul lor in clasa). Fiecare elev din echipa, primeste un numar de la 1 la 4-5 si are ca sarcina sa studieze in mod independent, sub-tema corespunzatoare numarului sau. El trebuie sa devina expert in problema data.

3. Constituirea grupurilor de experti. Dupa ce au parcurs faza de lucru independent, expertii cu acelasi numar se reunesc, constituind grupe de experti pentru a dezbate problema impreuna. Astfel, elevii cu numarul 1, parasesc echipele de invatare initiale si se aduna la o masa pentru a aprofunda sub-tema cu numarul1. La fel procedeaza si ceilalti elevi cu numerele 2, 3, 4 sau 5. Elevii prezinta un raport individual asupra a ceea ce au studiat independent. Au loc discutii pe baza datelor si a materialelor avute la dispozitie, se adauga elemente noi si se stabileste modalitatea in care noile cunostinte vor fi transmise si celorlalti membrii din echipa initiala. Scopul comun al fiecarui grup de experti este sa se instruiasca cat mai bine, avand responsabilitatea propriei invatari si a predarii si invatarii colegilor din echipa initiala.

4. Reintoarcerea in echipa initiala de invatare.

Expertii transmit cunostintele asimilate, retinand la randul lor cunostintele pe care le transmit colegii lor, experti in alte sub-teme. Membrii sunt stimulati sa discute, sa puna intrebari si sa-si noteze, fiecare realizandu-si propriul plan de idei.

5. Evaluarea

Grupele prezinta rezultatele intregii clase. In acest moment elevii sunt gata sa demonstreze ce au invatat. Profesorul poate pune intrebari, poate cere un raport sau un eseu ori poate da spre rezolvare fiecarui elev o fisa de evaluare.

"Esentiala pentru aceasta modalitate de structurare a travaliului clasei este interdependeta dintre membrii grupului, care-i stimuleaza sa coopereze. Sarcina comuna nu poate fi indeplinita decat daca fiecare elev isi aduce contributia. Prin intermediul ei se anihileaza tendinta de instituire a unor ierarhii in grupuri, intrucat elevii cu status inalt si cu abilitati deosebite invata de la ceilalti in aceeasi masura in care ei isi ajuta colegii sa inteleaga si sa-si insuseasca o sub-tema. Trebuie sa remarcam calitatea metodei grupurilor interdependente de a anihila manifestarea efectului Ringelmann. Lenea sociala, cum se mai numeste acest efect, apare cu deosebire atunci cand individul isi imagineaza ca propria contributie la sarcina de grup nu poate fi stabilita cu precizie. Interdependenta dintre membri si individualizarea aportului fac din metoda Jigsaw un remediu sigur impotriva acestui efect." (Adrian Neculau, Stefan Boncu, 1998, p. 244)

Metoda "Schimba perechea" (SHARE- PAIR CIRCLES)

Share - Pair Circles este o metoda de lucru pe perechi. Se imparte clasa in doua grupe egale ca numar de participanti. Se formeaza doua cercuri concentrice, elevii fiind fata in fata pe perechi. Profesorul pune o intrebare sau da o sarcina de lucru in perechi. Fiecare pereche discuta si apoi comunica ideile. Cercul din exterior se roteste in sensul acelor de ceasornic, realizandu-se astfel schimbarea partenerilor in pereche. Elevii au posibilitatea de a lucra cu fiecare membru al clasei. Fiecare se implica in activitate si isi aduce contributia la rezolvarea sarcinii.

Etapele:

1. Etapa organizarii colectivului in doua grupe egale. Fiecare elev ocupa un scaun, fie in cercul din interior, fie in cercul exterior. Daca numarul de elevi este impar, la activitate poate participa si cadrul didactic sau doi elevi pot lucra in "tandem".

2. Etapa prezentarii si explicarii problemei. Profesorul ofera cazurile pentru studiu, problemele de rezolvat sau situatiile didactice si explica importanta solutionarii.

3. Etapa de lucru in perechi. Elevii lucreaza doi cate doi pentru cateva minute. Apoi elevii din cercul exterior se muta un loc mai la dreapta pentru a schimba partenerii, realizand astfel o noua pereche. Jocul se continua pana cand se ajunge la partenerii initiali sau se termina intrebarile.

4. Etapa analizei ideilor si a elaborarii concluziilor. In acest moment, clasa se regrupeaza si se analizeaza ideile emise. Profesorul face impreuna cu elevii o schema a concluziilor obtinute.

Metoda Share - Pair Circles este o metoda interactiva de grup, care stimuleaza participarea tuturor elevilor la activitate; elevii au posibilitatea de a lucra cu fiecare dintre membrii colectivului. Este o metoda usor de aplicat la orice varsta si adaptabila oricarui domeniu si nvatamant.

Metode de fixare si sistematizare a cunostintelor si de verificare

Tehnica florii de nufar

Tehnica florii de nufar presupune deducerea de conexiuni intre idei, concepte, pornind de la o tema centrala. Problema sau tema centrala determina cele 8 idei secundare care se construiesc in jurul celei principale, asemeni petalelor florii de nufar. Cele 8 idei secundare sunt trecute in jurul temei centrale, urmand ca apoi ele sa devina la randul lor teme principale, pentru alte 8 flori de nufar. Pentru fiecare din aceste noi teme centrale se vor construi cate alte noi 8 idei secundare. Atfel, pornind de la o tema centrala, sunt generate noi teme de studiu pentru care trebuiesc dezvoltate conexiuni noi si noi concepte.

Etapele tehnicii florii de nufar:

1. Construirea diagramei;

2. Scrierea temei centrale in centrul diagramei;

3. Participantii se gandesc la ideile sau aplicatiile legate de tema centrala. Acestea se trec in cele 8 "petale" (cercuri) ce inconjoara tema centrala;

4. Folosirea celor 8 idei deduse, drept noi teme centrale pentru celelalte 8 cadrane ("flori de nufar");

5. Etapa construirii de noi conexiuni pentru cele 8 noi teme centrale si

consemnarea lor in diagrama. Se completeaza in acest mod cat mai multe

cadrane ("flori de nufar");

6. Etapa evaluarii ideilor. Se analizeaza diagramele si se apreciaza rezultatele din punct de vedere calitativ si cantitativ. Ideile emise se pot folosi ca sursa de noi aplicatii si teme de studiu in lectiile viitoare.

Tehnica Lotus poate fi desfasurata cu succes in grup, fiind adaptabila unor largi categorii de varsta si de domenii. Exista si posibilitatea dezvoltarii unui Lotus individual, ca un exercitiu de stimulare a creativitatii si de autoevaluare.

Diagrama cauzelor si a efectului

Constituirea digramei cauzelor si a efectului ofera posibilitatea punerii in evidenta a izvoarelor unei probleme, unui eveniment sau unui rezultat.

Regulile de organizare si etapele de realizare a diagramei cauzelor si a efectului sunt urmatoare:

1. Se imparte clasa in echipe de lucru;

2. Se stabileste problema de discutat (rezultatul unei intamplari sau unui evemiment deosebit - efectul). Fiecare grup are de analizat cate un efect.

3. Are loc dezbaterea in fiecare grup pentru a descoperi cauzele care au condus la efectul discutat. Inregistrarea cauzelor se face pe hartie sau pe tabla.

4. Construirea diagramei cauzelor si a efectului astfel:

- pe axa principala a diagramei se trece efectul;

- pe ramurile axei principale se trec cauzele majore (principale) ale efectului, corespunzand celor 6 intrebari: CAND?, UNDE?, CINE?, DE CE?, CE?, CUM? (s-a intamplat);

- cauzele minore (secundare) ce decurg din cele principale se trec pe cate o ramura mai mica ce se deduce din cea a cauzei majore;

5. Etapa examinarii listei de cauze generate de fiecare grup:

- examinarea patternurilor;

- evaluarea modului in care s-a facut distinctie intre cauzele majore si cele

minore si a plasarii lor corecte in diagrama, cele majore pe ramurile principale, cele minore pe cele secundare, relationand si/sau decurgand din acestea;

- evaluarea diagramelor fiecarui grup si discutarea lor;

6. Stabilirea concluziilor si a importantei cauzelor majore:

Diagramele pot fi folosite de asemeni, pentru a exersa capacitatea de a raspunde la intrebari legate de anumite probleme aflate in discutie. Diagrama cauzelor si efectului este asemanatoare cu tehnicile herringbone - maps sau fishbone - maps (scheletul de peste). Acestea pot fi proiectate pentru a arata interactiunile cauzale ale unui eveniment complex.

Un avantaj al constuirii diagramatice a relatiei dintre efectul dat si cauzele care l-au determinat este activizarea tuturor participantilor antrenati in acest joc in care se imbina cooperarea din interiorul grupului cu competitia dintre echipe. Un neajuns al acestui demers creativ poate fi acela al modului pretentios de realizare a diagramei, fapt ce poate fi repede suplinit prin exercitiu.

Metode de rezolvare de probleme prin stimularea creativitatii

Metoda Frisco

Metoda Frisco are la baza interpretarea din partea participantilor a unui rol specific, care sa acopere o amunita dimensiune a personalitatii, abordand o problema din mai multe perspective. Astfel, membrii grupului vor trebui sa joace, fiecare, pe rand, rolul consevatorului, rolul exuberantului, rolul pesimistului si rolul optimistului. Metoda a fost propusa de echipa de cercetare Four boys of Frisco (cei patru baieti din San Francisco), iar scopul ei este de a identifica problemele complexe si dificile si de a le rezolva pe cai simple si eficiente.

Etapele metodei Frisco:

1. Etapa punerii problemei: profesorul sau elevii/studentii sesizeaza o situatieproblema si a propun spre analiza;

2. Etapa organizarii colectivului: se stabilesc rolurile: conservatorul, exuberantul, pesimistul, optimistul si cine le joaca. Rolurile pot fi abordate individual sau, in cazul colectivelor numeroase, acelasi rol poate fi jucat de mai multi participanti concomitent, acestia formand o echipa.

3. Etapa dezbaterii colective: fiecare interpreteaza rolul ales si-si sustine punctul de vedere in acord cu acesta. Cel care este conservator are rolul de a aprecia meritele solutiilor vechi, pronuntandu-se pentru mentinerea lor, fara a exclude insa posibilitatea unor eventuale imbunatatiri. Exuberantul priveste catre viitor si emite idei aparent imposibil de aplicat in practica, asigurand astfel un cadru imaginativ-creativ, inovator si stimulandu-i si pe ceilalti participanti sa priveasca astfel lucrurile. Se bazeaza pe un fenomen de contagiune. Pesimistul este cel care nu are o parere buna despre ce se discuta, cenzurand ideile si solutiile initiale propuse. El releva aspectele nefaste ale oricaror imbunatitiri. Optimistul lumineaza umbra lasata de pesimist, imbarbatand participantii sa priveasca lucrurile dintr-o perspectiva reala, concreta si realizabila. El gaseste fundamentari realiste si posibilitatile de realizare a solutiilor propuse de catre exuberant., stimuland participantii sa gandeasca pozitiv.

4. Etapa sistematizarii ideilor emise si a concluzionarii asupra solutiilor gasite.

Metoda stimuleaza creativitatea participantilor, gandirea colectiva si individuala; dezvolta capacitatile sociale ale participantilor, de intercomunicare si toleranta reciproca, de respect pentru opinia celuilalt. Este o tehnica usor de folosit, aplicabila unei largi categorii de varste, putand fi folosita in diferite domenii de activitate si discipline.

Sinectica

Sinectica, numita si metoda analogiilor sau metoda asociatiilor de idei, a fost elaborata de profesorul William J. Gordon (Operational Approach to Creativity) in 1961, cand a infiintat primul grup sinectic la Universitatea Harvard. Termanul de sinectica provine din grecescul synecticos ("syn" - "a aduce impreuna" si "ecticos" - "elemente diverse") si sugereaza principiul fundamental al metodei: asocierea unor idei aparent fara legatura intre ele. Metoda Gordon are in vedere stimularea creativitatii participantilor pentru formularea de idei si ipoteze, folosind rationamentul prin analogie.

Etapele sinecticii:

1. Constituirea grupului sinectic. Grupul sinectic este alcatuit din 5-8 persoane, dintre care unul are rolul de lider si altul de secretar. Participantii trebuie sa fie cunoscatori ai domeniului din care face parte problema in cauza, sa aibe aptitudini de a lucra in echipa, capacitate empatica si toleranta fata de ideile emise de ceilalti colegi de grup. Totodata, se aleg persoane cu capacitati imaginative si metaforice dezvoltate, nonc onformiste si dezinvolte.

2. Prezentarea problemei. Problema poate fi expusa de catre profesor sau este aleasa din randul celor propuse de catre elevi. Ea este analizata prin fragmentarea ei in unitati de baza, transpunandu-se elementele cunoscute intr-o forma operationala.

3. Itinerariul sinectic. Itinerariul sinectic presupune distantarea intentionata de esenta problemei prin inlaturarea ideilor preconcepute care pot influenta procesul de creatie. Se face apel la tehnici intuitive: analogia, fantezia, empatia, evocarea, inversia. Prin analogii fanteziste se propun solutii care se indeparteaza de realitatea posibila. Prin empatie se produce un transfer de identitate de la problema la individ.

4. Elaborarea modelului de solutionare a problemei. Analogiile simbolice permit transpunerea problemei in imagini. Inversia reprezinta schimbarea unghiului de abordare a temei cu scopul de a diminua inertia psihologica. Pe parcursul acestei etape, elevii emit diverse propuneri de solutionare a problemei, care, mai apoi vor trebui transformate in termeni conformi cu realitatea. Aceasta este etapa elaborarii modelului rezolutiv, urmata de experimentare si aplicare.

5. Experimentarea si aplicarea modelului.

Evaluarea va avea in vedere urmatorii indicatori: ideile emise in etapa itinerariului sinectic, ierarhizarea solutiilor propuse, experimentarea si aplicarea modelului rezolutiv. Postulatele pe care se bazeaza sinectica se refera la faptul ca in procesul inovarii, creatorii parcurg mai multe faze, stari critice, cu functii si contributii diferite in generea si concretizarea noului. De asemeni, in procesele creative, aspectele emotionale si irationale sunt frecvent mai importante decat cele intelectuale si rationale.

Derularea sinecticii simuleaza etapele procesul creator spontan. Astfel, participantul transforma necunoscutul in cunoscut, trece prin faza de incubatie, favorizeaza emergenta ideilor noi privind problema abordata. Pe parcursul derularii, se acorda o mare importanta starilor psihologice, sentimntelor ireale, euforice care favorizeaza intrezarirea de solutii noi.

Starbursting (Explozia stelara)

Starbursting (engl. "star" = stea; engl. "burst" = a exploda), este o metoda noua de dezvoltare a creativitatii, similara brainstormingului. Incepe din centrul conceptului si se imprastie in afara, cu intrebari, asemeni exploxiei stelare.

Se scrie ideea sau problema pe o foaie de hartie si se insira cat mai multe

intrebari care au legatura cu ea. Un bun punct de plecare il constituie cele de tipul: Ce?, Cine?, Unde?, De ce?, Cand?. Lista de intrebari initiale poate genera altele, neasteptate, care cer si o mai mare concentrare.

Scopul metodei este de a obtine cat mai multe intrebari si astfel cat mai multe conexiuni inte concepte. Este o modalitate de stimulare a creativitatii individuale si de grup.

Organizata in grup, starbursting faciliteaza participarea intregului colectiv,

stimuleaza crearea de intrebari la intrebari, asa cum brainstormingul dezvolta

constructia de idei pe idei.

Etape:

1. Propunerea unei probleme;

2. Colectivul se poate organiza in grupuri preferentiale. Grupurile lucreaza pentru a elabora o lista cu cat mai multe intrebari si cat mai diverse;

4. Comunicarea rezultatelor muncii de grup;

5. Evidentierea celor mai interesante intrebari si aprecierea muncii in echipa;

Facultativ, se poate proceda si la elaborarea de raspunsuri la unele dintre

intrebari.

Metoda starbursting este usor de aplicat oricarei varste si unei palete largi de domenii. Nu este costisitoare si nici nu necesita explicatii amanuntite. Participantii se prind repede in joc, acesta fiind pe de o parte o modalitate de relaxare si, pe de alta parte, o sursa de noi descoperiri.



Politica de confidentialitate | Termeni si conditii de utilizare



DISTRIBUIE DOCUMENTUL

Comentarii


Vizualizari: 2684
Importanta: rank

Comenteaza documentul:

Te rugam sa te autentifici sau sa iti faci cont pentru a putea comenta

Creaza cont nou

Termeni si conditii de utilizare | Contact
© SCRIGROUP 2025 . All rights reserved