| CATEGORII DOCUMENTE |
| Agricultura | Asigurari | Comert | Confectii | Contabilitate | Contracte | Economie |
| Transporturi | Turism | Zootehnie |
| Navigatie |
MASURAREA ADANCIMII APEI
. GENERALITATI. CLASIFICAREA SONDELOR
Masurarea adancimii apei prezinta o deosebita importanta pentru siguranta navigatiei, in special in conditiile navigatiei in zone nesigure din apropierea coastei, unde nu este posibila determinarea continua si precisa a pozitiei navei. In aceste conditii, prin siguranta navigatiei se intelege asigurarea unei adancimi suficiente a apei sub chila navei.
Masurarea adancimii apei prezinta interes ca actiune de prevenire a pericolului punerii navei pe uscat, ca observatie pentru controlul pozitiei navei si pentru executarea manevrei de ancorare; in unele situatii, cum este cazul la manevrele de ancorare, se impune si necesitatea determinarii naturii fundului marii (executarea 'probelor de fund').
Dispozitivele(aparatele) utilizate la bordul navei pentru masurarea adancimii apei se numesc sonde; operatiunea de masurare a adancimii apei (prin utilizarea unei sonde) se numeste sondaj.
Se utilizeaza in mod curent urmatoarele tipuri de sonde:
sonda de mana (sonda simpla);
sonda ultrason.
A existat la bordul navelor si sonda mecanica dar in prezent acest dispozitiv a fost inlocuit la toate navele cu sonda ultrason.
Exista o varietate mare de sonde, care au insa domenii restranse de aplicabilitate (cercetari hidrografice si oceanografice, pescuit oceanic, etc.), cum ar fi:
sonda ultrason cu actionare pe orizontala;
sonda peste;
sonda multivibrator, etc.
Normele Registrului Naval Roman prevad obligativitatea dotarii navelor maritime comerciale cu o sonda ultrason si o sonda de mana.
Pe hartile marine romanesti sunt date adancimile apei in metri, in timp ce pe hartile englezesti, acestea sunt exprimate de regula in brate - fathoms (adancimile mari) si in picioare - feet (adancimile mici). Cel mai comod pentru practica navigatiei este ca sondele din dotarea navei sa exprime adancimile in unitatea de masura folosita in harti.
2. SONDA DE MANA (HAND LEAD).
Sonda de mana (sau sonda simpla) se compune dintr-o greutate de forma tronconica din fonta sau plumb, cu masa de 3.25-5.0 Kg si o saula gradata, cu o lungime de cel mult 52m; sondajul se executa aruncand sonda in sensul de mars al navei si filand la apa saula sondei, iar citirea se executa cu saula in pozitie verticala, la nivelul apei. Din valoarea masurata a adancimii se scade valoarea pescajului navei.
Pe timpul noptii citirea se face la nivelul copastiei, urmand ca din valoarea masurata a adancimii sa se scada valoarile inaltimii bordului liber si a pescajului navei. Sonda de mana se utilizeaza numai la adancimi mici (maxim 40-50m) si la o viteza mica a navei (max. 5-6 Nd).
Saula sondei este gradata dupa urmatorul cod:
la fiecare metru, o bucata de piele;
la 5,15,25,35 si 45 m, o suvita
la 10m, astar albastru;
la 20m, astar alb;
la 30m, astar rosu;
la 40m, astar galben.
In cazul cand in momentul atingerii fundului saula sondei se intinde spre pupa (la mers inainte), sondajul citit se corecteaza scazand cate 0.2 m la fiecare 10 m adancime, cand inclinarea saulei este de cca 10 fata de verticala si cate 0.6 m, cand inclinarea este de cca 20.
Sondajele cu sonda simpla se executa in bordul de sub vant Greutatea sondei are in partea inferioara un orificiu care se umple cu seu, pentru a lua 'probe' in vederea stabilirii naturii fundului marii (nisip, mal etc.); in cazul in care fundul este stancos sau cu pietre, suprafata seului/vaselinei (nivelata inainte de filarea greutatii) se deformeaza prin contactul cu acestea. Natura fundului intereseaza la manevra de ancorare, cat si pentru obtinerea unor indicii asupra pozitiei navei.
Comunicarea rezultatului sondajului de catre timonierul care il executa trebuie sa contina: locul la bord, adancimea apei, natura fundului, sensul deplasarii navei. De exemplu: 'prova tribord, metri douazeci, fundul nisip, nava merge incet inainte!'; cand nu se atinge fundul, se indica lungimea saulei filate, astfel: 'prova tribord, metri patruzeci, fara fund, nava merge incet inapoi!'.
Asa cum s-a aratat, sonda simpla constituie o rezerva si un mijloc de control al preciziei indicatiilor sondei ultrason la bord. Mai frecvent se foloseste la urmatoarele ocazii:
la manevrele de ancorare, pentru masurarea adancimii apei si luarea de probe de fund;
pe timpul incarcarii navei, in porturi cu adancime limitata. Sondajele se executa de pe punte in ambele borduri; incarcarea navei se opreste in functie de rezultatele sondajelor, cand se ajunge la limita de pescaj stabilita de autoritatile portuare;
in caz de esuare a navei. Se executa sondaje de pe punte, de la prova la pupa, in ambele borduri, la distante care se stabilesc functie de felul fundului. Rezultatele sondajelor se trec pe o schita, reprezentand o vedere orizontala a navei; pozitia sondajelor se precizeaza prin mentionarea numarului de ordine a coastelor sau prin indicarea anumitor parti principale ale navei, in dreptul carora se executa masuratorile. in felul acesta se poate trage o concluzie asupra profilului si a masuratorilor de intreprins pentru dezesuarea navei.
3. SONDA ULTRASON (ECHO SOUNDER).
3.1. Principiul masurarii adancimii apei cu sonda ultrason
Principiul masurarii adancimii apei utilizand sonda ultrason (fig.36) consta in evaluarea intervalului de timp necesar unui fascicul de ultrasunete (emis de catre un vibrator de emisie A montat pe carena navei) sa se propage prin apa de mare, sa se reflecte de fundul marii (in punctul B) si sa fie receptionat de catre un vibrator de receptie C (montat de asemenea pe carena navei).
Considerand v viteza de propagare a ultrasunetelor prin apa de mare ca fiind constanta si neglijand spatiul AC, atunci adancimea H a apei va fi data de relatia:
H = vt/2
unde t este intervalul de timp necesar parcurgerii de catre fasciculul de ultrasunete a traseului A-B-C.

[Fig.36 ]
Principiul masurarii adancimii apei cu sonda ultrason
Daca intervalul de timp contat intre momentele emisiei si receptiei unui impuls de ultrasunete este de exemplu 0.1 secunde, iar viteza de propagare a ultrasunetelor in apa de mare se considera 1500 m/s, rezulta ca adancimea sub chila navei este de 75 m.
Scala sondei ultrason se gradeaza in metri, brate sau picioare, asigurandu-se transformarea timpului maurat intre momentele emisiei si receptiei impulsurilor de ultrasunete in indicatii de adancime, printr-un dispozitiv special.
Pentru a asigura precizia sondajelor la 1 m, considerand viteza de propagare a ultrasunetelor in apa de mare cu valoarea sa medie de 1500 m/s, rezulta ca timpul trebuie cotat la precizie de 1/750 secunde.
Pe langa indicarea adancimilor pe un ecran, sonda ultrason asigura si inregistrarea acestora, obtinandu-se astfel profilul fundului marii pe drumul urmat de nava
Ultrasunetele sunt oscilatii sonore a caror frecventa depaseste valoarea de 20 KHz (peste limita sensibilitatii urechii umane). Utilizarea ultrasunetelor in masuratori subacvatice este determinata de faptul ca energia lor nu este absorbita intr-o proportie foarte mare de catre mediul marin, asa cum se intampla, de exemplu, cu energia undelor electromagnetice.
Particularitatile propagarii ultrasunetelor in mediul marin neomogen sunt:
ultrasunetele se propaga sub forma de fascicul dirijat, ca urmare a lungimii de unda mic spre deosebire de undele sonore obisnuite care se propaga sferic;
propagandu-se sub forma de fascicul dirijat, intreaga energie radiata de un emitator este concentrata numai pe directia de propagare, fapt care are drept consecinta o mare putere de patrundere;
intensitatea undelor sonore este proportionala cu patratul frecventei, deci energia transportata de ultrasunete este apreciabil superioara energiei sunetelor de aceeasi amplitudine;
dau nastere fenomenului de cavitatie, care se manifesta prin aparitia unor bule de aer ce se ridica la suprafata apei. Bulele de aer intalnite cauzeaza absorbtia unei parti a energiei ultrasunetelor, cat si reflexia lor. Daca aceste bule de aer prezinta o concentratie mare, cum poate fi cazul sub coca navei pe mare agitata, cand se naviga cu viteza mare avand o apupare excesiva sau cand masina principala merge inapoi si curentul respins de elice ajunge sub nava, acestea pot absorbi toata energia incidenta a ultrasunetelor
fasciculul de ultrasunete se supune legilor refractiei si reflexiei; aceste fenomene au loc la trecerea prin medii lichide cu proprietati fizice diferite (temperatura, presiune, densitate); de asemenea, datorita concentratiei mari de particule organice si anorganice din apa de mare, se manifesta fenomenul de difractie a fasciculului, sau chiar reflexia acestuia;
Viteza de propagare a ultrasunetelor creste cu temperatura, salinitatea si presiunea apei de mare:
La cresterea temperaturii apei cu 1 C, viteza de propagare se mareste cu 3.3 m/s ;
La cresterea salini tatii apei cu l%e, viteza de propagare se mareste cu 1.8 m/s.
La cresterea adancimii cu 100 m, deci a presiunii cu 10 atmosfere, viteza de propagare se mareste cu 3.3 m/s.
Eroarea liniara a sondajelor efectuate cu sonda ultrason, sub efectul diferentei de temperatura, salinitate si presiune a apei la adancimi mici este redusa; eroarea liniara in indicatiile sondei ultrason sub efectul celor trei factori creste cu adancimea. De exemplu, la o eroare apreciabila de 3%, eroarea in indicatiile sondei este de 0,30 m la o adancime de 10 m si de 3 m la adancimea de 100 m s. a. m. d. De aceea, la bordul navelor maritime comerciale, unde rationamente legate de siguranta navigatiei impun cunoasterea precisa a sondajelor doar la adancimi reduse, nu se face corectia indicatiilor sondei ultrason in funtie de temperatura, salinitatea si presiunea apei de mare.
Conferinta internationala de hidrografie din 1962 a stabilit ca viteza medie de propagare a ultrasunetelor prin apa de mare cu temperatura de 13C este de 1500 m/s.
3.2 Emitatoare si receptoare de ultrasunete. Vibratoare
In mod curent, emitatoarele si receptoarele de ultrasunete se numesc vibratoare (de emisie, respectiv de receptie). Functie de principiul fizic ce sta la baza constructiei lor, vibratoarele pot fi piezoelectrice sau magnetostrictive.
Fenomenul fizic ce sta la baza realizarii vibratoarelor piezoelectrice se numeste efect piezoelectric; acesta se manifesta in mod direct sau invers.
In fig.37 este schitat modul de manifestare a efectului piezoelectric invers: cele doua fete ale unei lamele de cuart se aduc in contact cu armaturile unui condensator, care va furniza sarcini de semn opus pe cele doua fete ale acesteia. Efectul incarcarii lamelei de cuart cu sarcini de semn opus pe fetele sale este aparitia unor vibratii cu o frecventa egala cu frecventa tensiunii de alimentare a circuitului electric la care este conectat condensatorul.

[Fig.37] Efect piezoelectric invers
Efectul piezoelectric invers este utilizat la constructia vibratoarelor de emisie a fasciculelor de ultrasunete; frecventa ultrasunetelor este data implicit de frecventa inalta a tensiunii de alimentare a circuitului electric ce alimenteaza condensatorul.
Efectul piezoelectric direct consta in aparitia unor sarcini electrostatice de semn contrar pe cele doua fete ale unei lamele de cuart asupra careia actioneaza o forta exterioara. Acest efect sta la baza constructiei vibratoarelor de receptie a ultrasunetelor (la care forta exterioara este materializata de actiunea fasciculului de ultrasunete reflectat de fundul marii).
Sub actiunea campului electric alternativ, vibratorul de emisie produce oscilatii ultrasonore, iar sub actiunea oscilatiilor ultrasonore se creeaza un camp electric alternativ in vibratorul de receptie.
In prezent cristalele de cuart se folosesc pe scara restransa la fabricarea vibratoarelor sondelor datorita, pe de o parte a costului de fabricatie ridicat, iar pe de alta parte a fiabilitatii reduse. Sondele ultrason moderne folosesc proprietatile piezoelectrice ale titanatului de bariu sau ale zirconatului de plumb.
Fenomenul de magnetostrictiune se manifesta de asemenea in mod direct si invers.
Daca o bara de metal feromagnetic (Fe, Ni, Cr, Co) se introduce intr-o bobina alimentata cu curent alternativ, lungimea barei variaza, lungindu-se sau scurtandu-se si revenind la dimensiunile initiale, periodic, sub influenta campului magnetic alternativ generat de bobina. Daca aceasta bara este din nichel, ea se contracta cand curentul trece prin bobina intr-un sens sau altul si isi revine la lungimea initiala, cand curentul alternativ, respectiv campul magnetic indus, trece prin zero, de doua ori in fiecare perioada.
De asemenea, sensul deformarii (contractie sau alungire) nu este dat de semnul campului magnetic, ci depinde doar de proprietatile fizice ale materialului din care este confectionata bara.
Aceasta proprietate a materialelor feromagnetice se numeste magnetostrictiune directa; deformatiile cele mai mari le prezinta nichelul.
In cazul in care curentul alternativ are o frecventa ce face ca bara sa vibreze la frecventa proprie a sistemului, oscilatiilor longitudinale ale barei devin maxime.
Aceste oscilatii se transmit in mediul inconjurator sub forma de ultrasunete; un asemenea dispozitiv poate fi folosit ca vibrator de emisie a ultrasunetelor.
Se poate produce si un fenomen magnetostrictiv invers, astfel: schimbarea in lungimea barei produsa printr-un procedeu mecanic determina magnetizarea nichelului. Provocand vibrarea barei de nichel se naste un camp magnetic alternativ in jur, care genereaza un curent alternativ in spirele bobinei. Pe baza fenomenului magnetostrictiv invers se realizeaza vibratoarele de receptie; ecoul impulsului de ultrasunete reflectat de fundul marii provoaca vibrarea mecanica a barei de nichel, care formeaza un camp magnetic alternativ in jur, sub efectul caruia se genereaza un curent alternativ in spirele bobinei, de frecventa oscilatiilor undelor ultrasonore.
Vibratoarele magnetostrictive pentru sondele ultrason se realizeaza din pachete de lame subtiri de nichel laminat, izolate intre ele sau din inele de nichel laminat.
Vibratoarele magnetostrictive sunt mai robuste si pot fi practic montate oriunde pe fundul navei; sunt insa mai putin eficiente decat vibratoarele piezoelectrice.
Vibratoarele piezoelectrice sunt mai fragile, mai expuse la avarii in urma unor efecte mecanice ("lovituri de valuri ', vibratii, punerea navei pe uscat etc.).
La sondele ultrason de inalta eficienta, vibratoarele piezoelectrice au prioritate; dealtfel, aceasta este si tendinta generala in ultima perioada, ca urmare a imbunatatirii tehnologice de fabricare a lor.
La sondele ultrason moderne, vibratoarele de emisie si de receptie se pot monta separat sau se pot incorpora intr-unul singur, acesta avand dublu rol, de emisie si receptie.
Ca urmare a fenomenului de aerare a apei (formare a bulelor de aer in apa din jurul vibratoarelor de catre valul prova - importanta sursa de perturbatii ale fasciculului de ultrasunete, sau de micile neregularitati pe suprafata carenei, ca depuneri de scoici, rugina, basele etc., genereaza bule de aer ce se scurg de-a lungul navei, fenomenul fiind mai intens spre pupa), pentru navele cu forma clasica, vibratoarele se vor monta pe fundul navei in sectiunea cuprinsa de la prova pana la 1/3 din lungimea navei, intr-o zona lipsita de zgomote ale masinii, perturbatii, vibratii, etc.
3.3 Sonda ultrason: compunere, functionare
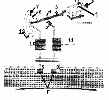
In fig.38 este data schema functionala de principiu a sondei ultrason:

[Fig.38 ] Schema functionala a sondei ultrason
Motorul (1) roteste axul (3) si discul mobil (6), regulatorul (2) asigurand uniformitatea rotatiei. La fiecare rotatie completa, roata cu cama (4) inchide contactul (5) care permite alimentarea cu tensiune de inalta frecventa circuitul condensatorului (11), si simultan alimentarea cu tensiune a tubului cu neon (7) plasat pe discul mobil (6), care in acest moment se gaseste pe pozitia 'zero' pe scala adancimilor. Condensatorul, la randul sau, alimenteaza vibratorul de emisie (8), care va emite un fascicul de ultrasunete.
Fasciculul de ultrasunete emis se va reflecta de fundul marii in punctul F, iar o parte a energiei fasciculului va fi receptionata de vibratorul de receptie (9). Tensiunea electromotoare indusa, de intensitate foarte redusa se constituie intr-un semnal electric ce va fi amplificat in amplificatorul (10); semnalul electric amplificat va aprinde tubul cu neon (7) plasat pe discul interior mobil (6) si care in acest moment se gaseste intr-o pozitie diferita de pozitia 'zero' avuta in momentul emisiei.
Cu alte cuvinte, tubul cu neon (7), solidar cu discul mobil (6), se va roti cu un unghi proportional cu intervalul de timp necesar propagarii fasciculului de ultrasunete pe traseul 8-F-9. Acest tub se va aprinde pe pozitia 'zero' corespunzatoare momentului emisiei si apoi intr-o pozitie oarecare, corespunzatoare momentului receptiei. Citirea valorii de adancime a apei se poate executa continuu pe scala circulara a indicatorului de adancimi al sondei (12), in dreptul semnalului luminos dat de tubul cu neon in momentul receptiei.
Pentru operatiuni de sondare de lunga durata, in urma carora este necesara intocmirea profilului fundului marii, se recomanda utilizarea inregistratorului de adancimi al sondei ultrason.
Principiul de functionare (fig.39) este asemanator celui al sondei ultrason:

[Fig.39] Inregistratorul de adancimi.
O banda de hartie electrochimica (1) este derulata cu viteza constanta pe o placa metalica (2) de catre doi tamburi (3).
Bratul (4), care are montat in varf o penita speciala, este antrenat intr-o miscare circulara uniforma de catre motorul sondei (1, fig.38), in jurul pivotului (5).
In momentul emisiei, simultan cu aprinderea tubului cu neon pe panoul indicatorului, se va alimenta si penita , care va trasa un semn pe marginea din stanga a benzii de hartie (pozitia A); in momentul receptiei, penita va trasa un alt semn pe hartie (pozitia B), corespunzatoare adancimii apei (simultan cu aprinderea tubului cu neon in pozitia corespunzatoare a adancimii apei pe panoul indicatorului).
Analog discului (6) al indicatorului sondei, bratul (4) al inregistratorului parcurge un unghi proportional cu intervalul de timp necesar propagarii fasciculului intre momentul emisiei (pozitia A) si momentul receptiei (pozitia B). Valoarea adancimii apei se citeste pe o scala orizontala (6).
3.4 Utilizarea sondei ultrason in navigatie. Interpretarea indicatiilor
Corectarea sondajelor functie de pescajul navei se efectueaza atunci cand se impune compararea adancimilor masurate cu cele indicate in harta de navigatie, pentru controlul pozitiei navei.
Sonda ultrason indica adancimea apei de la nivelul vibratoarelor pana la fundul marii; pentru obtinerea adancimii apei fata de nivelul marii trebuie insumata adancimea de sonda cu pescajul navei (la nivelul vibratoarelor). La navele care au o variatie de pescaj neinsemnata (navele de pasageri, navele militare etc.), aceasta operatiune poate fi eliminata la sondele inregistratoare printr-o decalare corespunzatoare spre stanga a liniei zero, functie de pescajul navei. La navele de transport insa o asemenea reglare a sondei este fara sens, datorita variatiei considerabile a pescajului functie de starea de incarcare; de aceea, la aceste tipuri de nave, linia zero a sondei corespunde intotdeauna nivelului vibratoarelor.
Controlul preciziei adancimilor indicate de sonda se efectueaza cu o sonda simpla. Aceasta operatiune se recomanda a fi efectuata periodic, pe un fund pe cat posibil plat, fara neregularitati; cea mai buna ocazie se ofera cand nava stationeaza in asteptarea pilotului sau cand se executa manevra de apropiere spre locul de ancorare.
Se masoara simultan adancimea apei cu sonda simpla, in dreptul vibratoarelor si cu sonda ultrason; operatiunea se repeta de doua sau trei ori, in pozitii diferite ale navei. Media diferentelor dintre indicatiile sondei ultrason si ale sondei simple, dupa sondajele luate cu sonda simpla au fost corectate functie de pescajul navei, reprezinta corectia sondei ultrason; in cele mentionate s-a considerat ca viteza de propagare a ultrasunetelor prin apa este constanta.
Sondajele efectuate cu sonda ultrason se corecteaza in functie de eroarea determinata.
Ecourile duble sau triple in indicatiile sondei apare de regula pe funduri dure (stanca, piatra etc.) cu o capacitate mare de reflexie a ultrasunetelor, la adancimi mici si medii, cand sonda este reglata cu amplificare excesiva. In acest caz, pe banda inregistratoare apar doua sau trei linii ale ecourilor, orientate aproape paralel, iar la indicatorul optic - doua sau trei semnale luminoase de adancime, apropiate.
Acest fenomen este consecinta unei reflexii repetate a ultrasunetelor in sus si in jos, de doua sau trei ori, intre fundul marii si fundul navei sau suprafata marii. Intr-o asemenea situatie se impune o reglare atenta a sondei, reducand intai in mod evident amplificarea si apoi marind-o treptat pana la obtinerea unor indicatii clare.
Asa-denumitele "ecouri false' in indicatiile sondei ultrason, de cele mai multe ori sub forma unor ecouri slabe, sunt determinate de reflexia impulsurilor de ultrasunete la intalnirea pe directia de propagare a unor reflectoare, astfel:
particule de nisip sau vietati marine mici;
pesti izolati sau bancuri de pesti;
straturi care separa mase de apa cu temperaturi sau salinitate mult diferite, asa cum s-a aratat la inceputul cursului;
planctonul, malul sau iarba de mare, cand acestea acopera un fund stancos.
Fenomenul de aerare a straturilor de apa de sub carena navei, prin generarea si propagarea de bule de aer in dreptul vibratoarelor si in calea impulsurilor de ultrasunete, poate cauza perturbatii insemnate in functionarea sondei ultrason, sub forma semnalelor de reverberatie. Chiar daca pozitia de montare a vibratoarelor de emisie si receptie a fost corect aleasa, totusi in anumite conditii de navigatie fenomenul isi arata efectele, astfel:
pe mare agitata, cu tangaj si ruliu puternic. Fenomenul se observa cu mai multa intensitate cand nava este in balast si in general cand pescajul este redus;
cand se naviga in balast cu viteza mare, avand o apupare excesiva;
la manevra de ancorare, situatie in care controlul adancimii apei este necesar, in momentul cand curentul respins al elicei (cu un continut insemnat de bule de aer), cauzat de punerea masinii 'inapoi', ajunge sub vibratoarele de emisie si receptie. De cele mai multe ori in asemenea situatii, sonda ultrason inceteaza de a mai da indicatii de adancime;
la schimbari de drum cu un unghi mare de carma;
dupa stationari ale navei in ape cu fund malos. Malul favorizeaza depunerea de bule de aer sub vibratoare, care dispar dupa un timp oarecare de navigatie; daca se impune folosirea sondei imediat dupa plecare, intr-o asemenea situatie se recomanda ca sa se puna "masina inapoi' pentru scurt timp, astfel incat curentul respins al elicei sa "spele' fundul navei de bulele de aer, dupa care se pune masina "inainte'.
Sonda ultrason poate avea si alte utilizari decat in scopul masurarii adancimii. Astfel la adancimi mici (de regula limitate la 100 m), sonda inregistratoare poate fi folosita la identificarea epavelor pe fundul marii.
Sondele ultrason cu fascicul orientabil constituie un mijloc foarte pretios la bordul pescadoarelor si al vanatoarelor de balene pentru identificarea si determinarea elementelor de miscare a bancurilor de pesti si a balenelor.
Regulile Registrului Naval Roman prevad urmatorii parametri obligatorii pentru sondele ultrason instalate la bordul navelor maritime, in vederea acordarii clasei:
asigurarea masurarii adancimii pana la 500 m;
precizia sondajelor trebuie sa fie de cel putin 0.5 m pana la adancimi de 20 m si de 3% la adancimi superioare celei de 20 m;
scara adancimilor masurate trebuie sa fie impartita cel putin in doua game: de la 0-100 m si de la 0-500 m;
asigurarea unei functionari continue cel putin 12 ore, fara pericolul supraincalzirii partilor componente.
|
Politica de confidentialitate | Termeni si conditii de utilizare |
Vizualizari: 9032
Importanta: ![]()
Termeni si conditii de utilizare | Contact
© SCRIGROUP 2025 . All rights reserved